PARKING ASSIST MONITOR SYSTEM (w/ Parallel Parking Assist Function) SYSTEM DIAGRAM

A01G8UHE11
A01G9LDE05
Communication Table
Sender Receiver Signal Line
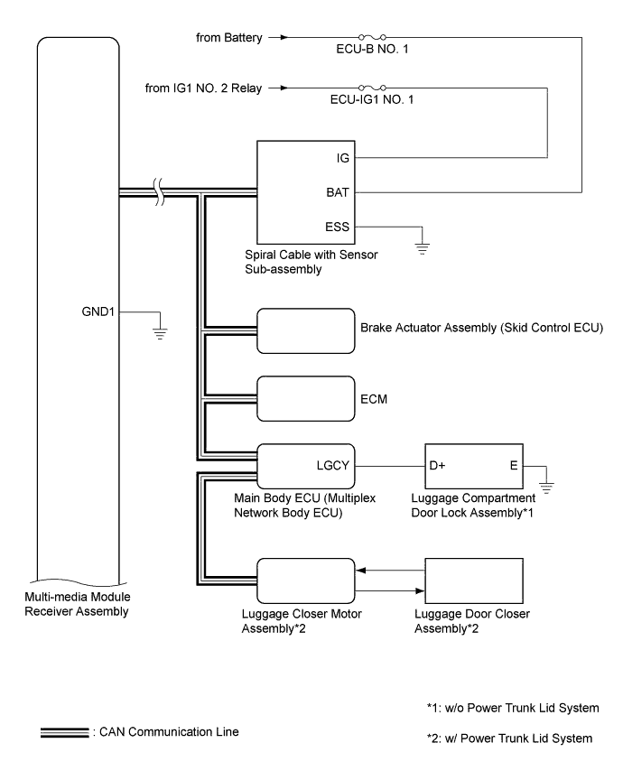
Multi-media Module Receiver Assembly Multi-display Assembly Video signal Digital
Spiral Cable with Sensor Sub-assembly Multi-media Module Receiver Assembly Steering angle signal CAN Communication Line
ECM Multi-media Module Receiver Assembly Shift position signal CAN Communication Line
Brake Actuator Assembly (Skid Control ECU) Multi-media Module Receiver Assembly Vehicle speed signal CAN Communication Line
Luggage Closer Motor Assembly*1 Main Body ECU (Multiplex Network Body ECU) Luggage courtesy switch signal CAN Communication Line
Main Body ECU (Multiplex Network Body ECU) Multi-media Module Receiver Assembly
  • Vehicle information signal

  • Luggage courtesy switch signal

CAN Communication Line