TELEMATICS SYSTEM (w/ Telematics Transceiver), Diagnostic DTC:B15CB

DTC Code DTC Name
B15CB Telematics Transceiver Antenna Disconnected

DESCRIPTION

If an open in the telephone antenna assembly is detected continuously for 1 minute as a result of a terminal check performed by the telematics transceiver every minute after the engine switch is turned on (ACC), this DTC will be stored.

DTC No. DTC Detection Condition Trouble Area
B15CB The telephone antenna assembly is not connected or has an open
  • Telephone antenna assembly

  • No. 3 antenna cord sub-assembly

  • Wire harness or connector (No. 2 floor wire)

  • Telematics transceiver

  • Multi-media module receiver assembly

WIRING DIAGRAM

A01G4UZE03
A01G9DOE06

INSPECTION PROCEDURE

Note

Depending on the parts that are replaced during vehicle inspection or maintenance, performing initialization, registration or calibration may be needed. Refer to Precaution for G-BOOK Click here.

PROCEDURE


  1. CHECK DTC OUTPUT


    1. Clear the DTCs Click here.

    2. Recheck for DTCs and check that no DTCs are output.

      OK
      No DTCs are output.

    NG
    OK
  2. INSPECT TELEPHONE ANTENNA ASSEMBLY


    1. Check the installation condition.


      1. Check the telephone antenna assembly for any installation problems.

        OK
        The telephone antenna assembly is installed correctly.
    2. Remove the telephone antenna assembly Click here.

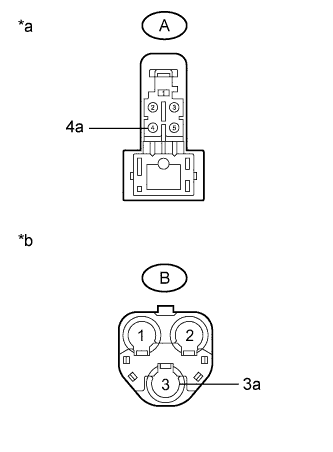
    3. for Standard


      1. A01G552E01
        Text in Illustration
        *a

        Component without harness connected

        (Telephone Antenna Assembly)

        Measure the resistance according to the value(s) in the table below.

        Standard Resistance
        Tester Connection Condition Specified Condition
        4 - 4a Always 4 to 11 kΩ
    4. for Glass Roof


      1. A01G61AE07
        Text in Illustration
        *a

        Component without harness connected

        (Telephone Antenna Assembly)

        Measure the resistance according to the value(s) in the table below.

        Standard Resistance
        Tester Connection Condition Specified Condition
        3 - 3a Always 4 to 11 kΩ

    NG
    OK
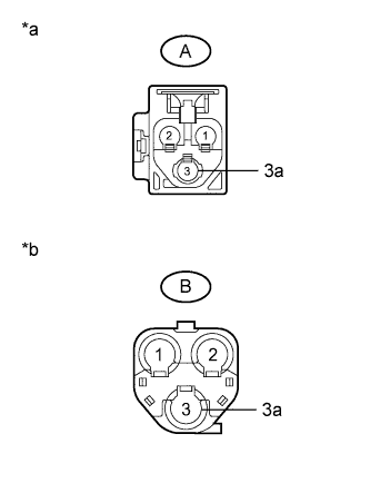
  3. INSPECT NO. 3 ANTENNA CORD SUB-ASSEMBLY


    1. Disconnect the No. 3 antenna cord sub-assembly connector from the telephone antenna assembly.

    2. Disconnect the No. 3 antenna cord sub-assembly connector from the No. 2 floor wire.

    3. for Standard


      1. A01G75JE03
        Text in Illustration
        *a

        Front view of No. 3 antenna cord sub-assembly connector

        (to Telephone Antenna Assembly)

        *b

        Front view of No. 3 antenna cord sub-assembly connector

        (to No. 2 Floor Wire)

        Measure the resistance according to the value(s) in the table below.

        Standard Resistance
        Tester Connection Condition Specified Condition
        A-4 - B-3 Always Below 1 Ω
        A-4a - B-3a Always Below 1 Ω
        A-4 - Body ground Always 10 kΩ or higher
        A-4a - Body ground Always 10 kΩ or higher
    4. for Glass Roof


      1. A01G4TME10
        Text in Illustration
        *a

        Front view of No. 3 antenna cord sub-assembly connector

        (to Telephone Antenna Assembly)

        *b

        Front view of No. 3 antenna cord sub-assembly connector

        (to No. 2 Floor Wire)

        Measure the resistance according to the value(s) in the table below.

        Standard Resistance
        Tester Connection Condition Specified Condition
        A-3 - B-3 Always Below 1 Ω
        A-3a - B-3a Always Below 1 Ω
        A-3 - Body ground Always 10 kΩ or higher
        A-3a - Body ground Always 10 kΩ or higher

    NG
    OK
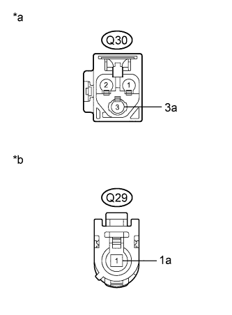
  4. CHECK HARNESS AND CONNECTOR (NO. 2 FLOOR WIRE)


    1. Disconnect the No. 2 floor wire connector from No. 3 antenna cord sub-assembly.

    2. Disconnect the No. 2 floor wire connector from the telematics transceiver.

    3. A01G55XE19
      Text in Illustration
      *a

      Front view of No. 2 floor wire connector

      (to No. 3 Antenna Cord Sub-assembly)

      *b

      Front view of No. 2 floor wire connector

      (to Telematics Transceiver)

      Measure the resistance according to the value(s) in the table below.

      Standard Resistance
      Tester Connection Condition Specified Condition
      Q30-3 - Q29-1 Always Below 1 Ω
      Q30-3a - Q29-1a Always Below 1 Ω
      Q29-1 - Body ground Always 10 kΩ or higher
      Q29-1a - Body ground Always 10 kΩ or higher

    NG
    OK
  5. REPLACE TELEMATICS TRANSCEIVER


    1. Replace the telematics transceiver with a new or known good one Click here.


    NEXT
  6. CHECK DTC OUTPUT


    1. Clear the DTCs Click here.

    2. Recheck for DTCs and check that no DTCs are output.

      OK
      No DTCs are output.

    NG
    OK