DIFFERENTIAL CASE DISASSEMBLY


  1. REMOVE FRONT DIFFERENTIAL RING GEAR


    1. A01G54EE07
      Text in Illustration
      *a Matchmark

      Put matchmarks on the front differential ring gear and differential case.

    2. A01G6JX

      Remove the 12 bolts from the front differential ring gear.

    3. A01G5J1

      Using a plastic hammer, tap on the front differential ring gear to remove it from the differential case.

  2. REMOVE FRONT DIFFERENTIAL CASE FRONT TAPERED ROLLER BEARING


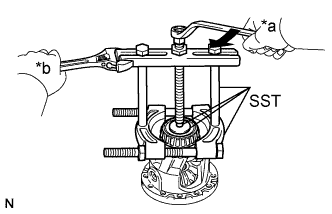
    1. A01G7K9E09
      Text in Illustration
      *a Turn
      *b Hold

      Using SST, remove the front differential case front tapered roller bearing from the differential case.

      SST
      09950-00020
      09950-00030
      09950-40011   ( 09957-04010 )
      09950-60010   ( 09951-00480 )
    2. A01G9JOE01

      Using SST, remove the front differential case front tapered roller bearing (outer race) and shim from the transaxle housing.

      SST
      09308-00010
  3. REMOVE FRONT DIFFERENTIAL CASE REAR TAPERED ROLLER BEARING


    1. A01G7V2E08
      Text in Illustration
      *a Turn
      *b Hold

      Using SST, remove the front differential case rear tapered roller bearing from the differential case.

      SST
      09950-00020
      09950-00030
      09950-40011   ( 09957-04010 )
      09950-60010   ( 09951-00480 )
    2. A01G7ZPE01

      Using SST, remove the front differential case rear tapered roller bearing (outer race) from the transaxle case sub-assembly.

      SST
      09308-00010
  4. REMOVE FRONT DIFFERENTIAL PINION SHAFT STRAIGHT PIN


    1. A01G7HRE01

      Using SST and a hammer, loosen the staked part of the differential case.

      SST
      09930-00010
    2. A01G8Y5

      Using a 5 mm pin punch and hammer, remove the front differential pinion shaft straight pin from the differential case.

      Note

      Before removing the front differential pinion shaft straight pin, unstake it with a pin punch.

  5. REMOVE FRONT NO. 1 DIFFERENTIAL PINION SHAFT


    1. A01G9Q0

      Remove the front No. 1 differential pinion shaft from the differential case.

  6. REMOVE DIFFERENTIAL SIDE GEAR


    1. A01G752

      Remove the 2 front differential pinions, 2 front differential pinion thrust washers, 2 differential side gears and 2 No. 1 front differential side gear thrust washers from the differential case.

  7. REMOVE FRONT TRANSAXLE CASE OIL SEAL


    1. A01G8IDE01

      Using SST and a hammer, remove the front transaxle case oil seal from the transaxle housing.

      SST
      09950-60010   ( 09951-00550 )
      09950-70010   ( 09951-07200 )
  8. REMOVE TRANSAXLE CASE OIL SEAL


    1. A01G7W8E01

      Using SST and a hammer, remove the transaxle case oil seal from the transaxle case sub-assembly.

      SST
      09950-60010   ( 09951-00650 )
      09950-70010   ( 09951-07100 )