TONGUE PLATE STOPPER REPLACEMENT


  1. REMOVE TONGUE PLATE STOPPER


    1. A01G5R6E01
      Text in Illustration
      *1 Adhesive Tape
      *2 Tongue Plate
      *a Broken Tongue Plate Stopper

      Slide the tongue plate above the installation position of the tongue plate stopper, and temporarily hold it with adhesive tape.

    2. Remove any pieces of the original tongue plate stopper in the belt webbing with a pair of pliers.

      Note

      Be careful not to damage the belt webbing during repair.

  2. INSTALL TONGUE PLATE STOPPER


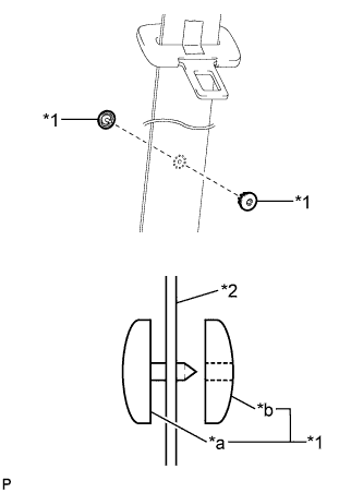
    1. A01G5BFE01
      Text in Illustration
      *1 Tongue Plate Stopper
      *2 Belt Webbing
      *a Male
      *b Female

      Position a new tongue plate stopper in the hole of the belt webbing.

      Tech Tips

      Make sure that the installation direction of the tongue plate stopper is as shown in the illustration.

    2. A01G7REE01
      Text in Illustration
      *1 Protective Tape

      Hold the tongue plate stopper in the hole of the belt webbing using an adjustable wrench, and turn the adjustment screw of the adjustable wrench by hand to compress the tongue plate stopper.

      Note


      • When using the adjustable wrench, make sure to position the male and female parts of the tongue plate stopper parallel to each other.

      • Do not use pliers to compress the pin of the tongue plate stopper. They may damage the tongue plate stopper and belt webbing.

      Tech Tips

      Tape the jaws of the adjustable wrench before use.

    3. A01G80XE01

      When the adjustment screw of the adjustable wrench cannot be turned by hand, tighten the adjustment screw using a pair of adjustable joint pliers until the tongue plate stopper thickness is 4.5 to 5.0 mm (0.177 to 0.197 in.). (Refer to the illustrations.)

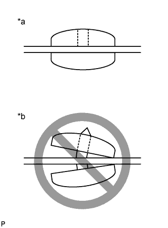
    4. A01G9U9E01
      Text in Illustration
      *a CORRECT
      *b INCORRECT

      Make sure that the male pin of the tongue plate stopper has expanded evenly in the hole of the female part and is firmly held to the belt webbing. (Refer to the illustrations.)