REAR SEAT OUTER BELT ASSEMBLY INSPECTION


  1. INSPECT REAR SEAT 3 POINT TYPE OUTER BELT ASSEMBLY LH


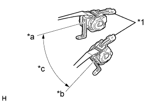
    1. A01G72ME01
      Text in Illustration
      *1 Retractor
      *a Unlocked
      *b Locked
      *c 45°

      Before installing the rear seat 3 point type outer belt assembly LH, check the ELR function.

      Note

      Do not disassemble the retractor.


      1. When the inclination of the retractor is 15° or less, check that the belt can be pulled from the retractor. When the inclination of the retractor is over 45°, check that the belt locks.

        If the result is not as specified, replace the rear seat 3 point type outer belt assembly LH.

  2. REMOVE REAR SEAT 3 POINT TYPE OUTER BELT ASSEMBLY RH


    1. A01G8VZE01
      Text in Illustration
      *1 Retractor
      *a Unlocked
      *b Locked
      *c 45°

      Before installing the rear seat 3 point type outer belt assembly RH, check the ELR function.

      Note

      Do not disassemble the retractor.


      1. When the inclination of the retractor is 15° or less, check that the belt can be pulled from the retractor. When the inclination of the retractor is over 45°, check that the belt locks.

        If the result is not as specified, replace the rear seat 3 point type outer belt assembly RH.