ПЕРЕКЛЮЧАТЕЛЬ СТЕКЛООЧИСТИТЕЛЯ ПРОВЕРКА

ПОРЯДОК ВЫПОЛНЕНИЯ


  1. ПРОВЕРЬТЕ ПЕРЕКЛЮЧАТЕЛЬ СТЕКЛООЧИСТИТЕЛЯ ВЕТРОВОГО СТЕКЛА (ДЛЯ МОДЕЛЕЙ БЕЗ СИСТЕМЫ АВТОМАТИЧЕСКОГО СТЕКЛООЧИСТИТЕЛЯ)


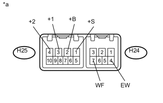
    1. A0006UFE01
      Обозначения на рисунке
      *a

      Устройство с неподсоединенным жгутом проводов

      (переключатель стеклоочистителя ветрового стекла в сборе)

      Измерьте сопротивление в соответствии со значениями, приведенными в таблице ниже.

      Номинальное сопротивление
      Переключатель переднего стеклоочистителя
      Контакты для подключения диагностического прибора Условие Заданные условия
      H25-1 (+S) - H25-3 (+1) OFF (ВЫКЛ) Менее 1 Ом
      INT
      H25-2 (+B) - H25-3 (+1) MIST
      Низкое давление
      H25-2 (+B) - H25-4 (+2) HI
      Переключатель переднего стеклоомывателя
      Контакты для подключения диагностического прибора Условие Заданные условия
      H24-4 (EW) - H24-7 (WF) ON (ВКЛ) Менее 1 Ом
      OFF (ВЫКЛ) 10 кОм или более

      Если результат проверки не отвечает требованиям, замените переключатель стеклоочистителя ветрового стекла в сборе.

  2. ПРОВЕРЬТЕ ПЕРЕКЛЮЧАТЕЛЬ СТЕКЛООЧИСТИТЕЛЯ ВЕТРОВОГО СТЕКЛА (ДЛЯ МОДЕЛЕЙ С СИСТЕМОЙ АВТОМАТИЧЕСКОГО СТЕКЛООЧИСТИТЕЛЯ)


    1. A00066AE05
      Обозначения на рисунке
      *1 Переключатель стеклоочистителя ветрового стекла в сборе (положение регулировочного рычага)
      *a

      Устройство с неподсоединенным жгутом проводов

      (переключатель стеклоочистителя ветрового стекла в сборе)

      Измерьте сопротивление в соответствии со значениями, приведенными в таблице ниже.

      Номинальное сопротивление
      Переключатель переднего стеклоочистителя
      Подключение диагностического прибора Условие Заданные условия
      H25-3 (+1) - H25-1 (+S) OFF (ВЫКЛ) Менее 1 Ом
      AUTO
      H25-3 (+1) - H25-2 (+B) MIST
      LO
      H25-2 (+B) - H25-4 (+2) HI
      H25-8 (AUTO) - H25-9 (E) AUTO
      Выключатель переднего стеклоомывателя
      Подключение диагностического прибора Условие Заданные условия
      H24-4 (EW) - H24-7 (WF) ON (ВКЛ) Менее 1 Ом
      OFF (ВЫКЛ) 10 кОм или более
      Рычаг регулировки*
      Подключение диагностического прибора Условие Заданные условия
      H25-7 (VR1) - H25-6 (VR2) P1 209 - 231 Ом
      P2 114 - 126 Ом
      P3 58,9 - 65,1 Ом
      P4 Менее 1 Ом

      Tech Tips

      *: Чувствительность датчика дождя регулируется с помощью регулировочного рычага переключателя стеклоочистителя ветрового стекла.

      Если результат проверки не отвечает требованиям, замените переключатель стеклоочистителя ветрового стекла в сборе.