ПЕРЕКЛЮЧАТЕЛЬ ЭЛЕКТРОПРИВОДА СИДЕНЬЯ (для моделей без запоминающих устройств сидений) ПРОВЕРКА

ПОРЯДОК ВЫПОЛНЕНИЯ


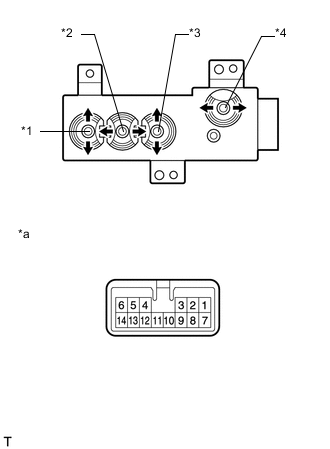
  1. ПРОВЕРЬТЕ ПЕРЕКЛЮЧАТЕЛЬ ЭЛЕКТРОПРИВОДА ПЕРЕДНЕГО СИДЕНЬЯ (ВОДИТЕЛЯ)


    1. A01W2VLE06
      Обозначения на рисунке
      *1 Переключатель вертикального перемещения передней части
      *2 Переключатель продольного перемещения
      *3 Переключатель подъема
      *4 Переключатель наклона
      *a

      Устройство с неподсоединенным жгутом проводов

      (Переключатель электропривода переднего сиденья (для водителя))

      Измерьте сопротивление в соответствии со значениями, приведенными в таблице ниже.

      Номинальное сопротивление
      Переключатель продольного перемещения
      Контакты для подключения диагностического прибора Условие Заданные условия
      2 - 11 Передняя сторона Менее 1 Ом
      5 - 8
      2 - 11 Выкл
      5 - 11
      2 - 8 Задние
      5 - 11
      Переключатель вертикального перемещения передней части
      Контакты для подключения диагностического прибора Условие Заданные условия
      1 - 8 Вверх Менее 1 Ом
      6 - 11
      1 - 11 Выкл
      6 - 11
      1 - 11 Вниз
      6 - 8
      Переключатель подъема
      Контакты для подключения диагностического прибора Условие Заданные условия
      3 - 8 Вверх Менее 1 Ом
      4 - 11
      3 - 11 Выкл
      4 - 11
      3 - 11 Вниз
      4 - 8
      Переключатель наклона
      Контакты для подключения диагностического прибора Условие Заданные условия
      1 - 10 Передняя сторона Менее 1 Ом
      6 - 10
      8 - 10
      9 - 11
      9 - 11 Выкл
      10 - 11
      3 - 9 Задние
      4 - 9
      8 - 9
      10 - 11

      Если результат не соответствует требованиям, замените переключатель электропривода переднего сиденья (для стороны водителя).

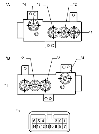
  2. ПРОВЕРЬТЕ ПЕРЕКЛЮЧАТЕЛЬ ЭЛЕКТРОПРИВОДА ПЕРЕДНЕГО СИДЕНЬЯ (ПЕРЕДНЕГО ПАССАЖИРА)


    1. A01W2J2E01
      Обозначения на рисунке
      *A Для моделей с левосторонним рулевым управлением
      *B Для моделей с правосторонним рулевым управлением
      *1 Переключатель вертикального перемещения передней части
      *2 Переключатель продольного перемещения
      *3 Переключатель подъема
      *4 Переключатель наклона
      *a

      Устройство с неподсоединенным жгутом проводов

      (переключатель электропривода переднего сиденья (для переднего пассажира))

      Измерьте сопротивление в соответствии со значениями, приведенными в таблице ниже.

      Номинальное сопротивление (для моделей с левосторонним рулевым управлением)
      Переключатель продольного перемещения
      Подключение диагностического прибора Условие Заданные условия
      2 - 13 Вперед Менее 1 Ом
      5 - 10
      2 - 10 Выкл
      5 - 10
      2 - 10 Назад
      5 - 13
      Переключатель вертикального перемещения передней части
      Подключение диагностического прибора Условие Заданные условия
      1 - 10 Вверх Менее 1 Ом
      6 - 13
      1 - 10 Выкл
      6 - 10
      1 - 13 Вниз
      6 - 10
      Переключатель подъема
      Подключение диагностического прибора Условие Заданные условия
      3 - 10 Вверх Менее 1 Ом
      4 - 13
      3 - 10 Выкл
      4 - 10
      3 - 13 Вниз
      4 - 10
      Переключатель наклона
      Подключение диагностического прибора Условие Заданные условия
      1 - 11 Вперед Менее 1 Ом
      6 - 11
      10 - 12
      11 - 13
      10 - 11 Выкл
      10 - 12
      10 - 11 Назад
      3 - 12
      4 - 12
      12 - 13
      Номинальное сопротивление (для моделей с правосторонним рулевым управлением)
      Переключатель продольного перемещения
      Подключение диагностического прибора Условие Заданные условия
      2 - 11 Вперед Менее 1 Ом
      5 - 8
      2 - 11 Выкл
      5 - 11
      2 - 8 Назад
      5 - 11
      Переключатель вертикального перемещения передней части
      Подключение диагностического прибора Условие Заданные условия
      1 - 8 Вверх Менее 1 Ом
      6 - 11
      1 - 11 Выкл
      6 - 11
      1 - 11 Вниз
      6 - 8
      Переключатель подъема
      Подключение диагностического прибора Условие Заданные условия
      3 - 8 Вверх Менее 1 Ом
      4 - 11
      3 - 11 Выкл
      4 - 11
      3 - 11 Вниз
      4 - 8
      Переключатель наклона
      Подключение диагностического прибора Условие Заданные условия
      1 - 10 Вперед Менее 1 Ом
      6 - 10
      8 - 10
      9 - 11
      9 - 11 Выкл
      10 - 11
      3 - 9 Назад
      4 - 9
      8 - 9
      10 - 11

      Если результат не соответствует требованиям, замените переключатель электропривода переднего сиденья (для стороны переднего пассажира).