СИСТЕМА НАВИГАЦИИ Лампы подсветки переключателей сенсорного пульта дистанционного управления постоянно включены или не изменяют яркость при регулировке реостатом

ОПИСАНИЕ

Когда переключатель освещения находится в положении TAIL или HEAD, подается питание для подсветки сенсорного пульта дистанционного управления.

Tech Tips


  • Когда сенсорный пульт дистанционного управления работает в режиме самодиагностики, подсветка переключателей сенсорного пульта может оставаться включенной.

  • Если одно из устройств подсветки, управляемых переключателем реостата, имеет неисправность, например, обрыв в цепи, подсветка переключателя сенсорного пульта дистанционного управления будет неработоспособна, и переключатель реостата не сможет управлять ею.

СХЕМА СОЕДИНЕНИЙ

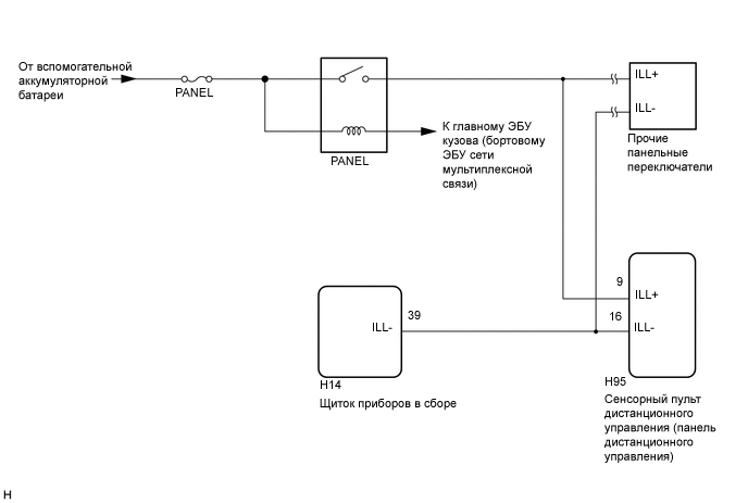
A00093BE06

ПРЕДОСТЕРЕЖЕНИЕ / ПРИМЕЧАНИЕ / УКАЗАНИЕ

Note

Перед выполнением следующей процедуры проверки проверьте предохранители цепей, относящихся к данной системе.

ПОРЯДОК ВЫПОЛНЕНИЯ


  1. ПРОВЕРЬТЕ ОСВЕЩЕНИЕ, КОТОРЫМ УПРАВЛЯЕТ ПЕРЕКЛЮЧАТЕЛЬ РЕОСТАТА


    1. Выполните следующие действия и убедитесь, что освещение, которым управляет переключатель реостата, работает должным образом.


      1. Если автомобиль находится в ярко освещенном месте, переместите его в темное место.

        Tech Tips

        Когда автомобиль находится в ярко освещенном месте, подсветка переключателей может не включаться в связи с действием функции автоматического затемнения.

      2. Если переключатель освещения находится в положении AUTO, переведите его в положение TAIL или HEAD.

        Tech Tips

        Когда переключатель освещения находится в положении AUTO, подсветка переключателей не включается до тех пор, пока не стемнеет в окружающем пространстве.

        Результат
        Результат Следующий шаг
        Какая-либо лампа, которой управляет переключатель реостата, не включается должным образом. А
        Все освещение, которым управляет переключатель реостата, включается должным образом. B

        Tech Tips

        Подсветка рычага переключения передач и панельного переключателя контролируется переключателем реостата. Если одно из этих устройств имеет неисправность, например, обрыв в цепи, подсветка переключателя сенсорного пульта дистанционного управления будет неработоспособна, и переключатель реостата не сможет управлять ею.


    B
    А
  2. ОТРЕМОНТИРУЙТЕ ИЛИ ЗАМЕНИТЕ ЛАМПУ ОСВЕЩЕНИЯ, КОТОРОЙ УПРАВЛЯЕТ ПЕРЕКЛЮЧАТЕЛЬ РЕОСТАТА


    1. Отремонтируйте или замените деталь с неисправной подсветкой, которой управляет переключатель реостата.


    ДАЛЕЕ
  3. УДОСТОВЕРЬТЕСЬ В НАЛИЧИИ ПРИЗНАКОВ


    1. A0003F4E09
      Обозначения на рисунке
      *a Подсветка переключателя

      Выполните описанные ниже операции настройки, а затем снова попробуйте отрегулировать яркость подсветки переключателем реостата и проверьте, регулируется ли она (включая регулировку яркости подсветки других устройств, например, приемника мультимедийного модуля в сборе).


      1. Проверьте, не переведен ли сенсорный пульт дистанционного управления в режим самодиагностики. Если переведен, отмените режим самодиагностики (см. стр. Click here).

        Tech Tips

        Когда сенсорный пульт дистанционного управления работает в режиме самодиагностики, подсветка переключателей сенсорного пульта может оставаться включенной.

      2. Если автомобиль находится в ярко освещенном месте, переместите его в темное место.

        Tech Tips

        Когда автомобиль находится в ярко освещенном месте, подсветка переключателей может не включаться в связи с действием функции автоматического затемнения.

      3. Если переключатель освещения находится в положении AUTO, переведите его в положение TAIL или HEAD.

        Tech Tips

        Когда переключатель освещения находится в положении AUTO, подсветка переключателей не включается до тех пор, пока не стемнеет в окружающем пространстве.

        Результат
        Результат Следующий шаг
        Яркость подсветки переключателей не регулируется (яркость подсветки других устройств регулируется). А
        Яркость подсветки переключателей не регулируется (яркость подсветки других устройств также не регулируется). B
        Яркость подсветки переключателей регулируется. C

    B
    C
    А
  4. ЗАПУСТИТЕ САМОДИАГНОСТИКУ СЕНСОРНОГО ПУЛЬТА ДИСТАНЦИОННОГО УПРАВЛЕНИЯ (ПРОВЕРЬТЕ ПОДСВЕТКУ ПЕРЕКЛЮЧАТЕЛЕЙ)


    1. Войдите в режим самодиагностики (см. стр. Click here).

    2. A0003F4E01
      Обозначения на рисунке
      *a Подсветка переключателя
      *b Кнопочный переключатель

      Проверьте подсветку переключателей.


      1. Переместите кнопочный переключатель сенсорного пульта дистанционного управления из левого нижнего положения в правое верхнее положение и убедитесь, что яркость подсветки переключателей изменяется.

        OK
        Яркость подсветки переключателей изменяется в зависимости от положения кнопочного переключателя сенсорного пульта дистанционного управления.

    NG
    OK
  5. ПРОВЕРЬТЕ ЖГУТ ПРОВОДОВ И РАЗЪЕМ (СИГНАЛ ОСВЕЩЕНИЯ)


    1. Отсоедините разъем H95 сенсорного пульта дистанционного управления.

    2. Измерьте напряжение в соответствии со значениями, приведенными в таблице.

      Номинальное напряжение
      Подключение диагностического прибора Условие Заданные условия
      H95-9 (ILL+) - масса

      Питание выключено

      Переключатель освещения в положении TAIL или HEAD

      11–14 В

    NG
    OK
  6. ПРОВЕРЬТЕ ЖГУТ ПРОВОДОВ И РАЗЪЕМ (СЕНСОРНЫЙ ПУЛЬТ ДИСТАНЦИОННОГО УПРАВЛЕНИЯ (ПАНЕЛИ ДИСТАНЦИОННОГО УПРАВЛЕНИЯ) — ЩИТОК ПРИБОРОВ В СБОРЕ)


    1. Отсоедините разъем H95 сенсорного пульта дистанционного управления.

    2. Отсоедините разъем H14 щитка приборов.

    3. Измерьте сопротивление в соответствии со значениями, приведенными в таблице ниже.

      Номинальное сопротивление
      Подключение диагностического прибора Условие Заданные условия
      H95-16 (ILL-) - H14-39 (ILL-) Всегда Менее 1 Ом
      H95-16 (ILL-) - масса Всегда 10 кОм или более

    OK
    NG