СИСТЕМА НАВИГАЦИИ, Diagnostic DTC:B15D6

Код DTC Наименование DTC
B15D6 Дисплей отсоединен

ОПИСАНИЕ

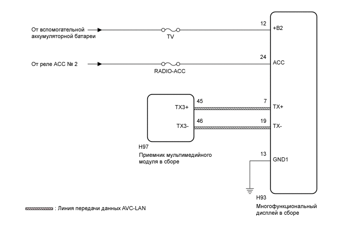
Многофункциональный дисплей и приемник мультимедийного модуля соединены линией передачи данных AVC-LAN.

Этот код DTC регистрируется при обнаружении ошибки передачи данных по линии AVC-LAN между приемником мультимедийного модуля и многофункциональным дисплеем.

№ DTC Условие обнаружения DTC Неисправный участок
B15D6 Устройство, указанное в списке устройств, подключенных к шине AVC-LAN, для ведущего устройства, отсутствует.
  • Цепь питания многофункционального дисплея в сборе

  • Цепь AVC-LAN между приемником мультимедийного модуля в сборе и многофункциональным дисплеем

  • Многофункциональный дисплей в сборе

  • Приемник мультимедийного модуля в сборе

  • Жгут или разъем

Tech Tips

Приемник мультимедийного модуля в сборе является ведущим устройством.

СХЕМА ЭЛЕКТРИЧЕСКИХ СОЕДИНЕНИЙ

A0005DUE27

ПРЕДОСТЕРЕЖЕНИЕ / ПРИМЕЧАНИЕ / УКАЗАНИЕ

Note


  • Перед выполнением следующей процедуры проверки проверьте предохранители цепей, относящихся к данной системе.

  • В зависимости от замененных деталей или операций, которые были выполнены при проверке или обслуживании автомобиля, может потребоваться инициализация, регистрация или калибровка. Перейдите к разделу "Система навигации" (меры предосторожности) (см. стр. Click here).

ПОРЯДОК ВЫПОЛНЕНИЯ


  1. ПРОВЕРЬТЕ НАЛИЧИЕ ДОПОЛНИТЕЛЬНЫХ УСТРОЙСТВ (ВКЛЮЧАЯ СООТВЕТСТВУЮЩУЮ ПРОВОДКУ)


    1. Убедитесь, что не установлены дополнительные устройства (включая соответствующую проводку), генерирующие радиосигналы.

      Результат
      Результат Перейти к
      Дополнительные устройства (включая соответствующую проводку) установлены. А
      Дополнительные устройства (включая соответствующую проводку) не установлены. B

      Tech Tips


      • Электрические помехи от радиосигналов, генерируемых дополнительными устройствами или проводкой, могут влиять на передачу данных AVC-LAN.

      • Данный DTC может регистрироваться в случае ошибки передачи данных AVC-LAN вследствие электрических помех.


    B
    А
  2. УДАЛИТЕ ДОПОЛНИТЕЛЬНЫЕ УСТРОЙСТВА (ВКЛЮЧАЯ СООТВЕТСТВУЮЩУЮ ПРОВОДКУ)


    1. Удалите дополнительные устройства (включая соответствующую проводку).

      Note

      Не удаляйте дополнительные устройства или соответствующую проводку без разрешения клиента.


    ДАЛЕЕ
  3. ПРОВЕРЬТЕ DTC


    1. Удалите коды DTC (см. стр. Click here).

    2. Повторно проверьте коды DTC и убедитесь, что они не выводятся.

      OK
      Коды DTC не выводятся.

    OK
    NG
  4. ПРОВЕРЬТЕ ЖГУТ ПРОВОДОВ И РАЗЪЕМ (ПИТАНИЕ МНОГОФУНКЦИОНАЛЬНОГО ДИСПЛЕЯ)


    1. Отсоедините разъем H93 многофункционального дисплея в сборе.

    2. Измерьте сопротивление в соответствии со значениями, приведенными в таблице ниже.

      Номинальное сопротивление
      Подключение диагностического прибора Условие Заданные условия
      H93-13 (GND1) - масса Всегда Менее 1 Ом
    3. Измерьте напряжение в соответствии со значениями, приведенными в таблице.

      Номинальное напряжение
      Подключение диагностического прибора Условие Заданные условия
      H93-12 (+B2) - H93-13 (GND1) Питание выключено 11 - 14 В
      H93-24 (ACC) - H93-13 (GND1) Питание включено (ACC) 11 - 14 В

    NG
    OK
  5. ПРОВЕРЬТЕ ЖГУТ ПРОВОДОВ И РАЗЪЕМ (МНОГОФУНКЦИОНАЛЬНЫЙ ДИСПЛЕЙ В СБОРЕ — ПРИЕМНИК МУЛЬТИМЕДИЙНОГО МОДУЛЯ В СБОРЕ)


    1. Отсоедините разъем H93 многофункционального дисплея в сборе.

    2. Отсоедините разъем H97 приемника мультимедийного модуля в сборе.

    3. Измерьте сопротивление в соответствии со значениями, приведенными в таблице ниже.

      Номинальное сопротивление
      Подключение диагностического прибора Условие Заданные условия
      H93-7 (TX+) - H97-45 (TX3+) Всегда Менее 1 Ом
      H93-19 (TX-) - H97-46 (TX3-) Всегда Менее 1 Ом
      H93-7 (TX+) - масса Всегда 10 кОм или более
      H93-19 (TX-) - масса Всегда 10 кОм или более

    NG
    OK
  6. ЗАМЕНИТЕ МНОГОФУНКЦИОНАЛЬНЫЙ ДИСПЛЕЙ В СБОРЕ


    1. Замените многофункциональный дисплей в сборе новым или заведомо исправным (см. стр. Click here).

    2. Сбросьте коды DTC (см. стр. Click here).

    3. Повторно проверьте коды DTC и убедитесь, что они не выводятся.

      OK
      Коды DTC не выводятся.

    OK
    NG