СИСТЕМА НАВИГАЦИИ, Diagnostic DTC:B1321, B1323, B1563

Код DTC Наименование DTC
B1321 Нарушение связи с EMV
B1323 Нарушение связи с сенсорным устройством
B1563 Сенсорное устройство отсоединено

ОПИСАНИЕ

Эти коды DTC сохраняются, когда обмен данными между приемником мультимедийного модуля в сборе и сенсорным переключателем управления экрана невозможен.

№ DTC Условие обнаружения DTC Неисправный участок
B1321 Приемник мультимедийного модуля не получает данные от сенсорного пульта дистанционного управления.
  • Цепь локальной шины между приемником мультимедийного модуля в сборе и сенсорным переключателем управления экраном (панелью дистанционного управления)

  • Цепь питания сенсорного переключателя управления экраном (панели дистанционного управления)

  • Сенсорный пульт дистанционного управления (панель дистанционного управления)

  • Приемник мультимедийного модуля в сборе

B1323 Сенсорный пульт дистанционного управления не получает данные от приемника мультимедийного модуля.
B1563 Сенсорный пульт дистанционного управления не подключен (не был подключен) при включенном питании (ACC или IG).

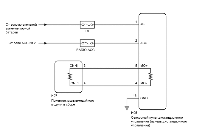
СХЕМА ЭЛЕКТРИЧЕСКИХ СОЕДИНЕНИЙ

A0003J9E10

ПРЕДОСТЕРЕЖЕНИЕ / ПРИМЕЧАНИЕ / УКАЗАНИЕ

Note


  • Перед выполнением следующей процедуры проверки проверьте предохранители цепей, относящихся к данной системе.

  • В зависимости от замененных деталей или операций, которые были выполнены при проверке или обслуживании автомобиля, может потребоваться инициализация, регистрация или калибровка. Перейдите к разделу "Система навигации" (меры предосторожности) (см. стр. Click here).

ПОРЯДОК ВЫПОЛНЕНИЯ


  1. ПРОВЕРЬТЕ ЖГУТ ПРОВОДОВ И РАЗЪЕМ (ПРИЕМНИК МУЛЬТИМЕДИЙНОГО МОДУЛЯ - СЕНСОРНЫЙ ПУЛЬТ ДИСТАНЦИОННОГО УПРАВЛЕНИЯ (ПАНЕЛЬ ДИСТАНЦИОННОГО УПРАВЛЕНИЯ))


    1. Отсоедините разъем H97 приемника мультимедийного модуля в сборе.

    2. Отсоедините разъем H95 сенсорного пульта дистанционного управления (панели дистанционного управления).

    3. Измерьте сопротивление в соответствии со значениями, приведенными в таблице ниже.

      Номинальное сопротивление
      Подключение диагностического прибора Условие Заданные условия
      H97-3 (CNH1) - H95-5 (MO+) Всегда Менее 1 Ом
      H97-4 (CNL1) - H95-4 (MO-) Всегда Менее 1 Ом
      H97-3 (CNH1) - масса Всегда Менее 1 Ом
      H97-4 (CNL1) - масса Всегда Менее 1 Ом

    NG
    OK
  2. ПРОВЕРЬТЕ ЖГУТ ПРОВОДОВ И РАЗЪЕМ (ПИТАНИЕ СЕНСОРНОГО ПУЛЬТА ДИСТАНЦИОННОГО УПРАВЛЕНИЯ (ПАНЕЛИ ДИСТАНЦИОННОГО УПРАВЛЕНИЯ))


    1. Отсоедините разъем H95 сенсорного пульта дистанционного управления (панели дистанционного управления).

    2. Измерьте напряжение в соответствии со значениями, приведенными в таблице.

      Номинальное напряжение
      Контакты для подключения диагностического прибора Условие Заданные условия
      H95-1 (+B) - масса Питание выключено 11—14 В
      H95-2 (ACC) - масса Питание включено (ACC) 11—14 В
    3. Измерьте сопротивление в соответствии со значениями, приведенными в таблице ниже.

      Номинальное сопротивление
      Контакты для подключения диагностического прибора Условие Заданные условия
      H95-15 (GND) - масса Всегда Менее 1 Ом

    NG
    OK
  3. ЗАПУСТИТЕ САМОДИАГНОСТИКУ СЕНСОРНОГО ПУЛЬТА ДИСТАНЦИОННОГО УПРАВЛЕНИЯ (ПРОВЕРЬТЕ ФОРМИРОВАНИЕ УСИЛИЯ ОБРАТНОЙ СВЯЗИ КНОПОЧНЫМ ПЕРЕКЛЮЧАТЕЛЕМ СЕНСОРНОГО ПУЛЬТА)


    1. A0004V0E01
      Обозначения на рисунке
      *a Кнопочный переключатель
      *b Направление перемещения
      *c Усилие обратной связи

      Проверьте усилие обратной связи кнопочного переключателя сенсорного пульта дистанционного управления.


      1. Переведите ручку сенсорного пульта дистанционного управления вверх, вниз, вправо и влево, чтобы проверить усилие обратной связи.

        OK
        Усилие обратной связи формируется.

        Tech Tips

        Усилие обратной связи формируется, когда выключатель питания переводится в состояние ON (ВКЛ) (ACC). При выключении питания усилие обратной связи не формируется, и кнопочный переключатель сенсорного пульта дистанционного управления двигается свободно.


    NG
    OK
  4. ЗАМЕНИТЕ ПРИЕМНИК МУЛЬТИМЕДИЙНОГО МОДУЛЯ В СБОРЕ


    1. Замените приемник мультимедийного модуля в сборе (см. стр. Click here).

    2. Проверьте, проявляется ли такая же неисправность снова.

      Результат
      Результат Следующий шаг

      Неисправность не проявляется снова

      (система возвращается в нормальное состояние)

      А
      Неисправность проявляется снова B

    А
    B