СИСТЕМА НАВИГАЦИИ ОПИСАНИЕ СИСТЕМЫ


  1. ОПИСАНИЕ СИСТЕМЫ НАВИГАЦИИ


    1. Способы отслеживания положения автомобиля

      Крайне важно, чтобы система навигации правильно отслеживала текущее положение автомобиля и отображала его на карте. Существуют 2 способа отслеживания текущего положения автомобиля: автономная (точный расчет траектории) навигация и навигация с помощью GPS* (спутника). Оба способа навигации используются во взаимодействии друг с другом.

      *: GPS (глобальная система позиционирования)

      A0005PDE02
      Принцип работы Описание
      Расчет положения автомобиля Радиоприемник рассчитывает текущее состояние автомобиля (направление и текущее положение) при помощи сигналов отклонения от направления от гиродатчика и сигнала пройденного расстояния, вычисленного по сигналу скорости автомобиля, и на основании этого формирует маршрут.
      Обработка изображения карты Радиоприемник в сборе обрабатывает данные местоположения автомобиля, траекторию движения автомобиля и картографические данные с карты памяти SD (оптического диска).
      Корреляционное наведение по карте Картографические данные, хранящиеся на карте памяти SD (диске проигрывателя дисков), сравниваются с данными траектории движения и местоположения автомобиля. После этого положение автомобиля сопоставляется с ближайшей дорогой.
      Коррекция GPS Положение автомобиля сопоставляется с положением, вычисленным системой GPS. Затем данные измеренного положения GPS сопоставляются с данными траектории движения и текущего положения автомобиля. При значительном расхождении расчетов применяется вычисление местоположения посредством системы GPS.
      Коррекция расстояния Сигнал скорости автомобиля включает погрешности, вызванные износом шин и проскальзыванием между шинами и поверхностью дороги. Коррекция расстояния выполняется, чтобы учесть данные погрешности. Радиоприемник в сборе автоматически корректирует сигнал для исключения разницы между данным сигналом и данными положения согласно карте. Коррекция обновляется автоматически.
      A0003KQE50

      Tech Tips

      Сочетание автономной системы навигации и системы навигации GPS позволяет отображать положение автомобиля, даже когда автомобиль находится в местах, где сигналы GPS не принимаются. Однако при использовании только автономной навигации точность расчета местоположения может немного ухудшиться.

    2. Автономная навигация

      Данный способ определяет относительное положение автомобиля на основании траектории движения, определенной гиродатчиком в радиоприемнике, и сигнала скорости автомобиля.


      1. Гиродатчик

        Вычисляет направление посредством определения угловой скорости. Он находится в радиоприемнике в сборе.

      2. Сигнал скорости автомобиля

        Используется для вычисления пройденного расстояния автомобиля.

    3. Навигация GPS*(спутниковая навигация)

      Данный способ определяет абсолютное местоположение автомобиля при помощи радиоволн от спутников GPS.

      *: спутники GPS были запущены Министерством обороны США в военных целях.

      A00058NE01
      *1 Текущие долгота/широта/высота вычисляются на основании времени поступления сигналов от 4 спутников.
      Количество спутников Измерение Описание
      2 или менее Измерение невозможно Положение автомобиля не может быть определено из-за недостаточного количества спутников.
      3 Возможно двумерное измерение Положение автомобиля вычисляется на основании текущей долготы и широты. (Данный расчет менее точен, чем трехмерное измерение.)
      4 Возможно трехмерное измерение Положение автомобиля вычисляется по текущей долготе, широте и высоте.
    4. Корреляционное наведение по карте

      Текущий маршрут движения вычисляется автономной системой навигации (в соответствии с показаниями гиродатчика и сигналом скорости автомобиля) и системой навигации GPS. После этого данная информация сопоставляется с возможным маршрутом согласно картографическим данным, хранящимся на карте памяти SD (диска проигрывателя компакт-дисков), а затем метка положения автомобиля устанавливается на ближайшую дорогу.

      A0009I0E41
  2. ОПИСАНИЕ СЕНСОРНОГО ПУЛЬТА ДИСТАНЦИОННОГО УПРАВЛЕНИЯ

    Tech Tips


    • Управление системой навигации осуществляется с помощью кнопочного переключателя и переключателей на сенсорном пульте дистанционного управления.

    • Сенсорный пульт дистанционного управления снабжен функцией формирования ответной реакции.

    • При управлении кнопочным переключателем сенсорного пульта дистанционного управления приводятся в действие встроенные электродвигатели 2 осей. Эти электродвигатели обеспечивают ответную реакцию на кнопочном переключателе в соответствии с состоянием указателя на многофункциональном дисплее.

    • Усилие ответной реакции сенсорного пульта дистанционного управления облегчает выбор пиктограмм при управлении системой навигации.


    1. Манипулирование кнопочным переключателем сенсорного пульта дистанционного управления

      A0005UPE01
      Обозначения на рисунке
      *a Пример *b Продольная ось
      *c Поперечная ось *d Кнопочный переключатель

      1. Перемещение указателя на экране многофункционального дисплея синхронизировано с перемещением ручки кнопочного переключателя.

        Tech Tips


        • При управлении кнопочным переключателем сенсорного пульта дистанционного управления расстояние, на которое перемещается ручка, передается в радиоприемник в сборе в виде рабочих координат. Диапазон рабочих координат для поперечного и продольного перемещения: 0-255.

        • Многофункциональный дисплей также имеет рабочие координаты в диапазоне 0-255 для поперечной и продольной осей. Радиоприемник в сборе отображает указатель в соответствии с рабочими координатами от кнопочного переключателя.

    2. Ответная реакция кнопочного переключателя сенсорного пульта дистанционного управления

      A0009MPE01
      Обозначения на рисунке
      *a Пример *b Дисплей
      *c Экран изображения усилия обратной связи *d Изображение на экране
      *e Изображение усилия обратной связи *f Щуп
      *g Направление перемещения *h Усилие обратной связи (когда создается сопротивление)

      1. В сенсорный пульт дистанционного управления встроены 2 электродвигателя. Эти электродвигатели регулируют перемещение по поперечной и продольной осям, и обеспечивают ответную реакцию на манипулирование кнопочным переключателем сенсорного пульта дистанционного управления.

        Tech Tips


        • На экране многофункционального дисплея есть 3 типа участков, создающих усилие обратной связи (пиктограммы, рамки и прочие). Усилие ответной реакции изменяется в зависимости от зоны.

        • Радиоприемник в сборе передает сигнал запроса ответной реакции в сенсорный пульт дистанционного управления в соответствии с экраном многофункционального дисплея.

        • Когда сенсорный пульт дистанционного управления получает сигнал запроса ответной реакции, он приводит в действие электродвигатели, вызывая 3 типа реакций в зависимости от направления перемещения кнопочного переключателя пульта.

        • Усилие ответной реакции сенсорного пульта дистанционного управления регулируется.

          Дополнительная информация содержится в руководстве по эксплуатации.

      2. Область пиктограммы

        A0005VQE01
        Обозначения на рисунке
        *a Пример *b Дисплей
        *c Создаваемое усилие обратной связи *d Управление ручкой переключателя
        *e Пиктограмма *f Усилие, подтягивающее указатель к центру пиктограммы
        *g Центр пиктограммы *h Усилие обратной связи

        Tech Tips


        • Когда указатель приближается к пиктограмме, создается усилие, подтягивающее указатель к центру зоны пиктограммы.

        • Во время движения усилие реакции больше, чем во время стоянки.

      3. Область рамки

        A0008OGE01
        Обозначения на рисунке
        *a Пример *b Область рамки
        *c Усилие обратной связи - -

        Tech Tips

        Зоны рамок находятся по краям всех экранов дисплея. Когда указатель приближается к краю экрана, создается усилие, отводящее его от края экрана.

      4. Прочие зоны

        A00046FE17
        Обозначения на рисунке
        *a Пример *b Создаваемое усилие обратной связи
        *c Управление ручкой переключателя (действие пользователя) *d Быстрое перемещение ручки (сильная обратная связь)
        *e Медленное перемещение ручки (слабая обратная связь) *f Усилие обратной связи

        Tech Tips


        • Когда указатель находится в какой-либо зоне помимо указанных, создается сопротивление, пропорциональное скорости перемещения кнопочного переключателя сенсорного пульта дистанционного управления.

        • На экране карты создается большее сопротивление, чем на других экранах.

  3. ОПИСАНИЕ ПРОИГРЫВАТЕЛЯ КОМПАКТ-ДИСКОВ


    1. Проигрыватель компакт-дисков использует лазерный датчик для считывания цифровых сигналов, записанных на дисках. Преобразуя цифровые сигналы в аналоговые, он способен воспроизводить музыкальные и другие аудио- и видеозаписи.

      CAUTION:

      Никогда не смотрите прямо на лазерный датчик, поскольку проигрыватель компакт-дисков использует невидимый лазерный луч. Эксплуатация проигрывателя должна осуществляться в строгом соответствии с инструкциями.

      Note


      • Не разбирайте никакую часть проигрывателя компакт-дисков.

      • Не смазывайте проигрыватель компакт-дисков.

      • В проигрыватель компакт-дисков запрещается вставлять любые диски, кроме СD-дисков.

    2. Данный проигрыватель способен воспроизводить только компактные аудиодиски, диски CD-R (компакт-диск с возможностью однократной записи) и диски CD-RW (перезаписываемый компакт-диск) со следующей маркировкой:

      A0004I7
    3. Данный проигрыватель воспроизводит видеозаписи формата VCD, имеющие одно из следующих обозначений (для моделей с VCD-проигрывателем):

      A0003I6
    4. Данный проигрыватель воспроизводит видеозаписи формата DVD, имеющие одно из следующих обозначений:

      A0009GI
    5. Данный проигрыватель воспроизводит диски формата DVD-R (записываемый DVD-диск) и DVD-RW (перезаписываемый DVD-диск), записанные в формате VR (запись видеоизображения) и имеющие одно из следующих обозначений:

      A0008EV
    6. Плеер не поддерживает воспроизведение следующих дисков.


      • SACD

      • dts CD

      • Copy-protected CD

      • Super Video CD

      • DVD audio

      • DVD-RAM

    7. Меры предосторожности по работе с дисками

      Note


      • Диски CD-R, CD-RW, DVD-R (записываемый DVD-диск) и DVD-RW (перезаписываемый DVD-диск) могут не воспроизводиться при ненадлежащих условиях записи или характеристиках дисков, а также из-за повреждения, загрязнения или порчи дисков в случае оставления их в салоне автомобиля на длительное время.

      • Компакт-диски CD-R, CD-RW, DVD-R (записываемый DVD-диск) и DVD-RW (перезаписываемый DVD-диск) с незавершенной сессией записи не воспроизводятся.

      • В отличие от обычных аудиодисков, компакт-диски стандарта CD-R, CD-RW, DVD-R (записываемый DVD-диск) и DVD-RW (перезаписываемый DVD-диск) в большей степени подвержены воздействию высокой температуры и влажности. По этой причине воспроизведение некоторых дисков CD-R и CD-RW невозможно.

      • Диск может не воспроизводиться или может иметь место пропуск чтения диска при наличии отпечатков пальцев или царапин на диске.

      • Рабочее состояние дисков CD-R, CD-RW, DVD-R (записываемый DVD-диск) и DVD-RW (перезаписываемый DVD-диск) может ухудшиться при длительном хранении в автомобиле.

      • Храните диски CD-R, CD-RW, DVD-R (записываемый DVD-диск) и DVD-RW (перезаписываемый DVD-диск) в непрозрачном корпусе.

      • Диски цветного телевидения стандарта SECAM не воспроизводятся.

      • Не поддерживаются двухслойные диски, на которых на одной из сторон записана информация в формате DVD, а на другой – цифровая звуковая информация в формате CD.

      • Хранить диски необходимо в месте, защищенном от пыли. Соблюдайте осторожность, чтобы не повредить диски и не оставить на них отпечатки пальцев.

      • Чтобы взять диск, вставьте один палец в отверстие, а другим придерживайте его за край; маркировочная сторона должна быть сверху.

      • Если при нажатии кнопки выброса компакт-диск выбрасывается частично и не выбрасывается полностью в течение длительного промежутка времени, диск может быть поврежден и прийти в негодность.

      • Наличие на дисках клейкой ленты, наклеек, этикеток дисков или каких-либо остатков таких этикеток может привести к невозможности извлечения дисков, либо к повреждению проигрывателя.

      • Хранить диски необходимо в месте, защищенном от прямых солнечных лучей. (действие прямых солнечных лучей может привести к деформации и негодности диска).

      • Не используйте диски необычной формы, т.к. они могут привести к неисправностям проигрывателя.

      • Никогда не используйте диски с прозрачной или полупрозрачной рабочей поверхностью, поскольку они могут загружаться, извлекаться или воспроизводиться ненадлежащим образом.

      • Используйте только компакт-диски диаметром 4,7 дюйма (12 см).

      • Не используйте компакт-диски диаметром 3 дюйма (8 см) ни с переходником, ни без него.

      Tech Tips


      • Когда конденсат оседает на стеклах автомобиля при влажной или холодной погоде, возможно образование конденсата внутри проигрывателя. В таких случаях возможна остановка или пропуск чтения диска во время воспроизведения. Перед использованием проигрывателя проветрите салон автомобиля или создайте условия, при которых снизится уровень влажности в автомобиле.

      • Пропуск чтения диска может происходить при сильной вибрации проигрывателя вследствие движения автомобиля по ухабистой дороге или дороге без покрытия.

    8. A0003XE

      Чистка

      Note

      Использовать средства для чистки линз запрещается, т.к. они могут повредить чувствительную часть считывающего устройства проигрывателя.


      1. Если поверхность диска загрязнена, протрите диск мягкой тканью, например, салфетками для очистки очков с пластмассовыми окулярами, от центра к краю в радиальном направлении.

        Note


        • Сильное нажатие или применение абразивных материалов может привести к появлению царапин на поверхности диска.

        • Применение каких-либо растворителей, например, спрея для чистки пластинок, антистатического средства, спирта, бензина, разбавителя, или синтетических тканей может привести к повреждению диска, сделав его непригодным для использования.

  4. ОПИСАНИЕ ФУНКЦИИ USB АУДИОСИСТЕМЫ


    1. Переходник стереогнезда № 1 в сборе снабжен разъемом USB. Подключение USB-устройства или устройства "iPod" к переходнику стереогнезда № 1 в сборе позволяет воспроизводить хранящиеся в нем музыкальные файлы. При этом можно не только воспроизводить музыку с USB-устройства с функциями обработки звука, но и прослушивать сохраненные в USB-устройстве музыкальные файлы в формате MP3, WMA или AAC. Кроме того, в системе установлено управляющее программное обеспечение для "iPod", которое дает возможность выбирать файлы из списков воспроизведения и работать в режиме воспроизведения в случайном порядке (shuffle mode).

      Tech Tips

      Когда USB-устройство или устройство "iPod" подключено к системе, его органы управления не функционируют.

    2. Устройства, совместимые с аудиосистемой с модулем USB


      1. USB-устройство

        Поддерживаются следующие типы устройств:

        Типы совместимых USB-устройств
        • Формат USB: USB 2.0 HS (480 Мбит/с) и FS (12 Мбит/с)

        • Формат файлов: FAT16/32 (Windows)

        • Класс: запоминающие устройства большой емкости

        Файлы MP3, WMA и ААС, записанные на USB-устройстве в каком-либо формате, помимо указанных выше, могут воспроизводиться некорректно, либо могут неправильно отображаться их имена и имена каталогов.

        Ниже представлены характеристики и ограничения системы:


        • Максимальное количество уровней вложенности каталогов: 8 уровней

        • Максимальное количество каталогов в устройстве: 3000 (включая корневой каталог)

        • Максимальное количество файлов в устройстве: 9999

        • Максимальное количество файлов в каталоге:: 255

      2. Устройства "iPod"

        "iPhone", "iPod", "iPod classic", "iPod nano" и "iPod touch" являются торговыми марками Apple Inc., зарегистрированными в США и других странах.

        Вместе с данной системой могут использоваться следующие устройства "iPod", "iPod nano", "iPod classic", "iPod touch" и "iPhone".

        Сделано для:


        • "iPod touch" (5-го поколения)

        • "iPod touch" (4-го поколения)

        • "iPod touch" (3-го поколения)

        • "iPod touch" (2-го поколения)

        • "iPod touch" (1-го поколения)

        • "iPod classic"

        • "iPod with video"

        • "iPod nano" (7-го поколения)

        • "iPod nano" (6-го поколения)

        • "iPod nano" (5-го поколения)

        • "iPod nano" (4-го поколения)

        • "iPod nano" (3-го поколения)

        • "iPod nano" (2-го поколения)

        • "iPod nano" (1-го поколения)

        • "iPhone 5"

        • "iPhone 4S"

        • "iPhone 4"

        • "iPhone 3GS"

        • "iPhone 3G"

        • "iPhone"

        Tech Tips

        В зависимости от различий между моделями, версиями программного обеспечения и т.д. некоторые из моделей могут быть несовместимы с данной системой.

  5. ОПИСАНИЕ ФОРМАТОВ MP3/WMA/AAC


    1. Поддерживаемый формат файлов MP3

      Поддерживаемый формат MPEG1 LAYER3, MPEG2 LSF LAYER3
      Поддерживаемая частота дискретизации
      • MPEG1 LAYER3: 32, 44,1, 48 (кГц)

      • MPEG2 LSF LAYER3: 16, 22,05, 24 (кГц)

      Поддерживаемая скорость передачи двоичных данных
      • MPEG1 LAYER3: 32-320 (кбит/с)

      • MPEG2 LSF LAYER3: 8-160 (кбит/с)

      • Поддерживается переменная скорость передачи двоичных данных

      Поддерживаемые канальные режимы Моно, стерео, квазистерео и двухканальный
    2. Поддерживаемый формат файлов WMA

      Поддерживаемый формат Версия формата WMA 7, 8 и 9
      Поддерживаемая частота дискретизации 32, 44,1, 48 (кГц)
      Поддерживаемая скорость передачи двоичных данных (поддерживается только двухканальное воспроизведение)
      • Версия 7, 8: CBR 48 – 192 (кбит/с)

      • Версия 9: CBR 48 – 320 (кбит/с)

      • Поддерживается переменная скорость передачи двоичных данных

    3. Поддерживаемый формат файлов ААС

      Поддерживаемый формат MPEG4/AAC-LC
      Поддерживаемая частота дискретизации 11,025, 12, 16, 22,05, 24, 32, 44,1, 48 (кГц)
      Поддерживаемая скорость передачи двоичных данных
      • 16 - 320 (кбит/с)

      • Поддерживается переменная скорость передачи двоичных данных

    4. Информация о тегах ID3, WMA и ААС


      1. Файлы МP3 имеют теги ID3, в которых хранится дополнительная текстовая информация. В них сохраняются названия мелодий и исполнителей.

        Tech Tips

        Данный проигрыватель поддерживает ID3-теги версии ID3 1.0 и 1.1. и ID3 версий 2.2 и 2.3. (Ограничение длины текстового блока соответствует версии тегов ID3 1.0 и 1.1.)

      2. Файлы WMA имеют теги WMA, в которых хранится дополнительная текстовая информация. В них сохраняются названия мелодий и исполнителей.

      3. Файлы ААС могут иметь теги ААС, в которых хранится дополнительная текстовая информация. В них сохраняются названия мелодий и исполнителей.

    5. Поддерживаемый формат носителя


      1. Для воспроизведения файлов MP3/WMA/AAC могут использоваться только диски CD-ROM, CD-R (записываемый компакт-диск) и CD-RW (перезаписываемый компакт-диск), а также устройства USB.

        Note


        • В отличие от обычных аудиодисков, компакт-диски стандарта СD-R и CD-RW в большей степени подвержены воздействию высокой температуры и влажности. По этой причине воспроизведение некоторых дисков невозможно.

        • Если на диске имеются отпечатки пальцев или царапины, диск может не воспроизводиться или воспроизводиться с пропусками.

        • Оставление дисков CD-R и CD-RW в салоне на длительное время может повлечь их порчу.

        • Храните диски CD-R и CD-RW в непрозрачном корпусе.

    6. Поддерживаемый формат носителя


      1. Поддерживаемый формат носителя

        Формат компакт-дисков CD-ROM Mode 1, CD-ROM XA Mode 2 Form 1
        Формат файлов ISO9660 Level 1 и Level 2 (Joliet, Romeo)

        Tech Tips


        • Файлы MP3/WMA, записанные в каком-либо формате, помимо перечисленных, могут воспроизводиться некорректно, либо имена файлов и папок могут отображаться неправильно.

        • Данный проигрыватель поддерживает чтение мультисессионных дисков CD-R и CD-RW, на которые были добавлены файлы MP3/WMA/AAC. Однако файлы, записанные во время первой сессии, воспроизводятся.

        • Диски, на которых во время первой сессии были записаны как музыкальные записи, так и данные в формате MP3, WMA или ААС, могут не воспроизводиться.

      2. Стандарты и ограничения

        Ограничение иерархии каталогов 8 уровней
        Ограничение количества символов в имени файла/каталога 32 символа
        Максимальное количество каталогов 192 (включая пустые каталоги, корневые каталоги и каталоги, не содержащие MP3/WMA/AAC-файлы)
        Максимальное количество файлов на диске 255 (включая файлы формата, отличного от MP3/WMA/ААС)
    7. Имена файлов


      1. Распознаются и воспроизводятся как файлы MP3, WMA или ААС только файлы с расширением ".mp3", ".wma" или ".m4a".

      2. Файлы MP3, WMA или ААС должны быть сохранены с расширением ".mp3", ".wma" или ".m4a".

        Note

        Файлы, записанные не в форматах MP3, WMA или ААС, но имеющие расширение ".mp3", ".wma" или ".m4a" могут ошибочно распознаваться и воспроизводиться как MP3-, WMA- или ААС-файлы. Это может привести к воспроизведению громкого шума и повреждению динамиков.

  6. ОПИСАНИЕ ТЕХНОЛОГИИ "Bluetooth"

    A00054QE17
    Обозначения на рисунке
    *1

    Радиоприемник в сборе

    (со встроенной антенной "Bluetooth")

    - -
    *a Пример *b Сотовая сеть
    *c

    Мобильный телефон

    (с поддержкой технологии "Bluetooth")

    *d

    Портативный аудиоплеер

    (с поддержкой технологии "Bluetooth")

    *e Беспроводное соединение “Bluetooth” - -

    1. "Bluetooth" является зарегистрированной торговой маркой Bluetooth SIG, Inc.

    2. "Bluetooth" является новой технологией беспроводной передачи данных в диапазоне 2,4 ГГц.

      Tech Tips

      Скорость обмена данными при использовании технологии "Bluetooth" может изменяться в зависимости от наличия препятствий и условий распространения радиоволн между устройствами передачи данных, электромагнитного излучения, чувствительности устройств передачи данных и емкости антенны.

    3. Функция громкой связи


      1. Между радиоприемником со встроенной системой "Bluetooth" и мобильным телефоном с поддержкой "Bluetooth"* может быть установлено беспроводное соединение на основе технологии "Bluetooth". Это позволяет использовать функцию громкой связи телефона, даже когда он находится в кармане или в сумке. Поэтому для подключения мобильного телефона не требуется разъем или кабель.


        • *: Некоторые версии мобильных телефонов с поддержкой технологии Bluetooth могут не работать должным образом.

      2. Для функции громкой связи применяется беспроводное "Bluetooth"-соединение. На работу беспроводного "Bluetooth"-соединения могут оказывать влияние такие факторы, как расположение автомобиля, время дня и т.д., поэтому проблемы, связанные с установлением соединения, могут быть временно вызваны условиями приема по соединению "Bluetooth". Во время диагностики проверять частоту, на которой возникают помехи, и условия соединения с помощью другого мобильного телефона.

      3. Совместимые устройства с функцией громкой связи

        Требуемые технические характеристики "Bluetooth" Версия 2,0 или выше (рекомендуется 3.0+EDR или выше (рекомендуется))
        Поддерживаемые профили
        • HFP (Hands Free Profile) верс. 1.0 или выше (рекомендуется 1,6 или выше (рекомендуется))*1

        • OPP (профиль Object Push Profile) версии 1.1 или выше*1

        • PBAP (профиль Phone Book Access Profile) версии 1.0 или выше (рекомендуется 1,1 или выше (рекомендуется))*1

        • MAP (профиль Message Access Profile) версии 1.0 или выше*2

        • SPP (профиль Serial Port Profile) версии 1.1 или выше*3

        • PAN (персональная сеть) версии Не менее 1,0*4

        • DUN (Dial-Up Networking Profile) версии 1.1 или выше*5

        Максимальное количество устройств громкой связи, которые могут быть зарегистрированы (включая аудиоустройства) 5

        • *1: Этот профиль необходим при использовании функции громкой связи.

        • *2: Данный профиль необходим при использовании функции сообщений (для моделей с функцией SMS/MMS/e-mail).

        • *3: Данный профиль необходим при использовании функции Enform (для моделей с функцией Enform) или функции управления при помощи смартфона (для моделей с функцией звуковой библиотеки).

        • *4: Этот профиль необходим при использовании подключенных сервисных функций (для моделей с подключенными сервисными функциями).

        • *5: Данный профиль необходим при использовании системы G-BOOK (для моделей с поддержкой системы G-BOOK) или подключенных сервисных функций (для моделей с подключенными сервисными функциями).

        Tech Tips

        Оставшийся заряд батареи, отображаемый на дисплее радиоприемника в сборе, может отличаться от фактического заряда батареи устройства "Bluetooth".

    4. Функция воспроизведения аудиозаписей с использованием технологии "Bluetooth"


      1. Между радиоприемником со встроенной системой "Bluetooth" и портативным аудиоплеером с поддержкой "Bluetooth"* может быть установлено беспроводное соединение на основе технологии "Bluetooth". Это позволяет прослушивать файлы, сохраненные в портативном аудиоплеере, через динамики автомобиля. Кроме того, непосредственно с радиоприемника в сборе можно выполнять такие операции, как начало/остановка воспроизведения.


        • *: Некоторые модели аудиоплееров с поддержкой "Bluetooth" могут оказаться несовместимыми с системой "Bluetooth" автомобиля, либо записанная на них музыка будет воспроизводиться, но возможности управления с использованием радиоприемника в сборе окажутся ограниченными.

      2. Совместимые аудиоустройства с поддержкой "Bluetooth"

        Требуемые технические характеристики "Bluetooth" Версия 2,0 или выше (рекомендуется 3.0+EDR или выше (рекомендуется))
        Поддерживаемые профили
        • A2DP (Advanced Audio Distribution Profile – профиль расширенного распределения аудио) версии 1.0 или выше (рекомендуется 1,2 или выше (рекомендуется))

        • AVRCP (Audio/Video Remote Control Profile – профиль дистанционного управления аудио- и видеоаппаратурой) версии 1.0 или выше (рекомендуется 1,4 или выше (рекомендуется))

        Максимальное количество аудиоустройств, которые могут быть зарегистрированы 5

        Tech Tips

        Оставшийся заряд батареи, отображаемый на дисплее радиоприемника в сборе, может отличаться от фактического заряда батареи устройства "Bluetooth".

  7. ОПИСАНИЕ ФУНКЦИИ "Wi-Fi" (для моделей с функцией "Wi-Fi")


    1. "Wi-Fi" — это всемирный стандарт беспроводной передачи данных, широко используемый для передачи данных с небольшим радиусом действия.

    2. "Wi-Fi" является зарегистрированной торговой маркой Wi-Fi Alliance, некоммерческой промышленной ассоциации.

    3. Для обмена данными по технологии "Wi-Fi" радиоприемник в сборе использует частотный диапазон 2,4 ГГц.

      Tech Tips

      Скорость обмена данными при использовании технологии "Wi-Fi" может изменяться в зависимости от наличия препятствий и условий распространения радиоволн между устройствами передачи данных, электромагнитного излучения, чувствительности устройств передачи данных и емкости антенны.

  8. РАДИОВЕЩАНИЕ


    1. Радиочастотный диапазон


      1. Радиовещание осуществляется в радиочастотном диапазоне, приведенном в таблице ниже.

        A0007N2E65
    2. Зона обслуживания


      1. A0004GKE02
        Обозначения на рисунке
        *a FM (стерео)
        *b FМ (моно)
        *c AM

        Размер зон обслуживания при приеме сигналов радиовещания в диапазонах AM и FМ значительно отличается. Иногда прием стереофонических сигналов вещания в диапазоне FM невозможен, тогда как сигналы AM принимаются без помех. Стереофоническое вещание в диапазоне FМ имеет не только самую малую зону обслуживания, но также в наибольшей степени подвержено статическим и прочим помехам (“шумам”).

    3. Проблемы при приеме радиосигналов

      Tech Tips

      Помимо статических помех проблемы также могут создавать интерференция, многолучевое распространение и гашение. Эти проблемы вызваны не электрическими помехами, а связаны с принципом распространения радиосигналов.


      1. A0008Q6E02
        Обозначения на рисунке
        *a Интерференция
        *b Ионосфера

        Интерференция

        Помимо электрических помех, радиовещание в диапазоне AM подвержено воздействию других видов помех, называемых интерференцией. Возникая только ночью, интерференция является видом помех, когда радиоприемник принимает 2 радиосигнала от одного передатчика. Один радиосигнал отражается от ионосферы, а другой принимается непосредственно от передатчика.

      2. A0003UBE02
        Обозначения на рисунке
        *a Многолучевое распространение

        Многолучевое распространение

        Многолучевое распространение является типом помех, когда радиоприемник принимает 2 радиосигнала от одного передатчика. Один радиосигнал отражается от зданий или гор, а другой принимается непосредственно от передатчика.

      3. A0005Y8E02
        Обозначения на рисунке
        *a Затухание

        Затухание

        Затухание обуславливается различными объектами (зданиями, горами и другими крупными препятствиями), которые располагаются между передатчиком и радиоприемником и отражают часть сигнала, что приводит к его ослабеванию. Высокочастотные радиоволны, к которым относится и вещание в диапазоне FM, легко отражается от каких-либо препятствий. Однако низкочастотные радиоволны, к которым относится и вещание в диапазоне АM, практически не отражаются.

    4. Помехи

      Специалист должен иметь четкое представление о каждом виде помех, заявляемых клиентом. Для диагностики помех пользуйтесь следующей таблицей.

      Радиочастотный диапазон Условие возникновения помех Возможная причина
      AM Помехи возникают в определенном месте Посторонние помехи
      Помехи возникают при слабом приеме сигналов радиовещания Одна и та же радиопередача может транслироваться с нескольких передатчиков, что приводит к интерференции сигналов
      Помехи возникают только ночью Интерференция сигналов
      FM Помехи возникают в определенном месте Многолучевое распространение, обусловленное изменением частоты в диапазоне FM
  9. ОПИСАНИЕ ФУНКЦИИ DAB (ЦИФРОВОЕ АУДИОВЕЩАНИЕ) (для моделей с функцией DAB)


    1. DAB (цифровое аудиовещание) является стандартом цифрового радиовещания. По сравнению с традиционным FM/AM-вещанием DAB обеспечивает более высокое качество звука радиовещания при меньшем уровне шума в случае изменения условий приема. DAB включает в себя функцию FM-Link, которая автоматически осуществляет временное переключение на одновременно вещающую FM-станцию, когда уровень принимаемого сигнала радиовещания DAB становится неприемлемым.

  10. ОПИСАНИЕ ФУНКЦИИ ENFORM (для моделей с функцией Enform)


    1. Позволяет отображать и осуществлять управление применимым содержанием мобильного телефона с помощью многофункционального дисплея. Поскольку обмен данными между мобильным телефоном и радиоприемником в сборе осуществляется по "Bluetooth"-соединению, перед использованием службы Enform в системе навигации необходимо зарегистрировать мобильный телефон в системе навигации как "Bluetooth"-устройство. Более детально описание приложений Enform и совместимых телефонов приводится на сайте http://www.lexus.com.au/.

  11. ОПИСАНИЕ ПОДКЛЮЧЕННЫХ СЕРВИСНЫХ ФУНКЦИЙ (для моделей с подключенными сервисными функциями)


    1. Следующие службы доступны при подключении системы навигации к веб-порталу Lexus посредством мобильного телефона или "Wi-Fi"-соединения.


      • Оперативный поиск: В качестве пункта назначения могут быть установлены новые заведения (например, рестораны, бары и т.д.), не зарегистрированные в системе навигации.

      • Импорт пунктов в память: Заведения, найденные с помощью персонального компьютера, можно задать в качестве пункта назначения и зарегистрировать в памяти.

      Tech Tips


      • Список известных совместимых телефонов см. на сайте http://www.my.lexus.eu.

      • Необходимо принять условия обслуживания для механизма поиска на веб-сайте www.my.lexus.eu. В противном случае выбор поисковой системы будет недоступен или не будет отображаться экран при выборе "Онлайн-поиска".

      • Если мобильный телефон не был зарегистрирован и не является зарегистрированным устройством, кнопка экрана "Communication settings" (настройки обмена данными) окажется недоступной для выбора.

      • Подключенные сервисные функции доступны только для радиоприемника в сборе, идентификационный код которого был зарегистрирован при создании учетной записи.

      • Результаты поиска могут быть не отображены, если целевое заведение отсутствует в данных, предоставленных провайдером, или картографических данных системы навигации.

      • Поскольку информация для установки пункта назначения с использованием подключенных сервисных функций предоставляется провайдером, система навигации может направить к месту, которое отличается от фактического местоположения пункта назначения.

  12. ОПИСАНИЕ ФУНКЦИИ ПОЛУЧЕНИЯ ИНФОРМАЦИИ О ДОРОЖНОМ ДВИЖЕНИИ И НАЛИЧИИ СТОЯНОЧНЫХ МЕСТ (для моделей с подключенными сервисными функциями)


    1. С помощью данной функции можно просмотреть информацию о дорожном движении, прогноз дорожного движения и информацию о наличии стояночных мест. Есть 3 способа получения вышеописанной информации.

      Приоритет Метод Информация
      1-я Интернет посредством мобильного телефона или "Wi-Fi"-соединения
      • TPEG-TEC (Traffic Event Compact – сжатые данные о дорожных событиях)

      • TPEG-TFP (Traffic Flow Prediction – прогноз транспортных потоков)

      • TPEG-LPI (Live Parking Information – актуальная информация о наличии стояночных мест)

      2-я DAB
      3-я FM RDS-TMC (Radio Data System-Traffic Message Channel – система радиоинформации - канал сообщений о движении транспорта)

      Tech Tips


      • Если есть возможность приема информации RDS-TMC и TPEG, приоритет имеет информация TPEG.

      • При переходе с информации о дорожном движении RDS-TMC на информацию TPEG информация о дорожном движении, отображаемая на карте может поменяться.

      • После попадания в зону, где возможен прием данных TPEG, автомобиль должен проехать не менее 1 км (0,6 миль) в зоне охвата (покрытия), прежде чем он сможет принять данные TPEG.

      • Информация о дорожном движении отображается только на картах с масштабом, не превышающим 13 км (8 миль).

      • Диапазон дисплея информации о дорожном движении составляет 30 км (18 миль) от текущего положения до следующего пункта назначения для городских дорог и 100 км (62 мили) от текущего положения для автомагистралей.

      • Информация о наличии стояночных мест отображается только на картах с масштабом, не превышающим 1 км (0,5 мили).

      • Диапазон дисплея информации о наличии стояночных мест составляет 10 км (6 миль) от текущего положения до следующего пункта назначения.

      • Поиск объездного маршрута активируется только при наличии информации о движении транспорта для зоны 200 км (124 миль).

      • Если имеющаяся информация о движении транспорта относится только к транспортной пробке, маршрут может не быть изменен в зависимости от протяженности пробки.

      • При отсутствии доступных объездных путей маршрут может не быть изменен.

      • В зависимости от введенных данных информация "Начальный пункт" и "Конечный пункт" информации о дорожном движении может не отображаться.

      • Предоставляемые данные могут не соответствовать реальным условиям.

  13. ОПИСАНИЕ СЛУЖБЫ ЧАСТИЧНОГО ОБНОВЛЕНИЯ (для моделей с функцией звуковой библиотеки)


    1. Существует 2 способа обновления картографических данных: Первый способ – "полное обновление", предусматривающее обновление всех картографических данных путем замены SD-карты (оптического диска) на новую или заведомо исправную. Второй способ – "частичное обновление", предусматривающее обновление частей картографических данных до последней доступной версии через центр распределения данных с использованием системы G-BOOK для коммуникации (Приемопередатчик системы обработки и передачи информации*1 или "Bluetooth"-коммуникация*2 или "Wi-Fi"-коммуникация).


      • *1: для моделей с ручным выключателем (SOS)

      • *2: для моделей без ручного выключателя (SOS)

      Note

      Сервис частичного обновления доступен в течение 2 лет, начиная с дат, перечисленных ниже (это не относится к случаям, когда период обслуживания продлевается):


      • День, в который автомобиль преодолел общее расстояние 100 км (62 мили) после приобретения автомобиля.

      • Если приведенная выше дата не применима, сервис доступен в течение 2 лет после создания картографических данных на SD-карте (оптическом диске).

      • Дата, на которую выполнено полное обновление.

  14. ОПИСАНИЕ ФУНКЦИИ ЗВУКОВОЙ БИБЛИОТЕКИ (для моделей с функцией звуковой библиотеки)


    1. На жесткий диск можно записать приблизительно 3000 дорожек со средней длиной 5 минут при использовании кодирования AAC со скоростью 128 кбит/с (может быть записано не более 9999 дорожек при средней длине дорожки менее 5 минут, или если кодирование производится со скоростью менее 128 кбит/с).

    2. Можно вручную ввести или отредактировать информацию об альбоме, исполнителе, жанре и названии для записанных файлов.

    3. Эти названия облегчают поиск нужной дорожки.

      Tech Tips


      • Записывающую аппаратуру следует использовать только для законного копирования. Необходимо обязательно удостовериться в законности копирования записей в стране, где осуществляется копирование.

      • Копирование охраняемых авторским правом материалов - таких, как фильмы и музыка - является незаконным, если оно не разрешено легальным исключением или правообладателями материалов.

  15. ОПИСАНИЕ НАСТРОЙКИ ПАРАМЕТРОВ АВТОМОБИЛЯ


    1. Настройку функций можно выполнить с помощью многофункционального дисплея в сборе. Дополнительная информация о настраиваемых параметрах системы навигации приведена в руководстве по эксплуатации.

      Tech Tips


      • Настройку параметров системы навигации можно выполнить с помощью GTS.

      • Некоторые настраиваемые параметры отображаются на GTS на экране "Vehicle Customization" (настройка автомобиля) для системы навигации. Пользователи могут настраивать эти параметры.

  16. ОПИСАНИЕ ФУНКЦИИ АВТОМАТИЧЕСКОЙ РЕГУЛИРОВКИ ЗВУКА (ASL)


    1. Функция ASL (автоматический регулятор уровня звукового сигнала) используется для автоматической регулировки громкости звука с целью компенсации повышенного шума автомобиля (по мере увеличения скорости автомобиля возрастают и шумы). Функция ASL регулирует громкость на основании сигналов скорости автомобиля, получаемых от щитка приборов.

  17. ОПИСАНИЕ ФУНКЦИИ ИМПОРТА / ЭКСПОРТА ПУНКТОВ В ПАМЯТЬ / ИЗ ПАМЯТИ


    1. Данная функция позволяет зарегистрировать пункты в памяти, хранящиеся в радиоприемнике в сборе, в другом радиоприемнике в сборе.

      Пункты в памяти, хранящиеся в радиоприемнике в сборе, можно экспортировать на USB-устройство. Данные, экспортированные в USB-устройство, могут быть импортированы в другой радиоприемник с использованием этого USB-устройства.

  18. ОПИСАНИЕ ФУНКЦИИ НАСТРОЙКИ ИЗОБРАЖЕНИЯ ПРИ ЗАПУСКЕ ИЛИ ИЗОБРАЖЕНИЯ ПРИ ВЫКЛЮЧЕНИИ ЭКРАНА


    1. Изображение можно скопировать с USB-устройства. Это изображение можно использовать в качестве начального изображения или изображения, отображаемого при выключении экрана системы навигации.

  19. СИСТЕМА ПЕРЕДАЧИ ДАННЫХ


    1. Описание AVC-LAN

      A0005LPE70
      Пример
      *1 (сопротивление 60-80 Ом)
      *2 Радиоприемник в сборе
      *3 Многофункциональный дисплей в сборе

      1. Компоненты системы навигации обмениваются данными друг с другом посредством AVC-LAN.

      2. В качестве шины передачи данных AVC-LAN используется витая пара.

      3. Функции ведущего устройства AVC-LAN выполняет радиоприемник в сборе.

        Tech Tips


        • Радиоприемник в сборе имеет достаточное сопротивление (60-80 Ом), необходимое для обмена данными.

        • В случае кроткого замыкания или обрыва в цепи AVC-LAN связь прерывается, и система не будет работать должным образом.

    2. Структура сети MOST

      A00095PE09

      1. Устройства системы навигации обмениваются данными по сети MOST.

      2. В качестве шины передачи данных в сети MOST используется экранированная витая пара.

      3. Функции ведущего устройства для сети MOST выполняет радиоприемник в сборе.

      4. Шины передачи данных MOST соединяют все подчиненные устройства с ведущим, образуя кольцо сети MOST.

      5. Ведущее устройство передает сигнал выхода из спящего режима, при получении которого активируются все подчиненные устройства, подключенные к сети MOST.

        Tech Tips

        В случае кроткого замыкания или обрыва в сети MOST связь прерывается, и система не будет работать должным образом.

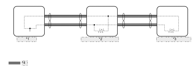
    3. Описание передачи данных по локальной шине

      A00065SE11
      *1 Сенсорный пульт дистанционного управления
      *2 Радиоприемник в сборе
      *3 Щиток приборов в сборе
      *4 Линия передачи данных локальной шины

      1. Компоненты системы навигации обмениваются данными друг с другом посредством локальной шины.

      2. В качестве локальной шины передачи данных используется витая пара.

      3. Функции ведущего устройства местной шины выполняет радиоприемник в сборе.

        Tech Tips


        • Радиоприемник в сборе имеет достаточное сопротивление (108-132 Ом), необходимое для обмена данными.

        • Щиток приборов в сборе в сборе имеет достаточное сопротивление (108-132 Ом), необходимое для обмена данными.

        • В случае кроткого замыкания или обрыва в цепи локальной шины связь прерывается, и система не будет работать должным образом.

    4. Описание шины передачи данных CAN


      1. Для обеспечения обмена данными между радиоприемником в сборе и различными ЭБУ система навигации использует линии передачи данных CAN.

  20. ОПИСАНИЕ ФУНКЦИИ ДИАГНОСТИКИ


    1. Система навигации имеет функцию диагностики.