ЛАМПА НАПРАВЛЕННОГО ОСВЕЩЕНИЯ ПРОВЕРКА

ПОРЯДОК ВЫПОЛНЕНИЯ


  1. ПРОВЕРЬТЕ ВНУТРЕННЕЕ ЗЕРКАЛО ЗАДНЕГО ВИДА В СБОРЕ


    1. Проверьте лампу направленного освещения.

      A0004G4E05
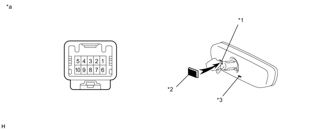
      Обозначения на рисунке
      *1 Передний датчик *2 Черная лента
      *3 Лампа направленного освещения - -
      *a

      Устройство с неподсоединенным жгутом проводов

      (внутреннее зеркало заднего вида в сборе)

      - -

      1. Наклейте черную ленту на передний датчик во избежание его срабатывания.

      2. Подсоедините положительный (+) вывод вспомогательной аккумуляторной батареи к контакту 1, а отрицательный (-) вывод – к контакту 2.

      3. Убедитесь в том, что лампа направленного освещения загорелась.

        Номинальное значение/Номинальный режим
        Лампа направленного освещения включается.

        Если результат проверки не отвечает требованиям, замените внутреннее зеркало заднего вида в сборе.