СИСТЕМА ПЕРЕДНИХ СИДЕНИЙ С ЭЛЕКТРОПРИВОДОМ (для моделей с запоминающим устройством), Diagnostic DTC:B2651

Код DTC Наименование DTC
B2651 Неисправность датчика наклона

ОПИСАНИЕ

Этот код DTC регистрируется, когда переключатель электропривода левого переднего сиденья или переключатель электропривода правого переднего сиденья не получает сигнал датчика, несмотря на перемещение спинки сиденья вперед или назад с помощью электропривода сиденья.

Код DTC Условие обнаружения DTC Неисправный участок
B2651 Крайние переднее и заднее положения, определенные датчиком, совпадают.
  • Со стороны водителя


    • Переключатель электропривода левого переднего сиденья


    • Электродвигатель наклона (рама спинки левого переднего сиденья)


    • Жгут проводов или разъем


  • Для стороны переднего пассажира


    • Переключатель электропривода правого переднего сиденья


    • Электродвигатель наклона (пружина спинки переднего раздельного сиденья в сборе)


    • Жгут проводов или разъем

СХЕМА ЭЛЕКТРИЧЕСКИХ СОЕДИНЕНИЙ


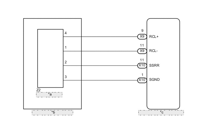
  1. Со стороны водителя

    A0008ZRE25
    *a Электродвигатель наклона
    *b Рама спинки левого переднего сиденья в сборе
    *c Переключатель электропривода левого переднего сиденья
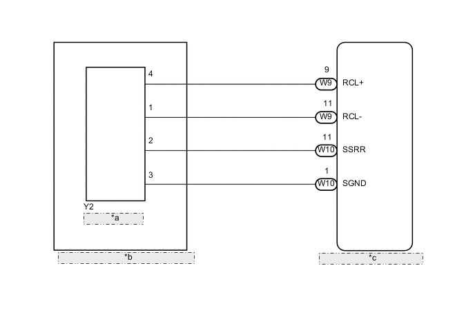
  2. Для стороны переднего пассажира

    A0007LTE18
    *a Электродвигатель наклона
    *b Пружина спинки переднего раздельного сиденья в сборе
    *c Переключатель электропривода правого переднего сиденья

ПОРЯДОК ВЫПОЛНЕНИЯ


  1. ПРОВЕРЬТЕ DTC


    1. Проверьте коды DTC (см. стр. Click here).

      Результат
      Результат Следующий шаг
      DTC не выводится A
      Вывод DTC связан с сиденьем водителя B
      Вывод DTC связан с сиденьем пассажира C

    A
    C
    B
  2. ВЫПОЛНИТЕ АКТИВНУЮ ДИАГНОСТИКУ С ПОМОЩЬЮ GTS (RECLINING MOTOR)


    1. Подключите GTS к DLC3.

    2. Включите питание (IG).

    3. Включите GTS.

    4. Войдите в следующие меню: Body Electrical / Driver Seat / Active Test.

    5. Выполните диагностику в режиме ACTIVE TEST в соответствии с указаниями на дисплее GTS.

      Driver Seat (Сиденье водителя)
      Информация на дисплее прибора Испытываемое устройство Диапазон регулирования Замечание по диагностике
      Seat Reclining Управление наклоном сиденья OFF (ВЫКЛ) / Front (вперед) / Rear (назад) -
      OK
      Электродвигатель работает нормально.

    NG
    OK
  3. ПРОВЕРЬТЕ ПЕРЕКЛЮЧАТЕЛЬ ЭЛЕКТРОПРИВОДА ЛЕВОГО ПЕРЕДНЕГО СИДЕНЬЯ (ЦЕПЬ ЭЛЕКТРОДВИГАТЕЛЯ НАКЛОНА)


    1. Отсоедините разъем Z2 электродвигателя наклона.

    2. Измерьте напряжение в соответствии со значениями, приведенными в таблице.

      Номинальное напряжение
      Подключение диагностического прибора Условие Заданные условия
      Z2-2 - Z2-3 Переключатель наклона в положении ON (ВКЛ) 4,8 - 5,1 В

    NG
    OK
  4. ПРОВЕРЬТЕ ЭЛЕКТРОДВИГАТЕЛЬ НАКЛОНА (РАМУ СПИНКИ ЛЕВОГО ПЕРЕДНЕГО СИДЕНЬЯ)


    1. A0004X3E02
      Обозначения на рисунке
      *a

      Устройство с подсоединенным жгутом проводов

      (электродвигатель наклона (рама спинки левого переднего сиденья))

      Подсоедините разъем Z2 электродвигателя наклона.

    2. Измерьте напряжение в соответствии со значениями, приведенными в таблице.

      Номинальное напряжение
      Подключение диагностического прибора Условие Заданные условия
      Z2-2 - масса Переключатель наклона в положении ON (ВКЛ) 4,5 - 4,8 В

    OK
    NG
  5. ПРОВЕРЬТЕ ЖГУТ ПРОВОДОВ И РАЗЪЕМ (ПЕРЕКЛЮЧАТЕЛЬ ЭЛЕКТРОПРИВОДА ЛЕВОГО ПЕРЕДНЕГО СИДЕНЬЯ - ЭЛЕКТРОДВИГАТЕЛЬ НАКЛОНА)


    1. Отсоедините разъем X10 переключателя электропривода левого переднего сиденья.

    2. Измерьте сопротивление в соответствии со значениями, приведенными в таблице ниже.

      Номинальное сопротивление
      Подключение диагностического прибора Условие Заданные условия
      X10-11 (SSRR) - Z2-2 Всегда Менее 1 Ом
      X10-1 (SGND) - Z2-3 Всегда Менее 1 Ом
      X10-11 (SSRR) - масса Всегда 10 кОм или более
      X10-1 (SGND) - масса Всегда 10 кОм или более

    OK
    NG
  6. ПРОВЕРЬТЕ ЭЛЕКТРОДВИГАТЕЛЬ НАКЛОНА (РАМУ СПИНКИ ЛЕВОГО ПЕРЕДНЕГО СИДЕНЬЯ)


    1. A0007P8E14
      Обозначения на рисунке
      *a

      Устройство с неподсоединенным жгутом проводов

      (электродвигатель наклона (рама спинки левого переднего сиденья))

      Отсоедините разъем Z2 электродвигателя наклона.

    2. Убедитесь, что когда к контактам разъема электродвигателя наклона подключена вспомогательная аккумуляторная батарея, спинка сиденья плавно перемещается.

      OK
      Условие Направление перемещения

      Положительный (+) вывод вспомогательной аккумуляторной батареи → контакт 4

      Отрицательный (-) вывод вспомогательной аккумуляторной батареи → контакт 1

      Спинка сиденья перемещается вперед

      Положительный (+) вывод вспомогательной аккумуляторной батареи → контакт 1

      Отрицательный (-) вывод вспомогательной аккумуляторной батареи → контакт 4

      Спинка сиденья перемещается назад

    NG
    OK
  7. ПРОВЕРЬТЕ ЖГУТ ПРОВОДОВ И РАЗЪЕМ (ПЕРЕКЛЮЧАТЕЛЬ ЭЛЕКТРОПРИВОДА ЛЕВОГО ПЕРЕДНЕГО СИДЕНЬЯ - ЭЛЕКТРОДВИГАТЕЛЬ НАКЛОНА)


    1. Отсоедините разъем X9 переключателя электропривода левого переднего сиденья.

    2. Измерьте сопротивление в соответствии со значениями, приведенными в таблице ниже.

      Номинальное сопротивление
      Подключение диагностического прибора Условие Заданные условия
      X9-9 (RCL+) - Z2-4 Всегда Менее 1 Ом
      X9-11 (RCL-) - Z2-1 Всегда Менее 1 Ом
      X9-9 (RCL+) - масса Всегда 10 кОм или более
      X9-11 (RCL-) - масса Всегда 10 кОм или более

    OK
    NG
  8. ВЫПОЛНИТЕ АКТИВНУЮ ДИАГНОСТИКУ С ПОМОЩЬЮ GTS (RECLINING MOTOR)


    1. Подключите GTS к DLC3.

    2. Включите питание (IG).

    3. Включите GTS.

    4. Войдите в следующие меню: Body Electrical / Passenger Seat / Active Test.

    5. Выполните диагностику в режиме ACTIVE TEST в соответствии с указаниями на дисплее GTS.

      Passenger Seat (Сиденье пассажира)
      Информация на дисплее прибора Испытываемое устройство Диапазон регулирования Замечание по диагностике
      Seat Reclining Управление наклоном сиденья OFF (ВЫКЛ) / Front (вперед) / Rear (назад) -
      OK
      Электродвигатель работает нормально.

    NG
    OK
  9. ПРОВЕРЬТЕ ПЕРЕКЛЮЧАТЕЛЬ ЭЛЕКТРОПРИВОДА ПРАВОГО ПЕРЕДНЕГО СИДЕНЬЯ (ЦЕПЬ ЭЛЕКТРОДВИГАТЕЛЯ НАКЛОНА)


    1. Отсоедините разъем Y2 электродвигателя наклона.

    2. Измерьте напряжение в соответствии со значениями, приведенными в таблице.

      Номинальное напряжение
      Подключение диагностического прибора Условие Заданные условия
      Y2-2 - Y2-3 Переключатель наклона в положении ON (ВКЛ) 4,8 - 5,1 В

    NG
    OK
  10. ПРОВЕРЬТЕ ЭЛЕКТРОДВИГАТЕЛЬ НАКЛОНА (ПРУЖИНУ СПИНКИ РАЗДЕЛЬНОГО ПЕРЕДНЕГО СИДЕНЬЯ)


    1. A0008THE03
      Обозначения на рисунке
      *a

      Устройство с подсоединенным жгутом проводов

      (Электродвигатель наклона (пружина спинки переднего раздельного сиденья в сборе))

      Подсоедините разъем Y2 электродвигателя наклона.

    2. Измерьте напряжение в соответствии со значениями, приведенными в таблице.

      Номинальное напряжение
      Подключение диагностического прибора Условие Заданные условия
      Y2-2 - масса Переключатель наклона в положении ON (ВКЛ) 4,5 - 4,8 В

    OK
    NG
  11. ПРОВЕРЬТЕ ЖГУТ ПРОВОДОВ И РАЗЪЕМ (ПЕРЕКЛЮЧАТЕЛЬ ЭЛЕКТРОПРИВОДА ПРАВОГО ПЕРЕДНЕГО СИДЕНЬЯ - ЭЛЕКТРОДВИГАТЕЛЬ НАКЛОНА)


    1. Отсоедините разъем W10 переключателя электропривода правого переднего сиденья.

    2. Измерьте сопротивление в соответствии со значениями, приведенными в таблице ниже.

      Номинальное сопротивление
      Подключение диагностического прибора Условие Заданные условия
      W10-11 (SSRR) - Y2-2 Всегда Менее 1 Ом
      W10-1 (SGND) - Y2-3 Всегда Менее 1 Ом
      W10-11 (SSRR) - масса Всегда 10 кОм или более
      W10-1 (SGND) - масса Всегда 10 кОм или более

    OK
    NG
  12. ПРОВЕРЬТЕ ЭЛЕКТРОДВИГАТЕЛЬ НАКЛОНА (ПРУЖИНУ СПИНКИ РАЗДЕЛЬНОГО ПЕРЕДНЕГО СИДЕНЬЯ)


    1. A0007P8E14
      Обозначения на рисунке
      *a

      Устройство с неподсоединенным жгутом проводов

      (Электродвигатель наклона (пружина спинки переднего раздельного сиденья в сборе))

      Отсоедините разъем Y2 электродвигателя наклона.

    2. Убедитесь, что когда к контактам разъема электродвигателя наклона подключена вспомогательная аккумуляторная батарея, спинка сиденья плавно перемещается.

      OK
      Условие Направление перемещения

      Положительный (+) вывод вспомогательной аккумуляторной батареи → контакт 4

      Отрицательный (-) вывод вспомогательной аккумуляторной батареи → контакт 1

      Спинка сиденья перемещается вперед

      Положительный (+) вывод вспомогательной аккумуляторной батареи → контакт 1

      Отрицательный (-) вывод вспомогательной аккумуляторной батареи → контакт 4

      Спинка сиденья перемещается назад

    NG
    OK
  13. ПРОВЕРЬТЕ ЖГУТ ПРОВОДОВ И РАЗЪЕМ (ПЕРЕКЛЮЧАТЕЛЬ ЭЛЕКТРОПРИВОДА ПРАВОГО ПЕРЕДНЕГО СИДЕНЬЯ - ЭЛЕКТРОДВИГАТЕЛЬ НАКЛОНА)


    1. Отсоедините разъем W9 переключателя электропривода правого переднего сиденья.

    2. Измерьте сопротивление в соответствии со значениями, приведенными в таблице ниже.

      Номинальное сопротивление
      Подключение диагностического прибора Условие Заданные условия
      W9-9 (RCL+) - Y2-4 Всегда Менее 1 Ом
      W9-11 (RCL-) - Y2-1 Всегда Менее 1 Ом
      W9-9 (RCL+) - масса Всегда 10 кОм или более
      W9-11 (RCL-) - масса Всегда 10 кОм или более

    OK
    NG