CAN COMMUNICATION SYSTEM(w/o Central Gateway ECU) Open in CAN Main Bus Line (LHD Models)

DESCRIPTION

There may be an open circuit in one of the V bus main lines and/or a DLC3 branch line when the resistance between terminals 6 (CANH) and 14 (CANL) of the DLC3 is 70 Ω or higher.

Symptom Trouble Area
Resistance between terminals 6 (CANH) and 14 (CANL) of the DLC3 is 70 Ω or higher.
  • DLC3 branch line or connector

  • CAN main bus line or connector

  • ECM

  • Combination meter assembly

  • CAN junction connector LH1

  • CAN junction connector RH1

This malfunction is not related to the lines of a CAN main bus branch or to ECUs or sensors connected to a CAN main bus branch.

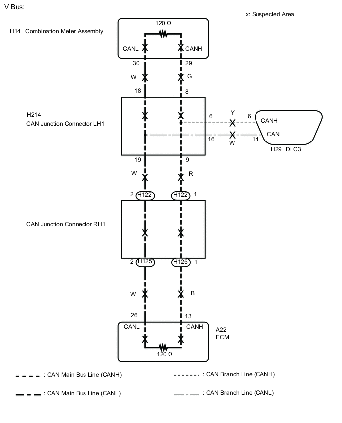
WIRING DIAGRAM

A0005XZE07

CAUTION / NOTICE / HINT

Note


  • Before measuring the resistance of the CAN bus, turn the power switch off and leave the vehicle for 1 minute or more without operating the key or any switches, or opening or closing the doors. After that, disconnect the cable from the negative (-) auxiliary battery terminal and leave the vehicle for 1 minute or more before measuring the resistance.

  • After turning the power switch off, waiting time may be required before disconnecting the cable from the negative (-) auxiliary battery terminal. Therefore, make sure to read the disconnecting the cable from the negative (-) auxiliary battery terminal notices before proceeding with work Click here.

  • Because the order of diagnosis is important to allow correct diagnosis, make sure to begin troubleshooting using How to Proceed with Troubleshooting when CAN communication system related DTCs are output Click here.

  • After performing repairs, perform the DTC check procedure and confirm that the DTCs are not output again.

  • DTC check procedure: Turn the power switch on (IG) and wait at least 60 seconds.

  • After the repair, perform the CAN bus check and check that all the ECUs and sensors connected to the CAN communication system are displayed Click here.

Tech Tips


  • Operating the power switch, any other switches or a door triggers related ECU and sensor communication on the CAN. This communication will cause the resistance value to change.

  • Even after DTCs are cleared, if a DTC is stored again after driving the vehicle for a while, the malfunction may be occurring due to vibration of the vehicle. In such a case, wiggling the ECUs or wire harness while performing the inspection below may help determine the cause of the malfunction.

  • Connectors that connect to the CAN junction connector can be distinguished by the color of their CAN bus lines. When the connectors have been disconnected from the CAN junction connector, reconnecting the connectors to non-original positions on the CAN junction connector does not affect system performance. However, it is preferred to reconnect the connectors to their original positions to avoid negative effects on the wiring such as tension on the wire harnesses, and to make future maintenance easier.

PROCEDURE


  1. CHECK FOR OPEN IN CAN BUS LINES (DLC3 BRANCH LINE)


    1. Disconnect the cable from the negative (-) auxiliary battery terminal.

    2. A0004RVE03
      Text in Illustration
      *1 DLC3

      Measure the resistance according to the value(s) in the table below.

      Standard Resistance
      Tester Connection Condition Specified Condition
      H29-6 (CANH) - H29-14 (CANL) Cable disconnected from negative (-) auxiliary battery terminal 108 to 132 Ω

      Note

      When the measured value is 133 Ω or higher and a CAN communication system DTC is output, there may be a fault besides disconnection of the DLC3 branch line. For that reason, troubleshooting should be performed again from How to Proceed with Troubleshooting after repairing the trouble area Click here.


    NG
    OK
  2. CHECK FOR OPEN IN CAN BUS LINES (ECM - CAN J/C RH1)


    1. A0006OTE03
      Text in Illustration
      *a

      Front view of wire harness connector

      (to ECM)

      Disconnect the A22 ECM connector.

    2. Measure the resistance according to the value(s) in the table below.

      Standard Resistance
      Tester Connection Condition Specified Condition
      A22-13 (CANH) -A22-26 (CANL) Cable disconnected from negative (-) auxiliary battery terminal 108 to 132 Ω

    OK
    NG
  3. CHECK FOR OPEN IN CAN BUS LINES (COMBINATION METER ASSEMBLY - CAN J/C LH1)


    1. Reconnect the A22 ECM connector.

    2. A0008F5E03
      Text in Illustration
      *a

      Front view of wire harness connector

      (to Combination Meter Assembly)

      Disconnect the H14 combination meter assembly connector.

    3. Measure the resistance according to the value(s) in the table below.

      Standard Resistance
      Tester Connection Condition Specified Condition
      H14-29 (CANH) - H14-30 (CANL) Cable disconnected from negative (-) auxiliary battery terminal 108 to 132 Ω

    OK
    NG
  4. CHECK FOR OPEN IN CAN BUS LINES (CAN J/C LH1)


    1. Reconnect the H14 combination meter assembly connector.

    2. A0003MIE02
      Text in Illustration
      *a

      Rear view of wire harness connector

      (to CAN Junction Connector LH1)

      *b to Combination Meter Assembly
      *c to CAN Junction Connector RH1

      Disconnect the H214 CAN junction connector LH1.

    3. Measure the resistance according to the value(s) in the table below.

      Standard Resistance
      Tester Connection Condition Specified Condition Connected to
      H214-8 (CANH) - H214-18 (CANL) Cable disconnected from negative (-) auxiliary battery terminal 108 to 132 Ω Combination meter assembly
      H214-9 (CANH) - H214-19 (CANL) Cable disconnected from negative (-) auxiliary battery terminal 108 to 132 Ω CAN junction connector RH1
      Result
      Result Proceed to
      OK A
      NG (Combination meter assembly main line) B
      NG (CAN junction connector RH1 main line) C

    A
    B
    C
  5. CHECK FOR OPEN IN CAN BUS LINES (CAN J/C RH1)


    1. Reconnect the H214 CAN junction connector LH1.

    2. A0004POE02
      Text in Illustration
      *a

      Rear view of wire harness connector

      (to CAN Junction Connector RH1)

      *b to CAN Junction Connector LH1
      *c to ECM

      Disconnect the H122 CAN junction connector RH1.

    3. Disconnect the H125 CAN junction connector RH1.

    4. Measure the resistance according to the value(s) in the table below.

      Standard Resistance
      Tester Connection Condition Specified Condition Connected to
      H122-1 (CANH) - H122-2 (CANL) Cable disconnected from negative (-) auxiliary battery terminal 108 to 132 Ω CAN junction connector LH1
      H125-1 (CANH) - H125-2 (CANL) Cable disconnected from negative (-) auxiliary battery terminal 108 to 132 Ω ECM
      Wiring Color
      Code Color (CANH Side) Color (CANL Side) Connected to
      H122 R W CAN junction connector LH1
      H125 B W ECM

      Note


      • Before disconnecting the connectors, make a note of where they are connected.

      • Reconnect each connector to its original position.

      Result
      Result Proceed to
      OK A
      NG (CAN junction connector LH1 main line) B
      NG (ECM main line) C

    A
    B
    C