CAN COMMUNICATION SYSTEM(w/o Central Gateway ECU), Diagnostic DTC:U0235

DTC Code DTC Name
U0235 Lost Communication with Cruise Control Front Distance Range Sensor

DESCRIPTION

DTC No. DTC Detection Condition Trouble Area
U0235 No communication from the millimeter wave radar sensor assembly continues.
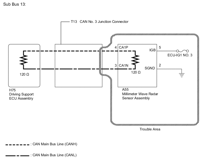
  • Millimeter wave radar sensor assembly branch line or connector

  • Power source circuit of millimeter wave radar sensor assembly

  • Millimeter wave radar sensor assembly ground circuit

  • Millimeter wave radar sensor assembly

Tech Tips

This diagnosis procedure is for when DTC U0235 is output by the driving support ECU assembly (GTS display: Pre-Crash 2).

WIRING DIAGRAM

A0009FVE12

CAUTION / NOTICE / HINT

Note


  • Before measuring the resistance of the CAN bus, turn the power switch off and leave the vehicle for 1 minute or more without operating the key, switches or opening or closing the doors. After that, disconnect the cable from the negative (-) auxiliary battery terminal and leave the vehicle for 1 minute or more before measuring the resistance.

  • After turning the power switch off, waiting time may be required before disconnecting the cable from the negative (-) auxiliary battery terminal. Therefore, make sure to read the disconnecting the cable from the negative (-) auxiliary battery terminal notice before proceeding with work Click here.

  • Because the order of diagnosis is important to allow correct diagnosis, make sure to begin troubleshooting using How to Proceed with Troubleshooting when CAN communication system related DTCs are output Click here.

  • After performing repairs, perform the procedure listed in DTC Reproduction Method and confirm that the DTCs are not output again.

  • After the repair, perform CAN Bus Check and check that all the ECUs and sensors connected to the CAN communication system are displayed Click here.

Tech Tips


  • Operating the power switch, any other switches or a door triggers related ECU and sensor communication on the CAN. This communication will cause the resistance value to change.

  • Even after DTCs are cleared, if a DTC is stored again after driving the vehicle for a while, the malfunction may be occurring due to vibration of the vehicle. In such a case, wiggling the ECUs or wire harness while performing the inspection below may help determine the cause of the malfunction.

PROCEDURE


  1. RECONFIRM DTC OUTPUT


    1. Reconfirm DTCs.

      Tech Tips

      If DTC U1002 is output from Pre-Crash 2 of the driving support ECU assembly, this indicates a sub bus 13 malfunction. Troubleshoot for DTC U1002 and check for malfunctions in sub bus 13.

      Result
      Result Proceed to

      U1002 is not output from driving support ECU assembly.

      (GTS display: Pre-Crash 2)

      A

      U1002 is output from driving support ECU assembly.

      (GTS display: Pre-Crash 2)

      B

    B
    A
  2. CHECK OPEN IN CAN BUS LINES (MILLIMETER WAVE RADAR SENSOR ASSEMBLY MAIN LINE)


    1. Disconnect the cable from the negative (-) auxiliary battery terminal.

    2. A0009E4E02
      Text in Illustration
      *a

      Front view of wire harness connector

      (to Millimeter Wave Radar Sensor Assembly)

      Disconnect the A55 millimeter wave radar sensor assembly connector.

    3. Measure the resistance according to the value(s) in the table below.

      Standard Resistance
      Tester Connection Condition Specified Condition
      A55-4 (CA1P) - A55-3 (CA1N) Cable disconnected from negative (-) auxiliary battery terminal 108 to 132 Ω

    NG
    OK
  3. CHECK MILLIMETER WAVE RADAR SENSOR ASSEMBLY POWER SOURCE CIRCUIT


    1. Check the millimeter wave radar sensor assembly power source circuit Click here.


    OK
    NG