CAN COMMUNICATION SYSTEM(w/o Central Gateway ECU), Diagnostic DTC:U1002

DTC Code DTC Name
U1002 Lost Communication with Gateway Module (Sensor Bus)

DESCRIPTION


DTC No. DTC Detection Condition Trouble Area
U1002 The driving support ECU assembly cannot receive signals from all ECUs that have been memorized as those connected to sub bus 13.
  • Open or short in sub bus 13 main line or connector

  • Open or short sub bus 13 branch line or connector

  • Driving support ECU assembly

  • Millimeter wave radar sensor assembly

  • Lane departure warning camera*1

  • CAN No. 3 junction connector


Tech Tips

The diagnosis procedure is for when DTC U1002 is output by the driving support ECU assembly (GTS display: Pre-Crash 2).

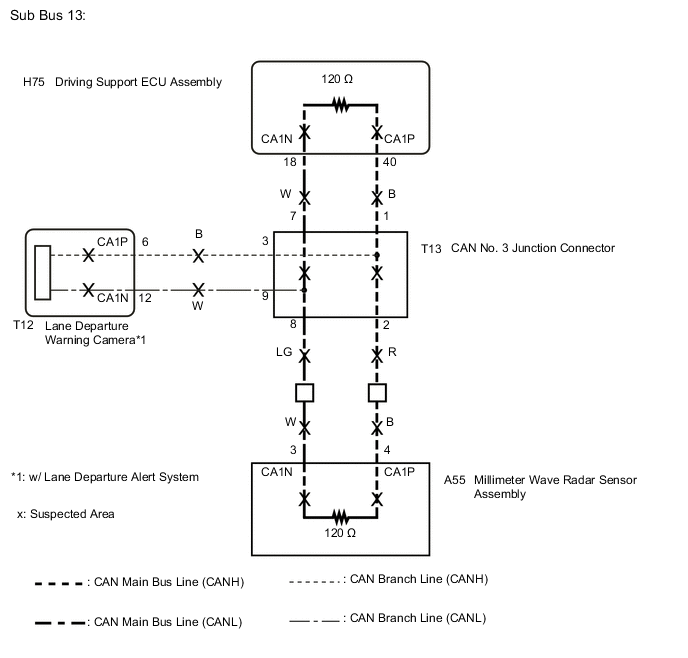
WIRING DIAGRAM

A0003J2E08

CAUTION / NOTICE / HINT

Note


  • Before measuring the resistance of the CAN bus, turn the power switch off and leave the vehicle for 1 minute or more without operating the key, switches or opening or closing the doors. After that, disconnect the cable from the negative (-) auxiliary battery terminal and leave the vehicle for 1 minute or more before measuring the resistance.

  • After turning the power switch off, waiting time may be required before disconnecting the cable from the negative (-) auxiliary battery terminal. Therefore, make sure to read the disconnecting the cable from the negative (-) auxiliary battery terminal notices before proceeding with work Click here.

  • Because the order of diagnosis is important to allow correct diagnosis, make sure to begin troubleshooting using How to Proceed with Troubleshooting when CAN communication system related DTCs are output Click here.

  • After performing repairs, perform the DTC check procedure and confirm that the DTCs are not output again.

  • After the repair, perform CAN Bus Check and check that all the ECUs and sensors connected to the CAN communication system are displayed Click here.

Tech Tips


  • Operating the power switch, any other switches or a door triggers related ECU and sensor communication on the CAN. This communication will cause the resistance value to change.

  • Even after DTCs are cleared, if a DTC is stored again after driving the vehicle for a while, the malfunction may be occurring due to vibration of the vehicle. In such a case, wiggling the ECUs or wire harness while performing the inspection below may help determine the cause of the malfunction.

PROCEDURE


  1. RECONFIRM DTC OUTPUT


    1. Reconfirm DTCs.

      Result
      Result Proceed to
      U0104 not output from power management control ECU (GTS display: PM1 Gateway) A
      U0104 is output from power management control ECU (GTS display: PM1 Gateway) B

    B
    A
  2. CHECK SUB BUS 13


    1. Turn the power switch off.

    2. Disconnect the cable from the negative (-) auxiliary battery terminal.

    3. A000734E02
      Text in Illustration
      *a

      Component with harness connected

      (Driving Support ECU Assembly)

      Measure the resistance according to the value(s) in the table below.

      Standard Resistance
      Tester Connection Condition Specified Condition Result
      H75-40 (CA1P) - H75-18 (CA1N) Cable disconnected from negative (-) auxiliary battery terminal 54 to 69 Ω

      Below 54 Ω:

      Short circuit between bus lines

      70 Ω or more:

      Open circuit in a main bus line

      H75-40 (CA1P) - H75-25 (GND) Cable disconnected from negative (-) auxiliary battery terminal 200 Ω or higher

      Below 200 Ω:

      CANH ground short

      H75-18 (CA1N) - H75-25 (GND) Cable disconnected from negative (-) auxiliary battery terminal 200 Ω or higher

      Below 200 Ω:

      CANL ground short

      H75-40 (CA1P) - H75-30 (B) Cable disconnected from negative (-) auxiliary battery terminal 6 kΩ or higher

      Below 6 kΩ:

      CANH +B short

      H75-18 (CA1N) - H75-30 (B) Cable disconnected from negative (-) auxiliary battery terminal 6 kΩ or higher

      Below 6 kΩ:

      CANL +B short

      Result
      Result Proceed to
      OK (w/ Lane departure alert system) A
      OK (w/o Lane departure alert system) B
      NG (Open circuit in CAN main bus line) C
      NG (Short circuit between bus lines) D

      • NG (Ground short)

      • NG (+B short)

      E

    B
    C
    D
    E
    A
  3. RECONFIRM DTC OUTPUT


    1. Reconnect the cable to the negative (-) auxiliary battery terminal.

    2. Connect the GTS to the DLC3.

    3. Turn the power switch on (IG).

    4. Turn the GTS on.

    5. Clear the DTCs.

    6. Turn the power switch off.

    7. Turn the power switch on (IG) and recheck for DTCs.

      Result
      Result Proceed to

      U1002 is output from driving support ECU assembly

      (GTS display: Pre-Crash 2)

      A
      Other DTC is output. B

    A
    B
  4. CHECK FOR POWER SOURCE CIRCUIT (MILLIMETER WAVE RADAR SENSOR ASSEMBLY)


    1. Check the millimeter wave radar sensor assembly power source circuit Click here.


    NG
    OK
  5. CHECK FOR DTC OUTPUT


    1. Reconnect the A55 millimeter wave radar sensor assembly connector.

    2. Reconnect the cable to the negative (-) auxiliary battery terminal.

    3. Connect the GTS to the DLC3.

    4. Turn the power switch on (IG).

    5. Turn the GTS on.

    6. Clear the DTCs.

    7. Turn the power switch off.

    8. Turn the power switch on (IG).

    9. Turn the GTS on.

    10. Check for DTCs.

      Result
      Result Proceed to
      U1002 is output from driving support ECU assembly (GTS display: Pre-Crash 2) A
      U1002 not output from driving support ECU assembly (GTS display: Pre-Crash 2) B

    B
    A
  6. REPLACE DRIVING SUPPORT ECU ASSEMBLY


    1. Replace the driving support ECU assembly Click here.


    NEXT
  7. CHECK FOR DTC OUTPUT


    1. Connect the GTS to the DLC3.

    2. Turn the power switch on (IG).

    3. Turn the GTS on.

    4. Clear the DTCs.

    5. Turn the power switch off.

    6. Turn the power switch on (IG) .

    7. Turn the GTS on.

    8. Check for DTCs.

      Result
      Result Proceed to
      U1002 not output from driving support ECU assembly (GTS display: Pre-Crash 2) A
      U1002 is output from driving support ECU assembly (GTS display: Pre-Crash 2) B

    A
    B
  8. CHECK FOR OPEN IN SUB BUS 13 MAIN LINES (DRIVING SUPPORT ECU ASSEMBLY)


    1. A0004D9E02
      Text in Illustration
      *a

      Front view of wire harness connector

      (to Driving Support ECU Assembly)

      Disconnect the H75 driving support ECU assembly connector.

    2. Measure the resistance according to the value(s) in the table below.

      Standard Resistance
      Tester Connection Condition Specified Condition
      H75-40 (CA1P) - H75-18 (CA1N) Cable disconnected from negative (-) auxiliary battery terminal 108 to 132 Ω

    OK
    NG
  9. CHECK FOR OPEN IN SUB BUS 13 MAIN LINES (CAN NO. 3 J/C)


    1. Reconnect the H75 driving support ECU assembly connector.

    2. A000610E02
      Text in Illustration
      *a

      Front view of wire harness connector

      (to CAN No. 3 Junction Connector)

      *b to Driving Support ECU Assembly
      *c to Millimeter Wave Radar Sensor Assembly

      Disconnect the T13 CAN No. 3 junction connector.

    3. Measure the resistance according to the value(s) in the table below.

      Standard Resistance
      Tester Connection Condition Specified Condition Connected to
      T13-1 (CANH) - T13-7 (CANL) Cable disconnected from negative (-) auxiliary battery terminal 108 to 132 Ω Driving support ECU assembly
      T13-2 (CANH) - T13-8 (CANL) Cable disconnected from negative (-) auxiliary battery terminal 108 to 132 Ω Millimeter wave radar sensor assembly
      Result
      Result Proceed to
      OK A
      NG (to Driving support ECU assembly CAN main bus line) B
      NG (to Millimeter wave radar sensor assembly CAN main bus line) C

    A
    B
    C
  10. CHECK FOR OPEN IN SUB BUS 13 MAIN LINES (MILLIMETER WAVE RADAR SENSOR ASSEMBLY)


    1. Reconnect the T13 CAN No. 3 junction connector.

    2. A0009E4E02
      Text in Illustration
      *a

      Front view of wire harness connector

      (to Millimeter Wave Radar Sensor Assembly )

      Disconnect the A55 millimeter wave radar sensor assembly connector.

    3. Measure the resistance according to the value(s) in the table below.

      Standard Resistance
      Tester Connection Condition Specified Condition
      A55-4 (CA1P) - A55-3 (CA1N) Cable disconnected from negative (-) auxiliary battery terminal 108 to 132 Ω

    OK
    NG
  11. CHECK FOR SHORT IN SUB BUS 13 LINES (DRIVING SUPPORT ECU ASSEMBLY)


    1. A0004D9E02
      Text in Illustration
      *a

      Front view of wire harness connector

      (to Driving Support ECU Assembly)

      Disconnect the H75 driving support ECU assembly connector.

    2. Measure the resistance according to the value(s) in the table below.

      Standard Resistance
      Tester Connection Condition Specified Condition
      H75-40 (CA1P) - H75-18 (CA1N) Cable disconnected from negative (-) auxiliary battery terminal 108 to 132 Ω

    OK
    NG
  12. CHECK FOR SHORT IN SUB BUS 13 LINES (CAN NO. 3 J/C)


    1. Reconnect the H75 driving support ECU assembly connector.

    2. A0003QHE02
      Text in Illustration
      *a

      Front view of wire harness connector

      (to CAN No. 3 Junction Connector)

      *b to Driving Support ECU Assembly
      *c to Millimeter Wave Radar Sensor Assembly
      *d to Lane Departure Warning Camera*1

      Disconnect the T13 CAN No. 3 junction connector.

    3. Measure the resistance according to the value(s) in the table below.

      Standard Resistance
      Tester Connection Condition Specified Condition Connected to
      T13-1 (CANH) - T13-7 (CANL) Cable disconnected from negative (-) auxiliary battery terminal 108 to 132 Ω Driving support ECU assembly
      T13-2 (CANH) - T13-8 (CANL) Cable disconnected from negative (-) auxiliary battery terminal 108 to 132 Ω Millimeter wave radar sensor assembly
      T13-3 (CANH) - T13-9 (CANL) Cable disconnected from negative (-) auxiliary battery terminal 200 Ω or higher Lane departure warning camera*1

      • *1: w/ Lane departure alert system


      • *1: w/ Lane departure alert system

      Result
      Result Proceed to
      OK A
      NG (to Driving support ECU assembly main bus line) B
      NG (to Millimeter wave radar sensor assembly main bus line) C
      NG (to Lane departure warning camera branch line) D

    A
    B
    D
    C
  13. CHECK FOR SHORT IN SUB BUS 13 LINES (MILLIMETER WAVE RADAR SENSOR ASSEMBLY)


    1. Reconnect the T13 CAN No. 3 junction connector.

    2. A0009E4E02
      Text in Illustration
      *a

      Front view of wire harness connector

      (to Millimeter Wave Radar Sensor Assembly )

      Disconnect the A55 millimeter wave radar sensor assembly connector.

    3. Measure the resistance according to the value(s) in the table below.

      Standard Resistance
      Tester Connection Condition Specified Condition
      A55-4 (CA1P) - A55-3 (CA1N) Cable disconnected from negative (-) auxiliary battery terminal 108 to 132 Ω

    OK
    NG
  14. CHECK FOR SHORT IN SUB BUS 13 LINES (LANE DEPARTURE WARNING CAMERA)


    1. Reconnect the T13 CAN No. 3 junction connector.

    2. A0007B4E02
      Text in Illustration
      *a

      Front view of wire harness connector

      (to Lane Departure Warning Camera)

      Disconnect the T12 lane departure warning camera connector.

    3. Measure the resistance according to the value(s) in the table below.

      Standard Resistance
      Tester Connection Condition Specified Condition
      T12-6 (CA1P) - T12-12 (CA1N) Cable disconnected from negative (-) auxiliary battery terminal 54 to 69 Ω

    OK
    NG
  15. CHECK FOR SHORT IN SUB BUS 13 LINE (DRIVING SUPPORT ECU ASSEMBLY)


    1. Disconnect the H75 driving support ECU assembly connector.

    2. A00082XE02
      Text in Illustration
      *a

      Front view of wire harness connector

      (to Driving Support ECU Assembly)

      Measure the resistance according to the value(s) in the table below.

      Standard Resistance
      Tester Connection Condition Specified Condition Purpose
      H75-40 (CA1P) - H75-25 (GND) Cable disconnected from negative (-) auxiliary battery terminal 200 Ω or higher

      Below 200 Ω:

      CANH ground short

      H75-18 (CA1N) - H75-25 (GND) Cable disconnected from negative (-) auxiliary battery terminal 200 Ω or higher

      Below 200 Ω:

      CANL ground short

      H75-40 (CA1P) - H75-30 (B) Cable disconnected from negative (-) auxiliary battery terminal 6 kΩ or higher

      Below 6 kΩ:

      CANH +B short

      H75-18 (CA1N) - H75-30 (B) Cable disconnected from negative (-) auxiliary battery terminal 6 kΩ or higher

      Below 6 kΩ:

      CANL +B short

      Tech Tips


      • It is only necessary to perform the inspection in the above table for the result (short circuit) that was obtained in the Check Sub Bus 13 inspection.

      • Find the necessary inspection from the Purpose column that matches the result in the Result column from the Check Sub Bus 13 inspection.


    OK
    NG
  16. CHECK FOR SHORT IN SUB BUS 13 LINE (CAN NO. 3 J/C)


    1. Disconnect the T13 CAN No. 3 junction connector.

      A00050RE02
    2. Measure the resistance according to the value(s) in the table below.

      Standard Resistance
      Tester Connection Condition Specified Condition Purpose Connected to
      T13-1 (CANH) - H29-4 (CG) Cable disconnected from negative (-) auxiliary battery terminal 200 Ω or higher Inspection for CANH ground short Driving support ECU assembly
      T13-7 (CANL) - H29-4 (CG)
      T13-2 (CANH) - H29-4 (CG) Cable disconnected from negative (-) auxiliary battery terminal 200 Ω or higher Inspection for CANH ground short Millimeter wave radar sensor assembly
      T13-8 (CANL) - H29-4 (CG)
      T13-3 (CANH) - H29-4 (CG) Cable disconnected from negative (-) auxiliary battery terminal 200 Ω or higher Inspection for CANH ground short Lane departure warning camera*1
      T13-9 (CANL) - H29-4 (CG)
      T13-1 (CANH) - H29-16 (BAT) Cable disconnected from negative (-) auxiliary battery terminal 6 kΩ or higher Inspection for CANH +B short Driving support ECU assembly
      T13-7 (CANL) - H29-16 (BAT)
      T13-2 (CANH) - H29-16 (BAT) Cable disconnected from negative (-) auxiliary battery terminal 6 kΩ or higher Inspection for CANH +B short Millimeter wave radar sensor assembly
      T13-8 (CANL) - H29-16 (BAT)
      T13-3 (CANH) - H29-16 (BAT) Cable disconnected from negative (-) auxiliary battery terminal 6 kΩ or higher Inspection for CANH +B short Lane departure warning camera*1
      T13-9 (CANL) - H29-16 (BAT)

      • *1: w/ Lane departure alert system

      Text in Illustration
      *1 DLC3 - -
      *a

      Front view of wire harness connector

      (to CAN No. 3 Junction Connector)

      *b to Driving Support ECU Assembly
      *c to Millimeter Wave Radar Sensor Assembly *d to Lane Departure Warning Camera*1

      • *1: w/ Lane departure alert system

      Tech Tips


      • It is only necessary to perform the inspection in the above table for the result (short circuit) that was obtained in the Check Sub Bus 13 inspection.

      • Find the necessary inspection from the Purpose column that matches the result in the Result column from the Check Sub Bus 13 inspection.

      Result
      Result Proceed to
      OK A
      NG (to Driving support ECU assembly CAN main bus line) B
      NG (to Millimeter wave radar sensor assembly CAN main bus line) C
      NG (to Lane departure warning camera CAN branch line) D

    A
    B
    D
    C
  17. CHECK FOR SHORT IN SUB BUS 13 LINE (MILLIMETER WAVE RADAR SENSOR ASSEMBLY)


    1. Disconnect the A55 millimeter wave radar sensor assembly connector.

    2. A0006TTE02
      Text in Illustration
      *1 DLC3
      *a

      Front view of wire harness connector

      (to Millimeter Wave Radar Sensor Assembly)

      Measure the resistance according to the value(s) in the table below.

      Standard Resistance
      Tester Connection Condition Specified Condition Purpose
      A55-4 (CA1P) - H29-4 (CG) Cable disconnected from negative (-) auxiliary battery terminal 200 Ω or higher

      Below 200 Ω:

      CANH ground short

      A55-3 (CA1N) - H29-4 (CG) Cable disconnected from negative (-) auxiliary battery terminal 200 Ω or higher

      Below 200 Ω:

      CANL ground short

      A55-4 (CA1P) - H29-16 (BAT) Cable disconnected from negative (-) auxiliary battery terminal 6 kΩ or higher

      Below 6 kΩ:

      CANH +B short

      A55-3 (CA1N) - H29-16 (BAT) Cable disconnected from negative (-) auxiliary battery terminal 6 kΩ or higher

      Below 6 kΩ:

      CANL +B short

      Tech Tips


      • It is only necessary to perform the inspection in the above table for the result (short circuit) that was obtained in the Check Sub Bus 13 inspection.

      • Find the necessary inspection from the Purpose column that matches the result in the Result column from the Check Sub Bus 13 inspection.


    OK
    NG
  18. CHECK FOR SHORT IN SUB BUS 13 LINE (LANE DEPARTURE WARNING CAMERA)


    1. A0005MCE02
      Text in Illustration
      *1 DLC3
      *a

      Front view of wire harness connector

      (to Lane Departure Warning Camera)

      Disconnect the T12 lane departure warning camera connector.

    2. Measure the resistance according to the value(s) in the table below.

      Standard Resistance
      Tester Connection Condition Specified Condition Purpose
      T12-6 (CA1P) - T12-11 (GND) Cable disconnected from negative (-) auxiliary battery terminal 200 Ω or higher

      Below 200 Ω:

      CANH ground short

      T12-12 (CA1N) - T12-11 (GND)
      T12-6 (CA1P) - H29-16 (BAT) Cable disconnected from negative (-) auxiliary battery terminal 6 kΩ or higher

      Below 6 kΩ:

      CANH +B short

      T12-12 (CA1N) - H29-16 (BAT)

      Tech Tips


      • It is only necessary to perform the inspection in the above table for the result (short circuit) that was obtained in the Check Sub Bus 15 inspection.

      • Find the necessary inspection from the Purpose column that matches the result in the Result column from the Check Sub Bus 15 inspection.


    OK
    NG