Click here

CAN COMMUNICATION SYSTEM(w/o Central Gateway ECU) PRECAUTION

Click here
Click here
Click here
  1. NOTICE FOR INITIALIZATION

    Note:

    When disconnecting the cable from the negative (-) auxiliary battery terminal, initialize the following systems after the cable is reconnected.

    System See Procedure
    Parking Assist Monitor System (w/ Parallel Parking Assist Function)

    Click here

    Parking Assist Monitor System (w/o Parallel Parking Assist Function)
    Power Trunk Lid System
  2. CAN COMMUNICATION SYSTEM TROUBLESHOOTING


    1. Because the order of diagnosis is important to allow correct diagnosis, make sure to begin troubleshooting using How to Proceed with Troubleshooting when CAN communication system related DTCs are output (Click here).

  3. PRECAUTIONS FOR STEERING SYSTEM HANDLING


    1. Be careful when replacing parts. Incorrect replacement could affect the performance of the steering system and result in hazardous driving.

  4. PRECAUTIONS FOR SRS AIRBAG SYSTEM HANDLING


    1. This vehicle is equipped with a Supplemental Restraint System (SRS) which includes parts such as airbags for the driver and front passenger. Failure to carry out service operations in the correct sequence could cause unexpected SRS deployment during servicing and may cause a serious accident. Before servicing (including removal or installation of parts, inspection or replacement), be sure to read Precaution for SRS (Click here).

  5. BUS LINE REPAIR


    1. A0009IO

      After repairing a bus line with solder, wrap the repaired part with electrical tape.

      Note:
      • The CANL bus line and CANH bus line must be installed together at all times.

      • When installing, make sure that these lines are twisted, because CAN bus lines are likely to be influenced by electrical noise if the bus lines are not twisted.

      • Leave approximately 80 mm (3.15 in.) loose in the twisted wires around the connector.

      • When repairing the CAN bus lines, do not change the length of the lines. (Make sure that the length of the CANH bus line and CANL bus line are the same.)

    2. A0009L0E02

      Do not use bypass wiring between connectors.

      Table 1. Text in Illustration
      *a Bypass Wire
      Note:
      • The ability of the twisted bus lines to resist interference will be lost if bypass wiring is used.

      • Do not use a twisted pair of wires for bypass wiring.

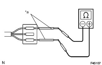
  6. CONNECTOR HANDLING


    1. A0005NLE22

      When checking resistance with a tester, insert the tester probes from the backside (harness side) of the connector.

      Table 2. Text in Illustration
      *a Tester Probe
    2. A0004ODE07

      Use service wires to check the connector if it is impossible to check continuity from the rear of the connector.

      Table 3. Text in Illustration
      *a Service Wire
  7. PRECAUTIONS FOR INSPECTING OR REPLACING CAN JUNCTION CONNECTOR


    1. If the CAN junction connector is removed from the vehicle for inspection or replacement, make sure to install the CAN junction connector and all wire harnesses to their original locations with tape and clamps.

  8. PRECAUTIONS WHEN REPLACING A GATEWAY FUNCTION EQUIPPED ECU (SUB BUS MONITOR ECU) WITH A USED ONE FROM ANOTHER VEHICLE


    1. When a gateway function equipped ECU (main body ECU (multiplex network body ECU)) that was previously installed on another vehicle is used as a replacement part, it is necessary to initialize the connection information stored in the ECU.

      Note:

      If the connection information stored in a gateway function equipped ECU that was previously installed on another vehicle is different from the actual ECUs and sensors connected to the corresponding bus, communication DTCs will be detected.

      Tip:

      When an ECU is replaced with one from a vehicle with the same options and specifications (the same connections to the corresponding bus), initialization of ECU connection information is not necessary.

    2. Initialize the connection information of a gateway function equipped ECU (sub bus monitor ECU).

    3. Connect the GTS to the DLC3.

    4. Turn the power switch on (IG).

    5. Turn the GTS on.

    6. Enter the following menus: Body Electrical / Main Body / Utility

    7. Select Initialization from Utility to initialize the ECU.

  9. PRECAUTIONS FOR WHEN GATEWAY FUNCTION EQUIPPED ECU (SUB BUS MONITOR ECU) DETECTS COMMUNICATION DTCS FOR ECUS NOT CONNECTED TO THE ECU


    1. Refer to Precautions When Replacing a Gateway Function Equipped ECU (Sub Bus Monitor ECU) with a Used One from Another Vehicle and initialize the connection information of the ECU.

    2. Clear the DTCs and check that no DTCs are output.