Click here

CAN COMMUNICATION SYSTEM(w/ Central Gateway ECU) Check Bus 2 Lines for Short Circuit

Click here
Click here
DTC Code DTC Name
  Check Bus 2 Lines for Short Circuit
Click here

DESCRIPTION

There may be a short circuit between the bus 2 main lines and/or CAN branch lines when the resistance between terminals 18 (CA4H) and 17 (CA4L) of the central gateway ECU is below 54 Ω.

Symptom Trouble Area
Resistance between terminals 18 (CA4H) and 17 (CA4L) of central gateway ECU is below 54 Ω.
  • Short in bus 2 main lines

  • Short in bus 2 branch lines

  • Combination meter assembly

  • Main body ECU (multiplex network body ECU)

  • Steering sensor

  • Hybrid vehicle control ECU assembly

  • Brake booster with master cylinder assembly (skid control ECU)

  • Power steering ECU with motor assembly

  • Airbag sensor assembly

  • Air conditioning amplifier assembly

  • ECM

  • Certification ECU (smart key ECU assembly)

  • Clearance warning ECU assembly

  • Headlight leveling ECU (headlight swivel ECU assembly)

  • Central gateway ECU

  • CAN junction connector LH1

  • CAN junction connector RH1

A00091KE05
A0004YEE09
A000671E03
Click here

WIRING DIAGRAM

Click here

CAUTION / NOTICE / HINT

Note:
  • Before measuring the resistance of the CAN bus, turn the power switch off and leave the vehicle for 1 minute or more without operating the key or any switches, or opening or closing the doors. After that, disconnect the cable from the negative (-) auxiliary battery terminal and leave the vehicle for 1 minute or more before measuring the resistance.

  • After turning the power switch off, waiting time may be required before disconnecting the cable from the negative (-) auxiliary battery terminal. Therefore, make sure to read the disconnecting the cable from the negative (-) auxiliary battery terminal notices before proceeding with work (Click here).

  • Because the order of diagnosis is important to allow correct diagnosis, make sure to begin troubleshooting using How to Proceed with Troubleshooting when CAN communication system related DTCs are output (Click here).

  • After performing repairs, perform the DTC check procedure and confirm that the DTCs are not output again.

  • DTC check procedure: Turn the power switch on (IG), turn the cruise control main switch on, turn the blind spot monitor main switch on, turn the LDA main switch on, wait at least 60 seconds and then drive the vehicle at a speed of 36 km/h (22 mph) or more for 5 minutes or more.

  • After the repair, perform the CAN bus check and check that all the ECUs and sensors connected to the CAN communication system are displayed (Click here).

  • If the main body ECU (multiplex network body ECU) is replaced, refer to Service Bulletin.

Tip:
  • Operating the power switch, any other switches or a door triggers related ECU and sensor communication on the CAN. This communication will cause the resistance value to change.

  • Even after DTCs are cleared, if a DTC is stored again after driving the vehicle for a while, the malfunction may be occurring due to vibration of the vehicle. In such a case, wiggling the ECUs or wire harness while performing the inspection below may help determine the cause of the malfunction.

  • Connectors that connect to the CAN junction connector can be distinguished by the color of their CAN bus lines. When the connectors have been disconnected from the CAN junction connector, reconnecting the connectors to non-original positions on the CAN junction connector does not affect system performance. However, it is preferred to reconnect the connectors to their original positions to avoid negative effects on the wiring such as tension on the wiring harnesses, and to make future maintenance easier.

Click here

PROCEDURE


  1. Click here

    CHECK FOR SHORT IN CAN BUS LINES (CENTRAL GATEWAY ECU)


    1. Disconnect the cable from the negative (-) auxiliary battery terminal.

    2. A00073PE01

      Disconnect the H195 central gateway ECU connector.

    3. Measure the resistance according to the value(s) in the table below.

      Standard Resistance
      Tester Connection Condition Specified Condition
      H195-18 (CA4H) - H195-17 (CA4L) Cable disconnected from negative (-) auxiliary battery terminal 54 to 69 Ω
      Table 1. Text in Illustration
      *a

      Front view of wire harness connector

      (to Central Gateway ECU)

      Result
      Result Proceed to
      OK A
      NG (for LHD) B
      NG (for RHD) C

  2. Click here

    CHECK FOR SHORT IN CAN BUS LINES (CENTRAL GATEWAY ECU BRANCH LINE)


    1. A0006MGE02

      Disconnect the H208 central gateway ECU branch line connector.

      Tip:
      • Connectors that connect to the CAN junction connector can be distinguished by the color of their CAN bus lines.

      • Reconnecting the connectors to non-original positions on the CAN junction connector does not affect system performance. However, it is preferred to reconnect the connectors to their original positions to avoid negative effects on the wiring such as tension on the wiring harnesses, and to make future maintenance easier.

      Table 2. Text in Illustration
      *a

      Rear view of wire harness connector

      (to CAN Junction Connector RH1)

      *b to Central Gateway ECU
    2. A00073PE01

      Measure the resistance according to the value(s) in the table below.

      Standard Resistance
      Tester Connection Condition Specified Condition
      H195-18 (CA4H) - H195-17 (CA4L) Cable disconnected from negative (-) auxiliary battery terminal 1 MΩ or higher
      Table 3. Text in Illustration
      *a

      Front view of wire harness connector

      (to Central Gateway ECU)


    • OKClick here
    • NG

      REPAIR OR REPLACE CAN BRANCH LINE CONNECTED TO CENTRAL GATEWAY ECU

  3. Click here

    CHECK FOR SHORT IN CAN BUS LINES (CAN J/C LH1)


    1. Reconnect the H208 central gateway ECU branch line connector.

    2. A0003N4E02

      Disconnect the H214 CAN junction connector LH1.

      Table 4. Text in Illustration
      *a

      Front view of wire harness connector

      (to CAN Junction Connector LH1)

      *b to Headlight Leveling ECU (Headlight Swivel ECU Assembly)
      *c to Hybrid Vehicle Control ECU Assembly *d to Steering Sensor
      *e to Main Body ECU (Multiplex Network Body ECU) *f to Brake Booster with Master Cylinder Assembly (Skid Control ECU)
      *g to Combination Meter Assembly *h to CAN Junction Connector RH1
      *i to Power Steering ECU with Motor Assembly - -
    3. Measure the resistance according to the value(s) in the table below.

      Standard Resistance
      Tester Connection Condition Specified Condition Connected to
      H214-1 (CANH) - H214-11 (CANL) Cable disconnected from negative (-) auxiliary battery terminal 200 Ω or higher Headlight leveling ECU (headlight swivel ECU assembly)
      H214-3 (CANH) - H214-13 (CANL) Cable disconnected from negative (-) auxiliary battery terminal 200 Ω or higher Hybrid vehicle control ECU assembly
      H214-4 (CANH) - H214-14 (CANL) Cable disconnected from negative (-) auxiliary battery terminal 200 Ω or higher Steering sensor
      H214-5 (CANH) - H214-15 (CANL) Cable disconnected from negative (-) auxiliary battery terminal 200 Ω or higher Main body ECU (multiplex network body ECU)
      H214-7 (CANH) - H214-17 (CANL) Cable disconnected from negative (-) auxiliary battery terminal 200 Ω or higher Brake booster with master cylinder assembly (skid control ECU)
      H214-8 (CANH) - H214-18 (CANL) Cable disconnected from negative (-) auxiliary battery terminal 108 to 132 Ω Combination meter assembly
      H214-9 (CANH) - H214-19 (CANL) Cable disconnected from negative (-) auxiliary battery terminal 108 to 132 Ω CAN junction connector RH1
      H214-10 (CANH) - H214-20 (CANL) Cable disconnected from negative (-) auxiliary battery terminal 200 Ω or higher Power steering ECU with motor assembly
      Result
      Symptom Proceed to
      OK A
      NG (CAN junction connector RH1 main lines) B
      NG (Combination meter assembly main lines) C
      NG (ECU or sensor branch lines) D

  4. Click here

    CHECK FOR SHORT IN CAN BUS LINES (BRANCH LINE)


    1. Reconnect the H214 CAN junction connector LH1.

    2. A00073PE01

      Connect the probes of an electrical tester to terminals 18 (CA4H) and 17 (CA4L) of the H195 central gateway ECU connector.

      Table 5. Text in Illustration
      *a

      Front view of wire harness connector

      (to Central Gateway ECU)

    3. A0006UBE04

      While observing the resistance value shown on the electrical tester, disconnect connectors (H123, H127, H132 and H199) from the CAN junction connector RH1 one by one until the resistance becomes normal (between 54 and 69 Ω).

      Tip:
      • Disconnect the branch line connectors other than those of the central gateway ECU.

      • Connectors that connect to the CAN junction connector can be distinguished by the color of their CAN bus lines.

      • Reconnecting the connectors to non-original positions on the CAN junction connector does not affect system performance. However, it is preferred to reconnect the connectors to their original positions to avoid negative effects on the wiring such as tension on the wiring harnesses, and to make future maintenance easier.

      Table 6. Text in Illustration
      *a

      Component without harness connected

      (CAN Junction Connector RH1)

      - -
      Table 7. Wiring Color
      CAN Junction Connector RH1 Side Code Color (CANH Side) Color (CANL Side)
      Central gateway ECU H208 BE W
      Clearance warning ECU assembly H132 P W
      Certification ECU (smart key ECU assembly) H127 V W
      Airbag sensor assembly H199 Y W
      Air conditioning amplifier assembly H123 G W
      CAN main bus line (bus line connecting CAN junction connector LH1 and CAN junction connector RH1) H122 R W
      ECM H125 B W
      Note:

      Do not reconnect the disconnected connectors until this inspection is complete because there may be a short in 2 or more branch lines.

      Result
      Symptom Proceed to
      The resistance is still below 54 Ω when all the specified connectors are disconnected. (There are no shorts between a pair of branch lines.) A
      The resistance becomes normal (between 54 and 69 Ω) when a connector is disconnected. (There is a short between one or more pairs of branch lines.) B
    4. When there is a short in one or more of the branch lines:


      1. Reconnect all of the connectors to the CAN junction connector, except for the one that was disconnected last (the short-circuited bus line). Check that the resistance shown on the tester is normal (between 54 and 69 Ω) to confirm that there is a short in the one branch line only.


  5. Click here

    CHECK FOR SHORT IN CAN BUS LINES (CAN J/C LH1 - CAN J/C RH1)


    1. Reconnect all of the connectors to the CAN junction connector RH1.

    2. A0007LQE02

      Disconnect the H122 CAN main bus line connector.

      Tip:
      • Connectors that connect to the CAN junction connector can be distinguished by the color of their CAN bus lines.

      • Reconnecting the connectors to non-original positions on the CAN junction connector does not affect system performance. However, it is preferred to reconnect the connectors to their original positions to avoid negative effects on the wiring such as tension on the wiring harnesses, and to make future maintenance easier.

      Table 8. Text in Illustration
      *a

      Rear view of wire harness connector

      (to CAN Junction Connector RH1)

      *b to CAN Junction Connector LH1
    3. A00073PE01

      Measure the resistance according to the value(s) in the table below.

      Standard Resistance
      Tester Connection Condition Specified Condition
      H195-18 (CA4H) - H195-17 (CA4L) Cable disconnected from negative (-) auxiliary battery terminal 108 to 132 Ω
      Table 9. Text in Illustration
      *a

      Front view of wire harness connector

      (to Central Gateway ECU)


    • OK

      REPAIR OR REPLACE CAN MAIN BUS LINES (CAN J/C LH1 - CAN J/C RH1)

    • NGClick here
  6. Click here

    CHECK FOR SHORT IN CAN BUS LINES (CAN J/C RH1)


    1. Reconnect the H122 CAN main bus line connector.

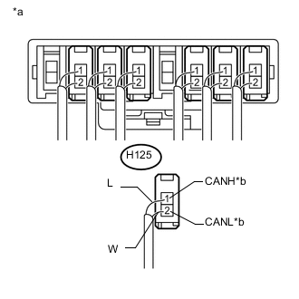
    2. A000418E02

      Disconnect the H125 ECM main bus line connector.

      Tip:
      • Connectors that connect to the CAN junction connector can be distinguished by the color of their CAN bus lines.

      • Reconnecting the connectors to non-original positions on the CAN junction connector does not affect system performance. However, it is preferred to reconnect the connectors to their original positions to avoid negative effects on the wiring such as tension on the wiring harnesses, and to make future maintenance easier.

      Table 10. Text in Illustration
      *a

      Rear view of wire harness connector

      (to CAN Junction Connector RH1)

      *b to ECM
    3. A00073PE01

      Measure the resistance according to the value(s) in the table below.

      Standard Resistance
      Tester Connection Condition Specified Condition
      H195-18 (CA4H) - H195-17 (CA4L) Cable disconnected from negative (-) auxiliary battery terminal 108 to 132 Ω
      Table 11. Text in Illustration
      *a

      Front view of wire harness connector

      (to Central Gateway ECU)


    • OKClick here
    • NG

      REPLACE CAN JUNCTION CONNECTOR RH1

  7. Click here

    CHECK FOR SHORT IN CAN BUS LINES (ECM MAIN BUS LINE)


    1. Reconnect the H125 ECM main bus line connector.

    2. Disconnect the A22 ECM connector.

    3. A00073PE01

      Measure the resistance according to the value(s) in the table below.

      Standard Resistance
      Tester Connection Condition Specified Condition
      H195-18 (CA4H) - H195-17 (CA4L) Cable disconnected from negative (-) auxiliary battery terminal 108 to 132 Ω
      Table 12. Text in Illustration
      *a

      Front view of wire harness connector

      (to Central Gateway ECU)


    • OK

      REPLACE ECM (Click here)

    • NG

      REPAIR OR REPLACE CAN MAIN BUS LINES (ECM MAIN LINES)

  8. Click here

    CHECK FOR SHORT IN CAN BUS LINES (COMBINATION METER ASSEMBLY MAIN BUS LINE)


    1. Reconnect the H214 CAN junction connector LH1.

    2. A000454E03

      Disconnect the H14 combination meter assembly connector.

    3. Measure the resistance according to the value(s) in the table below.

      Standard Resistance
      Tester Connection Condition Specified Condition
      H14-29 (CANH) - H14-30 (CANL) Cable disconnected from negative (-) auxiliary battery terminal 108 to 132 Ω
      Table 13. Text in Illustration
      *a

      Front view of wire harness connector

      (to Combination Meter Assembly)


    • OK

      REPLACE COMBINATION METER ASSEMBLY (Click here)

    • NG

      REPAIR OR REPLACE CAN MAIN BUS LINES (COMBINATION METER ASSEMBLY MAIN LINES)

  9. Click here

    CHECK FOR SHORT IN CAN BUS LINES (CENTRAL GATEWAY ECU BRANCH LINE)


    1. A0009A6E02

      Disconnect the H208 central gateway ECU branch line connector.

      Tip:
      • Connectors that connect to the CAN junction connector can be distinguished by the color of their CAN bus lines.

      • Reconnecting the connectors to non-original positions on the CAN junction connector does not affect system performance. However, it is preferred to reconnect the connectors to their original positions to avoid negative effects on the wiring such as tension on the wiring harnesses, and to make future maintenance easier.

      Table 14. Text in Illustration
      *a

      Rear view of wire harness connector

      (to CAN Junction Connector RH1)

      *b to Central Gateway ECU
    2. A00073PE01

      Measure the resistance according to the value(s) in the table below.

      Standard Resistance
      Tester Connection Condition Specified Condition
      H195-18 (CA4H) - H195-17 (CA4L) Cable disconnected from negative (-) auxiliary battery terminal 1 MΩ or higher
      Table 15. Text in Illustration
      *a

      Front view of wire harness connector

      (to Central Gateway ECU)


    • OKClick here
    • NG

      REPAIR OR REPLACE CAN BRANCH LINE CONNECTED TO CENTRAL GATEWAY ECU

  10. Click here

    CHECK FOR SHORT IN CAN BUS LINES (BRANCH LINE)


    1. Reconnect the H208 central gateway ECU branch line connector.

    2. A00073PE01

      Connect the probes of an electrical tester to terminals 18 (CA4H) and 17 (CA4L) of the H195 central gateway ECU connector.

      Table 16. Text in Illustration
      *a

      Front view of wire harness connector

      (to Central Gateway ECU)

    3. A00082RE02
      A0008EGE12
      A0003FVE02

      While observing the resistance value shown on the electrical tester, disconnect connectors (H118, H120, H121, H123, H127, H130, H131, H132, H200 and H207) from the CAN junction connector LH1 and CAN junction connector RH1 one by one until the resistance becomes normal (between 54 and 69 Ω).

      Tip:
      • Disconnect the branch line connectors other than those of the central gateway ECU.

      • Connectors that connect to the CAN junction connector can be distinguished by the color of their CAN bus lines.

      • Reconnecting the connectors to non-original positions on the CAN junction connector does not affect system performance. However, it is preferred to reconnect the connectors to their original positions to avoid negative effects on the wiring such as tension on the wire harnesses, and to make future maintenance easier.

      Table 17. Text in Illustration
      *1 Clearance Warning ECU Assembly *2 Steering Sensor
      *3 Certification ECU (Smart Key ECU Assembly) *4 Central Gateway ECU
      *5 Combination Meter Assembly *6 Headlight Leveling ECU (Headlight Swivel ECU Assembly)
      *7 Brake Booster with Master Cylinder Assembly (Skid Control ECU) *8 Air Conditioning Amplifier Assembly
      *9 Power Steering ECU with Motor Assembly *10 ECM
      *11 Airbag Sensor Assembly *12 Main Body ECU (Multiplex Network Body ECU)
      *13 Hybrid Vehicle Control ECU Assembly *14 CAN Junction Connector RH1
      *15 CAN Junction Connector LH1 - -
      Table 18. Text in Illustration
      *a

      Component without harness connected

      (CAN Junction Connector LH1)

      - -
      Table 19. Wiring Color
      CAN Junction Connector LH1 Side Code Color (CANH Side) Color (CANL Side)
      Hybrid vehicle control ECU assembly H130 B W
      CAN main bus line (bus line connecting CAN junction connector LH1 and CAN junction connector RH1) H116 R W
      Air conditioning amplifier assembly H123 G W
      ECM H125 L W
      Airbag sensor assembly H207 Y W
      Main body ECU (multiplex network body ECU) H118 V W
      Power steering ECU with motor assembly H121 P W
      Table 20. Text in Illustration
      *a

      Component without harness connected

      (CAN Junction Connector RH1)

      - -
      Table 21. Wiring Color
      CAN Junction Connector RH1 Side Code Color (CANH Side) Color (CANL Side)
      Steering sensor H120 BE W
      Clearance warning ECU assembly H132 P W
      Certification ECU (smart key ECU assembly) H127 V W
      Central gateway ECU H208 Y W
      Headlight leveling ECU (headlight swivel ECU assembly) H200 L W
      Combination meter assembly H117 G W
      CAN main bus line (bus line connecting CAN junction connector LH1 and CAN junction connector RH1) H122 R W
      Brake booster with master cylinder assembly (skid control ECU) H131 B W
      Note:

      Do not reconnect the disconnected connectors until this inspection is complete because there may be a short in 2 or more branch lines.

      Result
      Symptom Proceed to
      The resistance is still below 54 Ω when all the specified connectors are disconnected. (There are no shorts between a pair of branch lines.) A
      The resistance becomes normal (between 54 and 69 Ω) when a connector is disconnected. (There is a short between one or more pairs of branch lines.) B
    4. When there is a short in one or more of the branch lines:


      1. Reconnect all of the connectors to the CAN junction connector, except for the one that was disconnected last (the short-circuited bus line). Check that the resistance shown on the electrical tester is normal (between 54 and 69 Ω) to confirm that there is a short in the one branch line only.


  11. Click here

    CHECK FOR SHORT IN CAN BUS LINES (COMBINATION METER ASSEMBLY MAIN BUS LINE)


    1. Reconnect all of the connectors to the CAN junction connector LH1 and CAN junction connector RH1.

    2. A00081OE02

      Disconnect the H117 combination meter assembly main bus line connector.

      Tip:
      • Connectors that connect to the CAN junction connector can be distinguished by the color of their CAN bus lines.

      • Reconnecting the connectors to non-original positions on the CAN junction connector does not affect system performance. However, it is preferred to reconnect the connectors to their original positions to avoid negative effects on the wiring such as tension on the wiring harnesses, and to make future maintenance easier.

      Table 22. Text in Illustration
      *a

      Rear view of wire harness connector

      (to CAN Junction Connector RH1)

      *b to Combination Meter Assembly
    3. A00073PE01

      Measure the resistance according to the value(s) in the table below.

      Standard Resistance
      Tester Connection Condition Specified Condition
      H195-18 (CA4H) - H195-17 (CA4L) Cable disconnected from negative (-) auxiliary battery terminal 108 to 132 Ω
      Table 23. Text in Illustration
      *a

      Front view of wire harness connector

      (to Central Gateway ECU)


  12. Click here

    CHECK FOR SHORT IN CAN BUS LINES (COMBINATION METER ASSEMBLY)


    1. Reconnect the H117 combination meter assembly main bus line connector.

    2. Disconnect the H14 combination meter assembly connector.

    3. A00073PE01

      Measure the resistance according to the value(s) in the table below.

      Standard Resistance
      Tester Connection Condition Specified Condition
      H195-18 (CA4H) - H195-17 (CA4L) Cable disconnected from negative (-) auxiliary battery terminal 108 to 132 Ω
      Table 24. Text in Illustration
      *a

      Front view of wire harness connector

      (to Central Gateway ECU)

      Tip:

      If the resistance becomes normal (between 108 to 132 Ω) when the connector is disconnected, there may be a short in the combination meter assembly.


    • OK

      REPLACE COMBINATION METER ASSEMBLY (Click here)

    • NG

      REPAIR OR REPLACE CAN MAIN BUS LINES (COMBINATION METER ASSEMBLY MAIN LINES)

  13. Click here

    CHECK FOR SHORT IN CAN BUS LINES (ECM MAIN BUS LINE)


    1. Reconnect the H117 combination meter assembly main bus line connector.

    2. A000853E02

      Disconnect the H125 ECM main bus line connector.

      Tip:
      • Connectors that connect to the CAN junction connector can be distinguished by the color of their CAN bus lines.

      • Reconnecting the connectors to non-original positions on the CAN junction connector does not affect system performance. However, it is preferred to reconnect the connectors to their original positions to avoid negative effects on the wiring such as tension on the wiring harnesses, and to make future maintenance easier.

      Table 25. Text in Illustration
      *a

      Rear view of wire harness connector

      (to CAN Junction Connector LH1)

      *b to ECM
    3. A00073PE01

      Measure the resistance according to the value(s) in the table below.

      Standard Resistance
      Tester Connection Condition Specified Condition
      H195-18 (CA4H) - H195-17 (CA4L) Cable disconnected from negative (-) auxiliary battery terminal 108 to 132 Ω
      Table 26. Text in Illustration
      *a

      Front view of wire harness connector

      (to Central Gateway ECU)


  14. Click here

    CHECK FOR SHORT IN CAN BUS LINES (ECM)


    1. Reconnect the H125 ECM main bus line connector.

    2. Disconnect the A22 ECM connector.

    3. A00073PE01

      Measure the resistance according to the value(s) in the table below.

      Standard Resistance
      Tester Connection Condition Specified Condition
      H195-18 (CA4H) - H195-17 (CA4L) Cable disconnected from negative (-) auxiliary battery terminal 108 to 132 Ω
      Table 27. Text in Illustration
      *a

      Front view of wire harness connector

      (to Central Gateway ECU)


    • OK

      REPLACE ECM (Click here)

    • NG

      REPAIR OR REPLACE CAN MAIN BUS LINES (ECM MAIN LINES)

  15. Click here

    CHECK FOR SHORT IN CAN BUS LINES (CAN J/C RH1)


    1. Reconnect the H125 ECM main bus line connector.

    2. A0005IXE02

      Disconnect the H122 CAN main bus line connector.

      Tip:
      • Connectors that connect to the CAN junction connector can be distinguished by the color of their CAN bus lines.

      • Reconnecting the connectors to non-original positions on the CAN junction connector does not affect system performance. However, it is preferred to reconnect the connectors to their original positions to avoid negative effects on the wiring such as tension on the wiring harnesses, and to make future maintenance easier.

      Table 28. Text in Illustration
      *a

      Rear view of wire harness connector

      (to CAN Junction Connector RH1)

      *b to CAN Junction Connector LH1
    3. A00073PE01

      Measure the resistance according to the value(s) in the table below.

      Standard Resistance
      Tester Connection Condition Specified Condition
      H195-18 (CA4H) - H195-17 (CA4L) Cable disconnected from negative (-) auxiliary battery terminal 108 to 132 Ω
      Table 29. Text in Illustration
      *a

      Front view of wire harness connector

      (to Central Gateway ECU)


    • OKClick here
    • NG

      REPLACE CAN JUNCTION CONNECTOR RH1

  16. Click here

    CHECK FOR SHORT IN CAN BUS LINES (CAN J/C LH1 - CAN J/C RH1)


    1. Reconnect the H122 CAN main bus line connector.

    2. A0009FAE02

      Disconnect the H116 CAN main bus line connector.

      Tip:
      • Connectors that connect to the CAN junction connector can be distinguished by the color of their CAN bus lines.

      • Reconnecting the connectors to non-original positions on the CAN junction connector does not affect system performance. However, it is preferred to reconnect the connectors to their original positions to avoid negative effects on the wiring such as tension on the wiring harnesses, and to make future maintenance easier.

      Table 30. Text in Illustration
      *a

      Rear view of wire harness connector

      (to CAN Junction Connector LH1)

      *b to CAN Junction Connector RH1
    3. A00073PE01

      Measure the resistance according to the value(s) in the table below.

      Standard Resistance
      Tester Connection Condition Specified Condition
      H195-18 (CA4H) - H195-17 (CA4L) Cable disconnected from negative (-) auxiliary battery terminal 108 to 132 Ω
      Table 31. Text in Illustration
      *a

      Front view of wire harness connector

      (to Central Gateway ECU)


    • OK

      REPLACE CAN JUNCTION CONNECTOR LH1

    • NG

      REPAIR OR REPLACE CAN MAIN BUS LINES (CAN J/C LH1 - CAN J/C RH1)

  17. Click here

    CHECK FOR SHORT IN CAN BUS LINES (ECU, SENSOR)


    1. Reconnect all of the connectors to the CAN junction connector LH1 and CAN junction connector RH1.

    2. Disconnect the connector that includes terminals CANH and CANL from the ECU or sensor to which the short circuited branch line is connected (Click here).

    3. A00073PE01

      Measure the resistance according to the value(s) in the table below.

      Standard Resistance
      Tester Connection Condition Specified Condition
      H195-18 (CA4H) - H195-17 (CA4L) Cable disconnected from negative (-) auxiliary battery terminal 54 to 69 Ω
      Table 32. Text in Illustration
      *a

      Front view of wire harness connector

      (to Central Gateway ECU)

      Tip:

      If the resistance becomes normal (between 54 and 69 Ω) when the connector is disconnected from the ECU or sensor, there may be a short in the ECU or sensor.


    • OK

      REPLACE CORRESPONDING ECU OR SENSOR

    • NG

      REPAIR OR REPLACE CORRESPONDING ECU OR SENSOR BRANCH LINES OR CONNECTOR