CAN COMMUNICATION SYSTEM(w/ Central Gateway ECU) Clearance Warning ECU Communication Stop Mode

DESCRIPTION

Detection Item Symptom Trouble Area
Clearance Warning ECU Communication Stop Mode

Either condition is met:


  • "Clearance Warning (Clearance Sonar1)" is not displayed on the CAN Bus Check screen of the GTS Click here

  • Communication system DTCs (DTCs that start with U) that correspond to "Clearance Warning ECU Communication Stop Mode" in "DTC Combination Table" are output Click here


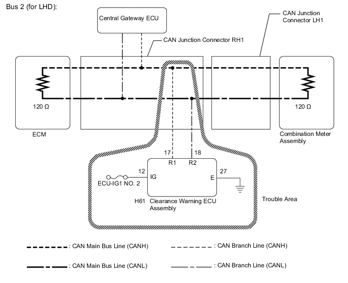
  • Clearance warning ECU assembly branch line or connector

  • Power source circuit of clearance warning ECU assembly

  • Clearance warning ECU assembly ground circuit

  • Clearance warning ECU assembly

WIRING DIAGRAM

A0005VJE06
A0005VJE07

CAUTION / NOTICE / HINT

Note


  • Before measuring the resistance of the CAN bus, turn the power switch off and leave the vehicle for 1 minute or more without operating the key or any switches, or opening or closing the doors. After that, disconnect the cable from the negative (-) auxiliary battery terminal and leave the vehicle for 1 minute or more before measuring the resistance.

  • After turning the power switch off, waiting time may be required before disconnecting the cable from the negative (-) auxiliary battery terminal. Therefore, make sure to read the disconnecting the cable from the negative (-) auxiliary battery terminal notices before proceeding with work Click here.

  • Because the order of diagnosis is important to allow correct diagnosis, make sure to begin troubleshooting using How to Proceed with Troubleshooting when CAN communication system related DTCs are output Click here.

  • After performing repairs, perform the DTC check procedure and confirm that the DTCs are not output again.

  • DTC check procedure: Turn the power switch on (IG) and wait at least 14 seconds.

  • After the repair, perform CAN bus check and check that all the ECUs and sensors connected to the CAN communication system are displayed Click here.

Tech Tips


  • Operating the power switch, any other switches or a door triggers related ECU and sensor communication on the CAN. This communication will cause the resistance value to change.

  • Even after DTCs are cleared, if a DTC is stored again after driving the vehicle for a while, the malfunction may be occurring due to vibration of the vehicle. In such a case, wiggling the ECUs or wire harness while performing the inspection below may help determine the cause of the malfunction.

PROCEDURE


  1. CHECK FOR OPEN IN CAN BUS LINES (CLEARANCE WARNING ECU ASSEMBLY BRANCH LINE)


    1. Disconnect the cable from the negative (-) auxiliary battery terminal.

    2. A00073YE01
      Text in Illustration
      *a

      Front view of wire harness connector

      (to Clearance Warning ECU Assembly)

      Disconnect the H61 clearance warning ECU assembly connector.

    3. Measure the resistance according to the value(s) in the table below.

      Standard Resistance
      Tester Connection Condition Specified Condition
      H61-17 (R1) - H61-18 (R2) Cable disconnected from negative (-) auxiliary battery terminal 54 to 69 Ω

    NG
    OK
  2. CHECK HARNESS AND CONNECTOR (POWER SOURCE CIRCUIT)


    1. A0003VAE03
      Text in Illustration
      *a

      Front view of wire harness connector

      (to Clearance Warning ECU Assembly)

      Measure the resistance according to the value(s) in the table below.

      Standard Resistance
      Tester Connection Condition Specified Condition
      H61-27 (E) - Body ground Cable disconnected from negative (-) auxiliary battery terminal Below 1 Ω
    2. Reconnect the cable to the negative (-) auxiliary battery terminal.

    3. A0006TIE01
      Text in Illustration
      *a

      Front view of wire harness connector

      (to Clearance Warning ECU Assembly)

      Measure the voltage according to the value(s) in the table below.

      Standard Voltage
      Tester Connection Condition Specified Condition
      H61-12 (IG) - Body ground Power switch on (IG) 11 to 14 V
      Result
      Result Proceed to
      OK (for LHD) A
      OK (for RHD) B
      NG C

    A
    B
    C