Click here

CAN COMMUNICATION SYSTEM(w/ Central Gateway ECU), Diagnostic DTC:U0208

Click here
Click here
DTC Code DTC Name
U0208 Lost Communication with "Seat Control Module A"
Click here

DESCRIPTION

DTC No. DTC Detection Condition Trouble Area
U0208
  • No communication from the front power seat switch LH (for LHD) continues.

  • No communication from the front power seat switch RH (for RHD) continues.


  • Front power seat switch LH branch line or connector (for LHD)

  • Power source circuit of front power seat switch LH (for LHD)

  • Front power seat switch LH ground circuit (for LHD)

  • Front power seat switch LH (for LHD)

  • Front power seat switch RH branch line or connector (for RHD)

  • Power source circuit of front power seat switch RH (for RHD)

  • Front power seat switch RH ground circuit (for RHD)

  • Front power seat switch RH (for RHD)

Tip:

This diagnosis procedure is for when DTC U0208 is output by the main body ECU (multiplex network body ECU) (GTS display: Main Body).

A0008CXE09
Click here

WIRING DIAGRAM

Click here

CAUTION / NOTICE / HINT

Note:
  • Before measuring the resistance of the CAN bus, turn the power switch off and leave the vehicle for 1 minute or more without operating the key or any switches, or opening or closing the doors. After that, disconnect the cable from the negative (-) auxiliary battery terminal and leave the vehicle for 1 minute or more before measuring the resistance.

  • After turning the power switch off, waiting time may be required before disconnecting the cable from the negative (-) auxiliary battery terminal. Therefore, make sure to read the disconnecting the cable from the negative (-) auxiliary battery terminal notices before proceeding with work (Click here).

  • Because the order of diagnosis is important to allow correct diagnosis, make sure to begin troubleshooting using How to Proceed with Troubleshooting when CAN communication system related DTCs are output (Click here).

  • After performing repairs, perform the DTC check procedure and confirm that the DTCs are not output again.

  • DTC check procedure: Turn the power switch on (IG) and wait at least 20 seconds.

  • After the repair, perform CAN bus check and check that all the ECUs and sensors connected to the CAN communication system are displayed (Click here).

Tip:
  • Operating the power switch, any other switches or a door triggers related ECU and sensor communication on the CAN. This communication will cause the resistance value to change.

  • Even after DTCs are cleared, if a DTC is stored again after driving the vehicle for a while, the malfunction may be occurring due to vibration of the vehicle. In such a case, wiggling the ECUs or wire harness while performing the inspection below may help determine the cause of the malfunction.

Click here

PROCEDURE


  1. Click here

    RECONFIRM DTC OUTPUT


    1. Reconfirm DTCs.

      Tip:

      If DTC U1002 is output from Main Body of the main body ECU (multiplex network body ECU), this indicates a sub bus 1 malfunction. Troubleshoot for DTC U1002 and check for malfunctions in the sub bus 1.

      Result
      Result Proceed to
      U1002 is not output from main body ECU (multiplex network body ECU) (GTS display: Main Body) A
      U1002 is output from main body ECU (multiplex network body ECU) (GTS display: Main Body) B

  2. Click here

    CHECK VEHICLE TYPE


    1. Check vehicle type.

      Result
      Result Proceed to
      for LHD A
      for RHD B

  3. Click here

    CHECK FOR OPEN IN SUB BUS 1 LINES (FRONT POWER SEAT SWITCH LH BRANCH LINE)


    1. Disconnect the cable from the negative (-) auxiliary battery terminal.

    2. A0003Y4E01

      Disconnect the X10 front power seat switch LH connector.

    3. Measure the resistance according to the value(s) in the table below.

      Standard Resistance
      Tester Connection Condition Specified Condition
      X10-8 (CANP) - X10-7 (CANN) Cable disconnected from negative (-) auxiliary battery terminal 54 to 69 Ω
      Table 1. Text in Illustration
      *a

      Front view of wire harness connector

      (to Front Power Seat Switch LH)


    • OKClick here
    • NG

      REPAIR OR REPLACE CAN BRANCH LINE OR CONNECTOR (FRONT POWER SEAT SWITCH LH)

  4. Click here

    CHECK HARNESS AND CONNECTOR (POWER SOURCE CIRCUIT)


    1. A00087LE04

      Disconnect the X9 front power seat switch LH connector.

    2. Measure the resistance according to the value(s) in the table below.

      Standard Resistance
      Tester Connection Condition Specified Condition
      X9-2 (GND) - Body ground Cable disconnected from negative (-) auxiliary battery terminal Below 1 Ω
    3. Reconnect the cable to the negative (-) auxiliary battery terminal.

    4. Measure the voltage according to the value(s) in the table below.

      Standard Voltage
      Tester Connection Condition Specified Condition
      X9-7 (+B) - Body ground Power switch off 11 to 14 V
      X10-12 (SYSB) - Body ground Power switch off 11 to 14 V
      Table 2. Text in Illustration
      *a

      Front view of wire harness connector

      (to Front Power Seat Switch LH)


    • OK

      REPLACE FRONT POWER SEAT SWITCH LH (Click here)

    • NG

      REPAIR OR REPLACE HARNESS OR CONNECTOR (POWER SOURCE CIRCUIT)

  5. Click here

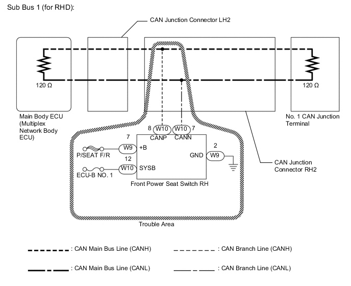
    CHECK FOR OPEN IN SUB BUS 1 LINES (FRONT POWER SEAT SWITCH RH BRANCH LINE)


    1. Disconnect the cable from the negative (-) auxiliary battery terminal.

    2. A000977E01

      Disconnect the W10 front power seat switch RH connector.

    3. Measure the resistance according to the value(s) in the table below.

      Standard Resistance
      Tester Connection Condition Specified Condition
      W10-8 (CANP) - W10-7 (CANN) Cable disconnected from negative (-) auxiliary battery terminal 54 to 69 Ω
      Table 3. Text in Illustration
      *a

      Front view of wire harness connector

      (to Front Power Seat Switch RH)


    • OKClick here
    • NG

      REPAIR OR REPLACE CAN BRANCH LINE OR CONNECTOR (FRONT POWER SEAT SWITCH RH)

  6. Click here

    CHECK HARNESS AND CONNECTOR (POWER SOURCE CIRCUIT)


    1. A00087LE02

      Disconnect the W9 front power seat switch RH connector.

    2. Measure the resistance according to the value(s) in the table below.

      Standard Resistance
      Tester Connection Condition Specified Condition
      W9-2 (GND) - Body ground Cable disconnected from negative (-) auxiliary battery terminal Below 1 Ω
    3. Reconnect the cable to the negative (-) auxiliary battery terminal.

    4. Measure the voltage according to the value(s) in the table below.

      Standard Voltage
      Tester Connection Condition Specified Condition
      W9-7 (+B) - Body ground Power switch off 11 to 14 V
      W10-12 (SYSB) - Body ground Power switch off 11 to 14 V
      Table 4. Text in Illustration
      *a

      Front view of wire harness connector

      (to Front Power Seat Switch RH)


    • OK

      REPLACE FRONT POWER SEAT SWITCH RH (Click here)

    • NG

      REPAIR OR REPLACE HARNESS OR CONNECTOR (POWER SOURCE CIRCUIT)