CAN COMMUNICATION SYSTEM(w/ Central Gateway ECU) SYSTEM DIAGRAM


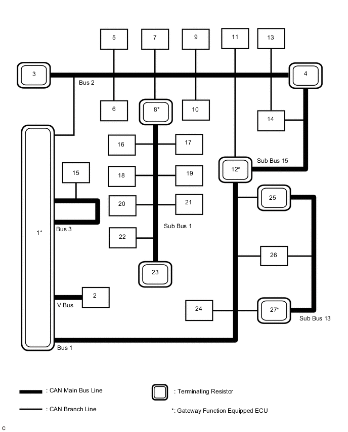
  1. OVERALL CAN BUS DIAGRAM (for LHD)


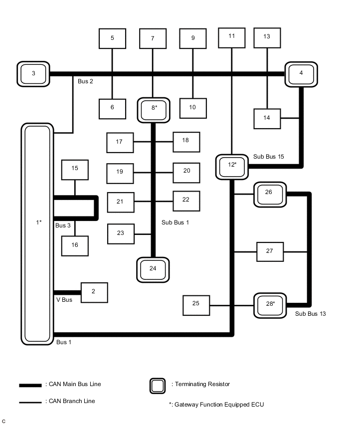
    1. The CAN communication system is composed of 7 buses.

      A00096RE02
      Text in Illustration
      No. ECU/Sensor Name No. ECU/Sensor Name
      1

      Central Gateway ECU

      (for V Bus, Bus 1, Bus 2 and Bus 3)

      2

      DLC3

      (for V Bus)

      3

      Combination Meter Assembly

      (for Bus 2)

      4

      ECM

      (for Bus 2 and Sub Bus 15)

      5

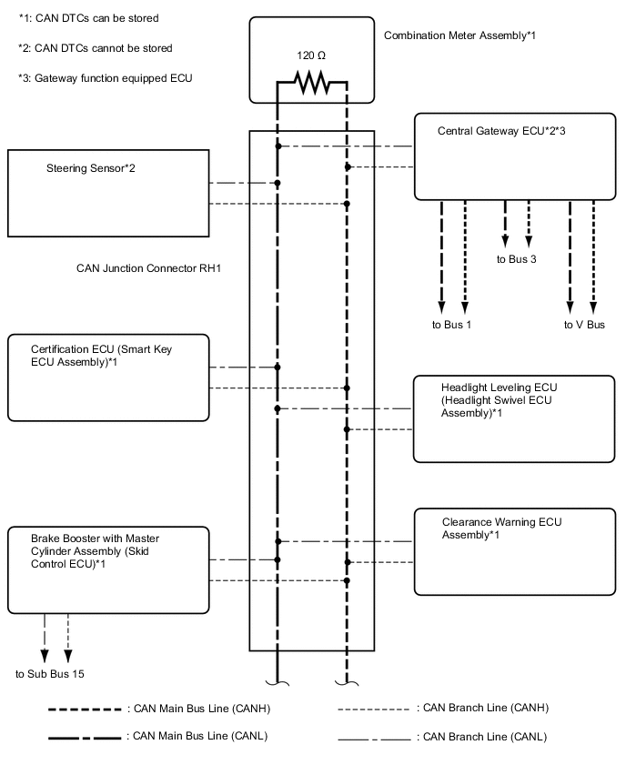
      Steering Sensor

      (for Bus 2)

      6

      Headlight Leveling ECU (Headlight Swivel ECU Assembly)

      (for Bus 2)

      7

      Power Steering ECU with Motor Assembly

      (for Bus 2)

      8

      Main Body ECU (Multiplex Network Body ECU)

      (for Bus 2 and Sub Bus 1)

      9

      Clearance Warning ECU Assembly

      (for Bus 2)

      10

      Air Conditioning Amplifier Assembly

      (for Bus 2)

      11

      Airbag Sensor Assembly

      (for Bus 2)

      12

      Hybrid Vehicle Control ECU Assembly

      (for Bus 1, Bus 2 and Sub Bus 15)

      13

      Certification ECU (Smart Key ECU Assembly)

      (for Bus 2)

      14

      Brake Booster with Master Cylinder Assembly (Skid Control ECU)

      (for Bus 2 and Sub Bus 15)

      15

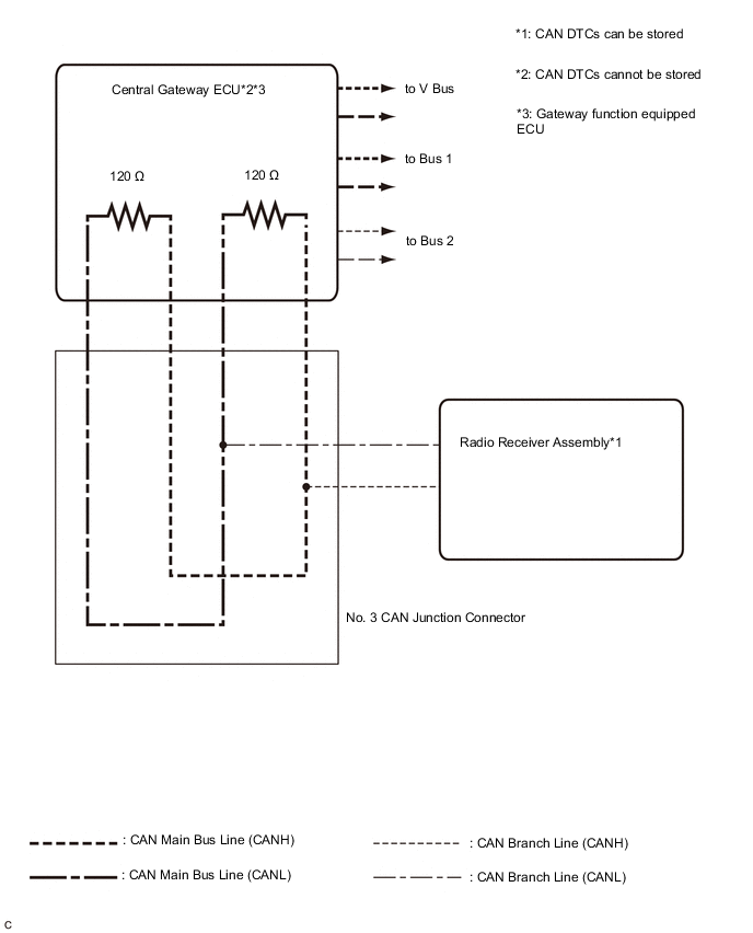
      Radio Receiver Assembly

      (for Bus 3)

      16

      Telematics Transceiver

      (w/ Manual (SOS) Switch)

      (for Bus 3)

      17

      Front Power Seat Switch LH

      (w/ Seat Position Memory System (for Driver Side))

      (for Sub Bus 1)

      18

      Luggage Closer Motor Assembly

      (w/ Power Trunk Lid System)

      (for Sub Bus 1)

      19

      Outer Mirror Control ECU Assembly RH

      (w/ Seat Position Memory System (for Driver Side))

      (for Sub Bus 1)

      20

      Front Power Seat Switch RH

      (w/ Seat Position Memory System (for Front Passenger Side))

      (for Sub Bus 1)

      21

      Outer Mirror Control ECU Assembly LH

      (w/ Seat Position Memory System (for Driver Side))

      (for Sub Bus 1)

      22

      Multiplex Tilt and Telescopic ECU

      (w/ Power Tilt and Power Telescopic Steering Column System)

      (for Sub Bus 1)

      23

      Rear Television Camera Assembly

      (w/ Parking Assist Monitor System without Parallel Parking Assist Function)

      (for Sub Bus 1)

      24

      No. 1 CAN Junction Terminal

      (for Sub Bus 1)

      25

      Blind Spot Monitor Sensor LH

      (w/ Blind Spot Monitor System)

      (for Bus 1)

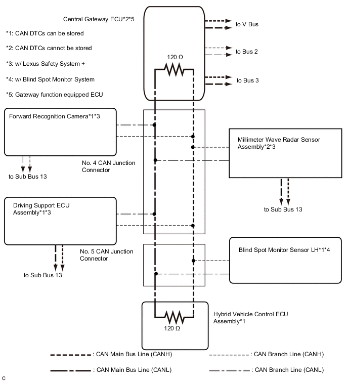
      26

      Millimeter Wave Radar Sensor Assembly

      (w/ Lexus Safety System +)

      (for Bus 1 and Sub Bus 13)

      27

      Forward Recognition Camera

      (w/ Lexus Safety System +)

      (for Bus 1 and Sub Bus 13)

      28

      Driving Support ECU Assembly

      (w/ Lexus Safety System +)

      (for Bus 1 and Sub Bus 13)

      Tech Tips


      • The main body ECU (multiplex network body ECU) functions as a gateway between the bus 2 and sub bus 1.

      • The central gateway ECU functions as a gateway between the V bus, bus 1, bus 2 and bus 3.

      • The driving support ECU assembly functions as a gateway between the bus 1and sub bus 13.

      • Refer to the following bus wiring diagrams for details.

  2. V BUS (for LHD)

    A0006NME05

    Tech Tips

    The CAN communication system connects to other networks via ECUs that function as a gateway Click here.

  3. BUS 1 (for LHD)

    A0007PHE02
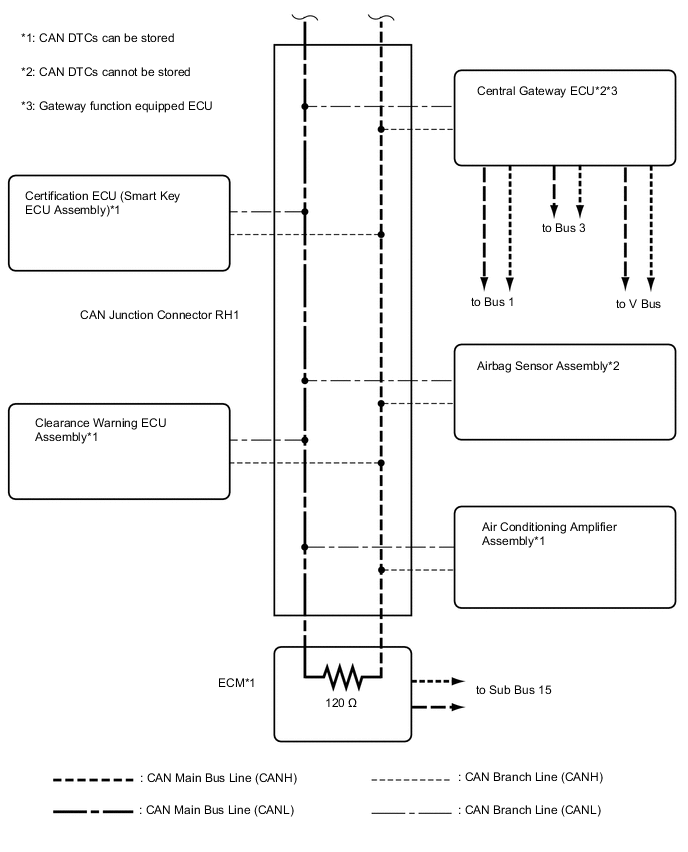
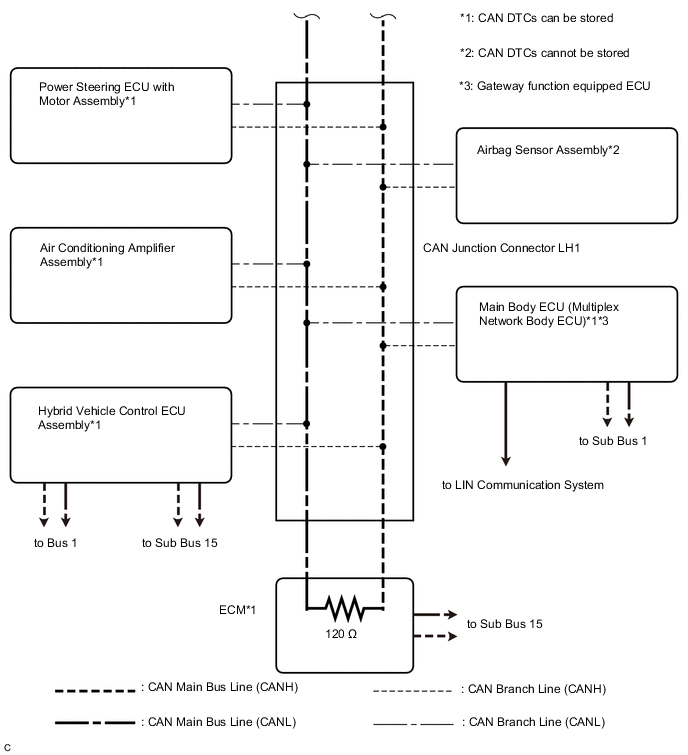
  4. BUS 2 (for LHD)

    A000678E03
    A0007UME02
  5. Bus 3 (for LHD)

    A0004N7E02
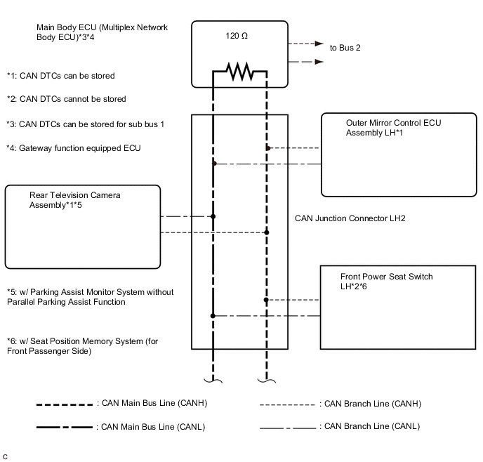
  6. SUB BUS 1 (for LHD)

    A0006ZVE11
    A0009NFE03
  7. SUB BUS 13 (for LHD with Lexus Safety System +)

    A0003RLE06
  8. SUB BUS 15 (for LHD)

    A0006YYE02
  9. OVERALL CAN BUS DIAGRAM (for RHD)


    1. The CAN communication system is composed of 7 buses.

      A0005N1E02
      Text in Illustration
      No. ECU/Sensor Name No. ECU/Sensor Name
      1

      Central Gateway ECU

      (for V Bus, Bus 1, Bus 2 and Bus 3)

      2

      DLC3

      (for V Bus)

      3

      Combination Meter Assembly

      (for Bus 2)

      4

      ECM

      (for Bus 2 and Sub Bus 15)

      5

      Steering Sensor

      (for Bus 2)

      6

      Headlight Leveling ECU (Headlight Swivel ECU Assembly)

      (for Bus 2)

      7

      Power Steering ECU with Motor Assembly

      (for Bus 2)

      8

      Main Body ECU (Multiplex Network Body ECU)

      (for Bus 2 and Sub Bus 1)

      9

      Clearance Warning ECU Assembly

      (for Bus 2)

      10

      Air Conditioning Amplifier Assembly

      (for Bus 2)

      11

      Airbag Sensor Assembly

      (for Bus 2)

      12

      Hybrid Vehicle Control ECU Assembly

      (for Bus 1, Bus 2 and Sub Bus 15)

      13

      Certification ECU (Smart Key ECU Assembly)

      (for Bus 2)

      14

      Brake Booster with Master Cylinder Assembly (Skid Control ECU)

      (for Bus 2 and Sub Bus 15)

      15

      Radio Receiver Assembly

      (for Bus 3)

      16

      Front Power Seat Switch LH

      (w/ Seat Position Memory System (for Front Passenger Side))

      (for Sub Bus 1)

      17

      Luggage Closer Motor Assembly

      (w/ Power Trunk Lid System)

      (for Sub Bus 1)

      18

      Outer Mirror Control ECU Assembly LH

      (for Sub Bus 1)

      19

      Front Power Seat Switch RH

      (for Sub Bus 1)

      20

      Outer Mirror Control ECU Assembly RH

      (for Sub Bus 1)

      21

      Multiplex Tilt and Telescopic ECU

      (w/ Power Tilt and Power Telescopic Steering Column System)

      (for Sub Bus 1)

      22

      Rear Television Camera Assembly

      (w/ Parking Assist Monitor System without Parallel Parking Assist Function)

      (for Sub Bus 1)

      23

      No. 1 CAN Junction Terminal

      (for Sub Bus 1)

      24

      Blind Spot Monitor Sensor LH

      (w/ Blind Spot Monitor System)

      (for Bus 1)

      25

      Millimeter Wave Radar Sensor Assembly

      (w/ Lexus Safety System +)

      (for Bus 1 and Sub Bus 13)

      26

      Forward Recognition Camera

      (w/ Lexus Safety System +)

      (for Bus 1 and Sub Bus 13)

      27

      Driving Support ECU Assembly

      (w/ Lexus Safety System +)

      (for Bus 1 and Sub Bus 13)

      - -

      Tech Tips


      • The main body ECU (multiplex network body ECU) functions as a gateway between the bus 2 and sub bus 1.

      • The central gateway ECU functions as a gateway between the V bus, bus 1, bus 2 and bus 3.

      • The driving support ECU assembly functions as a gateway between the bus 1 and sub bus 13.

      • Refer to the following bus wiring diagrams for details.

  10. V BUS (for RHD)

    A0006NME05

    Tech Tips

    The CAN communication system connects to other networks via ECUs that function as a gateway Click here.

  11. BUS 1 (for RHD)

    A0007PHE02
  12. BUS 2 (for RHD)

    A0006SFE03
    A0007FJE02
  13. BUS 3 (for RHD)

    A0004JWE05
  14. SUB BUS 1

    A00088SE07
    A0009POE04
  15. SUB BUS 13 (for RHD with Lexus Safety System +)

    A0003RLE06
  16. SUB BUS 15 (for RHD)

    A0006YYE02