РЕЛЕ (для моделей с противообледенителем ветрового стекла) ПРОВЕРКА БЕЗ СНЯТИЯ С АВТОМОБИЛЯ


  1. СНИМИТЕ РЕЛЕ ПРОТИВООБЛЕДИНИТЕЛЯ


    1. Извлеките реле противооблединителя из блока реле моторного отсека.

  2. ПРОВЕРЬТЕ РЕЛЕ ПРОТИВООБЛЕДЕНИТЕЛЯ

    A01INA8E76

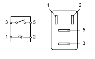
    1. Измерьте сопротивление в соответствии со значениями, приведенными в таблице.

      Номинальное сопротивление
      Контакты для подключения диагностического прибора Режим Заданные условия
      3 - 5 Напряжение аккумуляторной батареи не подается на контакты 1 и 2 10 кОм или более
      3 - 5 Напряжение аккумуляторной батареи подается на контакты 1 и 2 Менее 1 Ом

      Если результат проверки не отвечает требованиям, замените реле.

  3. УСТАНОВИТЕ РЕЛЕ ПРОТИВООБЛЕДИНИТЕЛЯ


    1. Установите реле противооблединителя в блок реле моторного отсека.