НИТИ ОБОГРЕВАТЕЛЯ СТЕКЛА ПРОВЕРКА БЕЗ СНЯТИЯ С АВТОМОБИЛЯ


  1. ПРОВЕРЬТЕ СТЕКЛО ДВЕРИ БАГАЖНОГО ОТДЕЛЕНИЯ (НИТИ ОБОГРЕВАТЕЛЯ)

    A01ISOLE16

    Note


    • При очистке стекла протирайте его вдоль нитей, используя мягкую сухую ткань. Соблюдайте осторожность, чтобы не повредить нити обогревателя.

    • Не используйте моющие средства и стеклоочистители, содержащие абразивные ингредиенты.

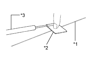
    • Для измерения напряжения оберните отрицательный (-) щуп тестера станиолью, приложите его к нити и прижмите пальцем, как показано на рисунке.

    Обозначения на рисунке
    *1 Нити обогревателя стекла
    *2 Станиоль
    *3 Щуп портативного диагностического прибора

    1. Установите замок зажигания в положение ON (ВКЛ).

    2. Включите выключатель обогревателя стекла.

    3. A01IOGME01
      A01ITYAE01

      Измерьте напряжение в центре каждой нити обогревателя стекла, как показано на рисунке.

      Номинальное напряжение
      Напряжение Диагностика
      Примерно 5 В Нить не оборвана
      Примерно 10 или 0 В Обрыв нити

      Tech Tips

      Если напряжение составляет приблизительно 10 В, нить может быть оборвана на участке между ее серединой и концом со стороны массы. Если напряжение отсутствует, нить может быть оборвана на участке между ее серединой и концом со стороны аккумуляторной батареи.

    4. Приложите положительный (+) вывод вольтметра к нити обогревателя стекла со стороны аккумуляторной батареи.

    5. Приложите отрицательный (-) вывод вольтметра с полоской фольги к нити со стороны массы.

    6. Сдвиньте положительный (+) вывод от аккумуляторной батареи в сторону массы.

    7. Точка, в которой показание вольтметра упадет с приблизительно 10 В до 0 В, является местом разрыва нити обогревателя.

      Tech Tips

      Если нить обогревателя стекла цела, вольтметр показывает на положительном (+) ее конце напряжение 10 В, которое постепенно снижается приблизительно до 0 В при перемещении щупа прибора к другому ее концу.