РЕЛЕ ПРОВЕРКА БЕЗ СНЯТИЯ С АВТОМОБИЛЯ


  1. ПРОВЕРЬТЕ РЕЛЕ ПОДОГРЕВАТЕЛЯ (HTR) (для моделей с кондиционером с ручным управлением)

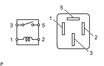
    A01INUME01

    1. Измерьте сопротивление в соответствии со значениями, приведенными в таблице ниже.

      Номинальное сопротивление
      Контакты для подключения диагностического прибора Условие Заданные условия
      3 - 4 Напряжение аккумуляторной батареи подается на контакты 1 и 2 Менее 1 Ом
      3 - 5 Напряжение аккумуляторной батареи не подается на контакты 1 и 2 10 кОм или более
      3 - 5 Напряжение аккумуляторной батареи подается на контакты 1 и 2 Менее 1 Ом

      • Если результат проверки не отвечает требованиям, замените реле.

  2. ПРОВЕРЬТЕ РЕЛЕ ПОДОГРЕВАТЕЛЯ PTC (PTC HTR 1 (для моделей с 1AD-CCO), PTC HTR 2, PTC HTR 3) (для моделей с подогревателем PTC)

    A01INA8E97

    1. Измерьте сопротивление в соответствии со значениями, приведенными в таблице ниже.

      Номинальное сопротивление
      Подключение диагностического прибора Условие Заданные условия
      3 - 5 Напряжение аккумуляторной батареи не подается на контакты 1 и 2 10 кОм или более
      Напряжение аккумуляторной батареи подается на контакты 1 и 2 Менее 1 Ом

      • Если результат проверки не отвечает требованиям, замените реле.

  3. ПРОВЕРЬТЕ РЕЛЕ ПОДОГРЕВАТЕЛЯ PTC (PTC HTR 1 (для моделей с 1AD-DPF))


    1. A01IQROE01

      Измерьте сопротивление в соответствии со значениями, приведенными в таблице ниже.

      Номинальное сопротивление
      Подключение диагностического прибора Условие Заданные условия
      3 - 5 Напряжение аккумуляторной батареи не подается на контакты 1 и 2 10 кОм или более
      Напряжение аккумуляторной батареи подается на контакты 1 и 2 Менее 1 Ом

      • Если результат проверки не отвечает требованиям, замените реле.