СИСТЕМА ОСВЕЩЕНИЯ Цепь привода системы управления уровнем фар

ОПИСАНИЕ

В зависимости от состояния автомобиля ЭБУ системы управления уровнем фар приводит в действие электродвигатели системы управления уровнем фар.

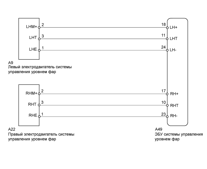
СХЕМА СОЕДИНЕНИЙ

A01ITZQE01

ПОСЛЕДОВАТЕЛЬНОСТЬ ПРОВЕРКИ

ПОРЯДОК ВЫПОЛНЕНИЯ


  1. ВЫПОЛНИТЕ АКТИВНУЮ ДИАГНОСТИКУ С ПОМОЩЬЮ ПОРТАТИВНОГО ДИАГНОСТИЧЕСКОГО ПРИБОРА (ЭЛЕКТРОДВИГАТЕЛЬ СИСТЕМЫ УПРАВЛЕНИЯ УРОВНЕМ ФАР)


    1. Выполните диагностику в режиме Active Test с помощью портативного диагностического прибора (см. стр. Click here).

      HL Auto Leveling
      Информация на дисплее прибора Испытываемое устройство Диапазон регулирования Замечание по диагностике
      Drive The Leveling Motor UP Электродвигатель системы управления уровнем фар ON (ВКЛ) / OFF (ВЫКЛ) -
      Drive The Leveling Motor DOWN Электродвигатель системы управления уровнем фар ON (ВКЛ) / OFF (ВЫКЛ) -
      OK
      Электродвигатели системы управления уровнем фар работают нормально.

    NG
    OK
  2. ПРОВЕРЬТЕ ЖГУТ ПРОВОДОВ И РАЗЪЕМ (ЭЛЕКТРОДВИГАТЕЛЬ СИСТЕМЫ УПРАВЛЕНИЯ УРОВНЕМ ФАР - ЭБУ СИСТЕМЫ УПРАВЛЕНИЯ УРОВНЕМ ФАР)

    A01IQVGE08

    1. Отсоедините разъем A49 ЭБУ системы управления уровнем фар.

    2. Отсоедините разъем A9*1 или A22*2 электродвигателя системы управления уровнем фар.


      • *1: Для левой стороны

      • *2: Для правой стороны

    3. Измерьте сопротивление в соответствии со значениями, приведенными в таблице ниже.

      Номинальное сопротивление
      Для левой стороны
      Контакты для подключения диагностического прибора Условие Заданные условия
      A49-11 (LHT) - A9-3 (LHT) Всегда Менее 1 Ом
      A49-18 (LH+) - A9-2 (LHM+) Всегда Менее 1 Ом
      A49-24 (LH-) - A9-1 (LHE) Всегда Менее 1 Ом
      A49-11 (LHT) - масса Всегда 10 кОм или более
      A49-18 (LH+) - масса Всегда 10 кОм или более
      A49-24 (LH-) - масса Всегда 10 кОм или более
      Для правой стороны
      Контакты для подключения диагностического прибора Условие Заданные условия
      A49-10 (RHT) - A22-3 (RHT) Всегда Менее 1 Ом
      A49-17 (RH+) - A22-2 (RHM+) Всегда Менее 1 Ом
      A49-23 (RH-) - A22-1 (RHE) Всегда Менее 1 Ом
      A49-10 (RHT) - масса Всегда 10 кОм или более
      A49-17 (RH+) - масса Всегда 10 кОм или более
      A49-23 (RH-) - масса Всегда 10 кОм или более
      Обозначения на рисунке
      *1 Для левой стороны *2 Для правой стороны
      *3

      Вид спереди разъема со стороны жгута проводов:

      (к электродвигателю системы управления уровнем фар)

      *4

      Вид спереди разъема со стороны жгута проводов:

      (к ЭБУ системы управления уровнем фар в сборе)


    NG
    OK
  3. ПРОВЕРЬТЕ ФАРУ В СБОРЕ (РАБОТУ)


    1. Временно замените фару в сборе (электродвигатель системы управления уровнем фар) новой или заведомо исправной (см. стр. Click here для моделей с галогенными фарами и стр. Click here для моделей с газоразрядными фарами).

    2. Выполните активную диагностику электродвигателей системы управления уровнем.

      OK
      Электродвигатели системы управления уровнем фар работают нормально.
      Результат
      Результат Следующий шаг
      OK А
      NG (для моделей с левосторонним рулевым управлением) B
      NG (для моделей с правосторонним рулевым управлением) C

    B
    C
    А