СИСТЕМА ОСВЕЩЕНИЯ Цепь фар (дальнего света)

ОПИСАНИЕ

Фары дальнего света включаются при выполнении обоих следующих условий.


Дальний свет фар включается при переводе переключателя света фар в положение HIGH FLASH.

Tech Tips


  • Данная цепь используется только в моделях с системой автоматического управления освещением или с системой подфарников, включаемых при движении в светлое время суток

  • Если автомобиль имеет систему автоматического управления освещением или систему подфарников, включаемых при движении в светлое время суток, наружным освещением (фарами, задними фонарями, передними противотуманными фарами* и задними противотуманными фонарями) управляет главный ЭБУ кузова.

  • Если автомобиль не имеет системы автоматического управления освещением и системы подфарников, включаемых при движении в светлое время суток, главный ЭБУ кузова не управляет наружным освещением (фарами, задними фонарями, передними противотуманными фарами* и задними противотуманными фонарями). Выполните поиск неисправностей в соответствии с таблицей признаков неисправностей (см. стр. Click here).

  • Если не светится фара дальнего света только с одной стороны, проверьте лампу, предохранитель и жгут проводов, связанные с этой фарой.

  • Если не светятся правая и левая фары дальнего света, когда фары ближнего света включены, и переключатель света фар установлен в положение HIGH, проверьте реле фар дальнего света в режиме Active Test и считайте значение сигнала HIGH переключателя освещения в режиме Data List, чтобы определить местонахождение неисправности – со стороны переключателя или со стороны реле.

  • Перед выполнением диагностики функции управления фарами дальнего света убедитесь, что фары ближнего света работают нормально.


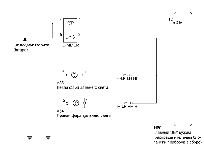
СХЕМА ЭЛЕКТРИЧЕСКИХ СОЕДИНЕНИЙ

A01INCYE01

ПОСЛЕДОВАТЕЛЬНОСТЬ ПРОВЕРКИ

Note

Прежде чем переходить к следующей процедуре проверки, проверьте плавкие предохранители и лампы, относящиеся к данной системе.

ПОРЯДОК ВЫПОЛНЕНИЯ


  1. ВЫПОЛНИТЕ АКТИВНУЮ ДИАГНОСТИКУ С ПОМОЩЬЮ ПОРТАТИВНОГО ДИАГНОСТИЧЕСКОГО ПРИБОРА (ФАРЫ)


    1. Выполните диагностику в режиме Active Test с помощью портативного диагностического прибора (см. стр. Click here).

      Main Body (Кузов)
      Информация на дисплее прибора Испытываемое устройство Диапазон регулирования Замечание по диагностике
      Head Light (HI) Реле переключателя света фар ON (ВКЛ) / OFF (ВЫКЛ) -
      OK
      Реле работает (фары дальнего света светятся).

    NG
    OK
  2. СНИМИТЕ ПОКАЗАНИЯ ПОРТАТИВНОГО ДИАГНОСТИЧЕСКОГО ПРИБОРА (ПЕРЕКЛЮЧАТЕЛЬ СВЕТА ФАР)


    1. Считайте данные в режиме Data List портативного диагностического прибора (см. стр. Click here).

      Main Body (Кузов)
      Информация на дисплее прибора Измеряемая величина / диапазон измерения Нормальное состояние Замечание по диагностике
      Dimmer Hi SW Сигнал HIGH переключателя света фар / ON (ВКЛ) или OFF (ВЫКЛ)

      ON (ВКЛ): переключатель света фар в положении HIGH

      OFF (ВЫКЛ): переключатель света фар в положении LOW

      -
      Passing Light SW Сигнал HIGH FLASH переключателя света фар / ON (ВКЛ) или OFF (ВЫКЛ)

      ON (ВКЛ): переключатель света фар в положении HIGH FLASH

      OFF (ВЫКЛ): переключатель света фар не в положении HIGH FLASH

      -
      OK
      На дисплее отображается значение, соответствующее нормальному состоянию.

    NG
    OK
  3. ПРОВЕРЬТЕ ЖГУТ ПРОВОДОВ И РАЗЪЕМ (АККУМУЛЯТОРНАЯ БАТАРЕЯ – КОНТАКТЫ ПРЕДОХРАНИТЕЛЕЙ H-LP LH HI И H-LP RH HI)

    A01IQ46E03
    Обозначения на рисунке
    *1 Распределительный блок, блок реле № 1 моторного отсека
    *2 Предохранитель H-LP LH HI
    *3 Предохранитель H-LP RH HI

    1. Измерьте напряжение в соответствии со значениями, приведенными в таблице.

      Номинальное напряжение
      Контакты для подключения диагностического прибора Положение переключателя Заданные условия
      Контакт предохранителя H-LP LH HI - масса Переключатель освещения в положении HEAD, переключатель света фар в положении LOW Менее 1 В
      Переключатель освещения в положении HEAD, переключатель света фар в положении HIGH 11–14 В
      Контакт предохранителя H-LP RH HI - масса Переключатель освещения в положении HEAD, переключатель света фар в положении LOW Менее 1 В
      Переключатель освещения в положении HEAD, переключатель света фар в положении HIGH 11–14 В

    NG
    OK
  4. ПРОВЕРЬТЕ РЕЛЕ ПЕРЕКЛЮЧАТЕЛЯ СВЕТА ФАР (DIMMER)

    A01IOIQE03

    1. Извлеките реле переключателя света фар из распределительного блока, блока реле моторного отсека № 1.

    2. Измерьте сопротивление в соответствии со значениями, приведенными в таблице ниже.

      Номинальное сопротивление
      Подключение диагностического прибора Условие Заданные условия
      3 - 5 Напряжение аккумуляторной батареи не подается на контакты 1 и 2 10 кОм или более
      3 - 5 Напряжение аккумуляторной батареи подается на контакты 1 и 2 Менее 1 Ом

    NG
    OK
  5. ПРОВЕРЬТЕ ЖГУТ ПРОВОДОВ И РАЗЪЕМ (АККУМУЛЯТОРНАЯ БАТАРЕЯ – РЕЛЕ ПЕРЕКЛЮЧАТЕЛЯ СВЕТА ФАР [DIMMER])

    A01INNKE02
    Обозначения на рисунке
    *1 Распределительный блок, блок реле № 1 моторного отсека
    *2 Реле переключателя света фар (DIMMER)

    1. Измерьте напряжение в соответствии со значениями, приведенными в таблице.

      Номинальное напряжение
      Подключение диагностического прибора Условие Заданные условия
      Контакт 1 реле переключателя света фар - масса Всегда 11-14 В
      Контакт 5 реле переключателя света фар - масса

    NG
    OK
  6. ПРОВЕРЬТЕ ЖГУТ ПРОВОДОВ И РАЗЪЕМ (РЕЛЕ ПЕРЕКЛЮЧАТЕЛЯ СВЕТА ФАР [DIMMER] – ПРЕДОХРАНИТЕЛЬ)

    A01IQBFE03
    Обозначения на рисунке
    *1 Распределительный блок, блок реле № 1 моторного отсека
    *2 Предохранитель H-LP LH HI
    *3 Предохранитель H-LP RH HI
    *4 Реле переключателя света фар (DIMMER)

    1. Измерьте сопротивление в соответствии со значениями, приведенными в таблице ниже.

      Номинальное сопротивление
      Контакты для подключения диагностического прибора Условие Заданные условия
      Контакт 3 реле переключателя света фар - контакт предохранителя H-LP LH HI Всегда Менее 1 Ом
      Контакт 3 реле переключателя света фар - контакт предохранителя H-LP RH HI Всегда Менее 1 Ом

    NG
    OK
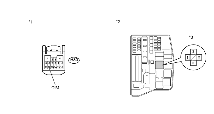
  7. ПРОВЕРЬТЕ ЖГУТ ПРОВОДОВ И РАЗЪЕМ (РЕЛЕ ПЕРЕКЛЮЧАТЕЛЯ СВЕТА ФАР [DIMMER] – ГЛАВНЫЙ ЭБУ КУЗОВА)

    A01IN3YE02

    1. Отсоедините разъем H80 главного ЭБУ кузова.

    2. Измерьте сопротивление в соответствии со значениями, приведенными в таблице ниже.

      Номинальное сопротивление
      Подключение диагностического прибора Условие Заданные условия
      Контакт 2 реле переключателя света фар - H80-12 (DIM) Всегда Менее 1 Ом
      H80-12 (DIM) - масса Всегда 10 кОм или более
      Обозначения на рисунке
      *1

      Вид спереди разъема со стороны жгута проводов:

      (к главному ЭБУ кузова)

      *2 Распределительный блок, блок реле № 1 моторного отсека
      *3 Реле переключателя света фар (DIMMER) - -

    NG
    OK