КРОНШТЕЙН ДВЕРИ БАГАЖНОГО ОТДЕЛЕНИЯ СНЯТИЕ С ЭКСПЛУАТАЦИИ

Tech Tips


  • Порядок выполнения работ для левой и правой стороны одинаков.

  • Ниже рассмотрен порядок выполнения работ для левой стороны.


  1. УТИЛИЗИРУЙТЕ ЛЕВЫЙ КРОНШТЕЙН ДВЕРИ БАГАЖНОГО ОТДЕЛЕНИЯ В СБОРЕ


    1. A01IN4FE01

      Зажмите стойку в тисках в горизонтальном положении, чтобы шток поршня был выдвинут.

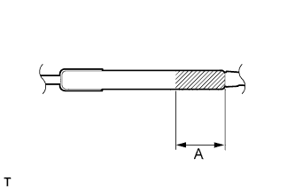
    2. С помощью ножовки по металлу сделайте прорезь в любой точке участка A, чтобы выпустить газ.

      Номинальное положение
      Участок Заданные условия
      А 80 мм (3,15 дюйма)

      CAUTION:

      Поскольку вместе с газом может вылетать металлическая пыль, необходимо:


      • Работать в защитных очках.

      • Закрывать зону, в которой выполняется вырез.

      Note

      Газ внутри кронштейна двери багажного отделения является бесцветным, непахучим и нетоксичным. Поскольку опасность могут представлять разлетающиеся металлические частицы, накройте кронштейн двери багажного отделения тканью или другим материалом.