ДВЕРЬ БАГАЖНОГО ОТДЕЛЕНИЯ РЕГУЛИРОВКА


  1. ПРОВЕРЬТЕ ПАНЕЛЬ ДВЕРИ БАГАЖНОГО ОТДЕЛЕНИЯ В СБОРЕ


    1. Убедитесь, что измеренные зазоры на участках A - J находятся в допустимом диапазоне.

      A01IOV1E01
      Номинальное значение / Номинальный режим
      Область Заданные условия Область Заданные условия
      А 5,7 - 8,7 мм (0,224 - 0,343 дюйма) B 0,5 - 2,0 мм (0,0197 - 0,0787 дюйма)
      C 5,7 - 8,7 мм (0,224 - 0,343 дюйма) D 0,5 - 2,0 мм (0,0197 - 0,0787 дюйма)
      E 3,0 - 6,0 мм (0,118 - 0,236 дюйма) F -1,2 - 1,8 мм (-0,0472 - 0,709 дюйма)
      G (для справки) 3,65 - 7,65 мм (0,144 - 0,301 дюйма) H (для справки) 2,0 мм (0,0787 дюйма)
      I (для справки) 3,55 - 6,55 мм (0,140 - 0,258 дюйма) J (для справки) 2,0 мм (0,0787 дюйма)
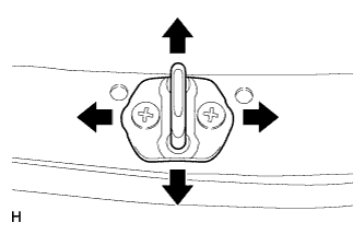
  2. ОТРЕГУЛИРУЙТЕ ПАНЕЛЬ ДВЕРИ БАГАЖНОГО ОТДЕЛЕНИЯ В СБОРЕ


    1. A01ISN5

      Ослабьте болты петли со стороны двери.

    2. Отрегулируйте дверь багажного отделения, двигая его вверх-вниз и влево-вправо так, чтобы зазоры соответствовали номинальным.

    3. Затяните болты петель.

      Torque:
      20 Н*м  { 204 кгс*см, 15 фунт-сила-футов }
  3. СНИМИТЕ ЗАДНЮЮ ОБЛИЦОВОЧНУЮ НАКЛАДКУ ПОЛКИ БАГАЖНОГО ОТДЕЛЕНИЯ

    A01ITUG

    1. Отсоедините 6 захватов и 4 направляющие и снимите заднюю облицовочную накладку полки багажного отделения.

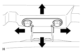
  4. ОТРЕГУЛИРУЙТЕ НИЖНЮЮ ЗАЩЕЛКУ ЗАМКА ДВЕРИ БАГАЖНОГО ОТДЕЛЕНИЯ В СБОРЕ


    1. A01IQFD

      Отрегулируйте положение защелки, слегка ослабив крепежные болты защелки и подбив ее пластмассовым молотком.

    2. После регулировки затяните винты крепления защелки.

      Torque:
      13 Н*м  { 133 кгс*см, 10 фунт-сила-футов }
  5. УСТАНОВИТЕ ЗАДНЮЮ ОБЛИЦОВОЧНУЮ НАКЛАДКУ ПОЛКИ БАГАЖНОГО ОТДЕЛЕНИЯ

    A01ITUG

    1. Введите в зацепление 6 захватов и 4 направляющие, чтобы закрепить заднюю облицовочную накладку полки багажного отделения.