ВЫКЛЮЧАТЕЛЬ СИСТЕМЫ ЗАПУСКА И ОСТАНОВА В СБОРЕ СНЯТИЕ


  1. СНИМИТЕ ВЕРХНЮЮ ПАНЕЛЬ КОНСОЛИ

    (см. стр. Click here)

  2. СНИМИТЕ ВЫКЛЮЧАТЕЛЬ СИСТЕМЫ ЗАПУСКА И ОСТАНОВА ДВИГАТЕЛЯ В СБОРЕ


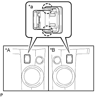
    1. A01IOXJE01
      Обозначения на рисунке
      *A Для моделей с левосторонним рулевым управлением
      *B Для моделей с правосторонним рулевым управлением
      *a Вид снизу

      Освободите 2 захвата, чтобы снять выключатель системы запуска и останова двигателя в сборе.