HYBRID BATTERY SYSTEM, Diagnostic DTC:P0ABF-123, P0AC1-123, P0AC2-123

DTC Code DTC Name
P0ABF-123 Hybrid Battery Pack Current Sensor Circuit
P0AC1-123 Hybrid Battery Pack Current Sensor Circuit Low
P0AC2-123 Hybrid Battery Pack Current Sensor Circuit High

DESCRIPTION


DTC No. INF Code DTC Detection Condition Trouble Area

P0ABF

P0AC1

P0AC2

123 When the battery current sensor is abnormal (1 trip detection)
  • Hybrid battery junction block assembly

  • Battery smart unit

  • Wire harness or connector

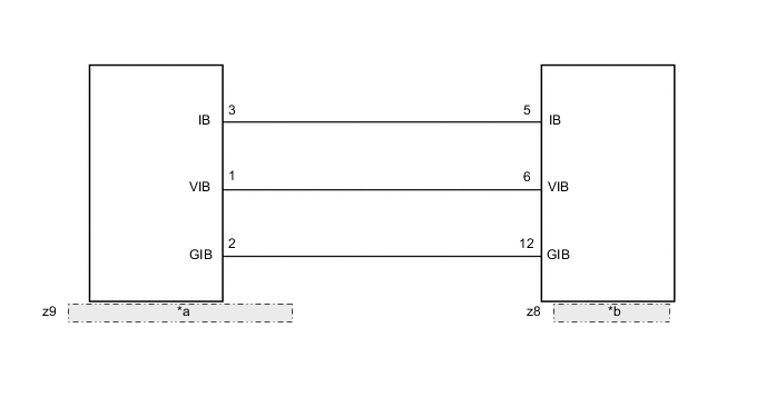
WIRING DIAGRAM

A0006M7E01
*a Battery Current Sensor (Hybrid Battery Junction Block Assembly)
*b Battery Smart Unit

Refer to the wiring diagram for DTC U029A-123 Click here.

CAUTION / NOTICE / HINT

CAUTION:


  • Before inspecting the high-voltage system, take safety precautions to prevent electrical shocks, such as wearing insulated gloves and removing the service plug grip. After removing the service plug grip, put it in your pocket to prevent other technicians from accidentally reconnecting it while you are working on the high-voltage system.

  • After removing the service plug grip, wait for at least 10 minutes before touching any of the high-voltage connectors or terminals. After waiting for 10 minutes, check the voltage at the terminals in the inspection point in the inverter with converter assembly. The voltage should be 0 V before beginning work Click here.

    Tech Tips

    At least 10 minutes is required to discharge the high-voltage capacitor inside the inverter with converter assembly.

Note

After turning the power switch off, waiting time may be required before disconnecting the cable from the negative (-) auxiliary battery terminal. Therefore, make sure to read the disconnecting the cable from the negative (-) auxiliary battery terminal notices before proceeding with work Click here.

PROCEDURE


  1. CHECK DTC OUTPUT (HYBRID CONTROL)


    1. Connect the GTS to the DLC3.

    2. Turn the power switch on (IG).

    3. Enter the following menus: Powertrain / Hybrid Control / Trouble Codes.

    4. Read output DTCs Click here.

      Result
      Result Proceed to
      P0AFC-123 is not output. A
      P0AFC-123 is also output. B
    5. Turn the power switch off.

    6. Disconnect the GTS from the DLC3.


    B
    A
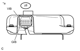
  2. CHECK BATTERY SMART UNIT (IGCT VOLTAGE)

    CAUTION:

    Be sure to wear insulated gloves.


    1. Check that the service plug grip is not installed.

      Note

      After removing the service plug grip, do not turn the power switch on (READY), unless instructed by the repair manual because this may cause a malfunction.

    2. Remove the rear seat side garnish LH Click here.

    3. Connect the cable to the negative (-) auxiliary battery terminal.

    4. Turn the power switch on (IG).

    5. A0006YLE04
      Text in Illustration
      *a

      Component with harness connected

      (Battery Smart Unit)

      Measure the voltage according to the value(s) in the table below.

      Standard Voltage
      Tester Connection Condition Specified Condition
      P10-3 (IGCT) - P10-6 (GND) Power switch on (IG) 11 to 14 V

      Note

      Turning the power switch on (IG) with the service grip removed causes other DTCs to be stored. Clear the DTCs after performing this inspection.

      Tech Tips

      As there might be an intermittent malfunction in the battery smart unit power source circuit, inspect the following even if the measured voltage is as specified:


      • Installation condition of fuse(s) (before removing fuse(s)) (IGCT circuit)

      • Fuse condition (before and after removing fuse(s)) (IGCT circuit)

      • Connection condition of connectors (IGCT circuit)

      • Wire harness condition (IGCT circuit)

      • Wire harness condition (GND circuit)

    6. Turn the power switch off.

    7. Disconnect the cable from the negative (-) auxiliary battery terminal.

    8. Install the rear seat side garnish LH.


    NG
    OK
  3. CHECK HARNESS AND CONNECTOR (HYBRID BATTERY JUNCTION BLOCK ASSEMBLY - BATTERY SMART UNIT)

    Note

    Be sure to wear insulated gloves.


    1. Check that the service plug grip is not installed.

      Note

      After removing the service plug grip, do not turn the power switch on (READY), unless instructed by the repair manual because this may cause a malfunction.

    2. Remove the luggage compartment front trim cover Click here.

    3. Remove the No. 4 hybrid battery shield panel.

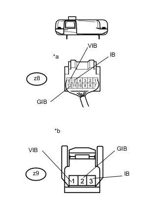
    4. Disconnect only the z8 battery smart unit connector.

    5. A0005EXE03

      Disconnect the z9 battery current sensor connector from the hybrid battery junction block assembly.

    6. A0009GYE03
      Text in Illustration
      *a

      Rear view of wire harness connector

      (to Battery Smart Unit)

      *b

      Front view of wire harness connector

      (to Hybrid Battery Junction Block Assembly)

      Measure the resistance according to the value(s) in the tables below.

      Standard Resistance (Check for Open)
      Tester Connection Condition Specified Condition
      z8-5 (IB) - z9-3 (IB) Power switch off Below 1 Ω
      z8-12 (GIB) - z9-2 (GIB) Power switch off Below 1 Ω
      z8-6 (VIB) - z9-1 (VIB) Power switch off Below 1 Ω
      Standard Resistance (Check for Short)
      Tester Connection Condition Specified Condition
      z8-5 (IB) or z9-3 (IB) - Body ground and other terminals Power switch off 10 kΩ or higher
      z8-12 (GIB) or z9-2 (GIB) - Body ground and other terminals Power switch off 10 kΩ or higher
      z8-6 (VIB) or z9-1 (VIB) - Body ground and other terminals Power switch off 10 kΩ or higher

      Tech Tips

      Because the battery harness is not available as a supply part, if the harness cannot be repaired, replace the HV battery assembly.

    7. Reconnect the z8 battery smart unit connector.

    8. Reconnect the z9 battery current sensor connector to the hybrid battery junction block assembly.

    9. Install the No. 4 hybrid battery shield panel.

    10. Install the luggage compartment front trim cover.


    NG
    OK
  4. CHECK BATTERY SMART UNIT (VIB VOLTAGE)

    Note

    Be sure to wear insulated gloves.


    1. Check that the service plug grip is not installed.

      Note

      After removing the service plug grip, do not turn the power switch on (READY), unless instructed by the repair manual because this may cause a malfunction.

    2. Remove the luggage compartment front trim cover Click here.

    3. Connect the cable to the negative (-) auxiliary battery terminal.

    4. Turn the power switch on (IG).

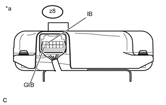
    5. A0006N9E03
      Text in Illustration
      *a

      Component with harness connected

      (Battery Smart Unit)

      Measure the voltage according to the value(s) in the table below.

      Standard Voltage
      Tester Connection Condition Specified Condition
      z8-6 (VIB) - z8-12 (GIB) Power switch on (IG) 4.6 to 5.4 V

      Note

      Turning the power switch on (IG) with the service grip removed causes other DTCs to be stored. Clear the DTCs after performing this inspection.

    6. Turn the power switch off.

    7. Disconnect the cable from the negative (-) auxiliary battery terminal.

    8. Install the luggage compartment front trim cover.


    NG
    OK
  5. CHECK BATTERY SMART UNIT

    CAUTION:

    Be sure to wear insulated gloves.


    1. Check that the service plug grip is not installed.

      Note

      After removing the service plug grip, do not turn the power switch on (READY), unless instructed by the repair manual because this may cause a malfunction.

    2. Remove the luggage compartment front trim cover Click here.

    3. Connect the cable to the negative (-) auxiliary battery terminal.

    4. Turn the power switch on (IG).

    5. A0003TYE03
      Text in Illustration
      *a

      Component with harness connected

      (Battery Smart Unit)

      Measure the voltage according to the value(s) in the table below.

      Standard Voltage
      Tester Connection Condition Specified Condition
      z8-5 (IB) - z8-12 (GIB) Power switch on (IG) 2.46 to 2.54 V

      Note

      Turning the power switch on (IG) with the service grip removed causes other DTCs to be stored. Clear the DTCs after performing this inspection.

    6. Turn the power switch off.

    7. Disconnect the cable from the negative (-) auxiliary battery terminal.

    8. Install the luggage compartment front trim cover.


    OK
    NG