SHIFT LEVER REASSEMBLY

PROCEDURE


  1. INSTALL POSITION INDICATOR LENS


    1. A0005AT

      Engage the 4 claws to install the position indicator lens.

  2. INSTALL NO. 2 POSITION INDICATOR SLIDE COVER


    1. A0009OQ

      Install the No. 2 position indicator slide cover to the position indicator slide cover.

  3. INSTALL POSITION INDICATOR SLIDE COVER


    1. A0008O7

      Install the position indicator slide cover to the upper position indicator housing.

  4. INSTALL INDICATOR LIGHT WIRE SUB-ASSEMBLY


    1. Install the 2 caps to the 2 bulbs.

    2. Install the 2 bulbs to the indicator light wire sub-assembly.

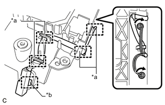
    3. A0004GNE02
      Text in Illustration
      *a Guide
      *b Clamp

      Connect the 4 guides, clamp and 2 bulb sockets to install the indicator light wire sub-assembly to the upper position indicator housing.

  5. INSTALL SHIFT LOCK RELEASE BUTTON (Shift Position Indicator Side)


    1. A00049Z

      Engage the claw to install the shift lock release button to the upper position indicator housing with the shift lock release spring.

    2. A0006OS

      Engage the claw to install the position indicator plate to the upper position indicator housing.

  6. INSTALL SHIFT LOCK RELEASE BUTTON COVER


    1. A0003YI

      Engage the 2 claws to install the shift lock release button cover to the position indicator plate.

  7. INSTALL SHIFT POSITION INDICATOR


    1. A00082PE01

      Install the shift position indicator to the rear console upper panel sub-assembly with the 4 screws in the sequence shown in the illustration.

  8. INSTALL SHIFT LOCK RELEASE BUTTON (Lower Shift Lever Assembly Side)


    1. A0003XQ

      Engage the 2 claws to install the shift lock release button and shift lock release spring to the shift lever assembly.

  9. INSTALL LOWER POSITION INDICATOR HOUSING


    1. A0006TM

      Engage the 5 claws to install the lower position indicator housing to the shift lever assembly.