NAVIGATION SYSTEM, Diagnostic DTC:B15C0, B15C1

DTC Code DTC Name
B15C0 GPS Antenna Disconnected (Short)
B15C1 GPS Antenna Disconnected (Open)

DESCRIPTION

These DTCs are stored when a malfunction occurs in the telephone antenna assembly.

DTC No. Detection Item DTC Detection Condition Trouble Area
B15C0 GPS Antenna Disconnected (Short) Navigation antenna error
  • Navigation ECU

  • Roof Antenna Assembly

  • Antenna cord sub-assembly

  • No. 2 antenna cord sub-assembly

  • No. 3 antenna cord sub-assembly

  • Antenna divider*1

B15C1 GPS Antenna Disconnected (Open) Error of the power source to the navigation antenna
  • Navigation ECU

  • Roof Antenna Assembly

  • Antenna cord sub-assembly

  • No. 2 antenna cord sub-assembly

  • No. 3 antenna cord sub-assembly

  • Antenna divider*1


WIRING DIAGRAM

A001VLIE03
A001WS6E05

CAUTION / NOTICE / HINT

Note

Check that the wire harness is properly installed and does not have any sharp bends, pinching or loose connections.

Click here

PROCEDURE


  1. CHECK DTC


    1. Clear the DTCs.

      Click here


      Body Electrical > Navigation System > Clear DTCs
    2. Recheck for DTCs and check that no DTCs are output.


      Body Electrical > Navigation System > Trouble Codes
      OK
      No DTCs are output.
      Result
      Proceed to
      OK
      NG

    OK
    NG
  2. INSPECT NO. 3 ANTENNA CORD SUB-ASSEMBLY


    1. Remove the No. 3 antenna cord sub-assembly.

      Click here

    2. A001VFHC01
      *a

      Front view of wire harness connector

      (to No. 2 Antenna Cord Sub-assembly)

      *b

      Front view of wire harness connector

      (to Telephone Antenna Assembly)

      Measure the resistance according to the value(s) in the table below.

      Standard Resistance
      Tester Connection Condition Specified Condition
      D-2 - RA-5 Always Below 1 Ω
      D-2a - RA-5a Always Below 1 Ω
      D-2 or RA-5 - Body ground Always 10 kΩ or higher
      D-2a or RA-5a - Body ground Always 10 kΩ or higher
      Result
      Proceed to
      OK
      NG

    NG
    OK
  3. INSPECT NO. 2 ANTENNA CORD SUB-ASSEMBLY


    1. Remove the No. 2 antenna cord sub-assembly.

      Click here

    2. A001UGLC01
      *a

      Front view of wire harness connector

      (to No. 3 Antenna Cord Sub-assembly)

      *b

      Front view of wire harness connector

      (to Antenna Cord Sub-assembly)

      Measure the resistance according to the value(s) in the table below.

      Standard Resistance
      Tester Connection Condition Specified Condition
      C-2 - B-2 Always Below 1 Ω
      C-2a - B-2a Always Below 1 Ω
      C-2 or B-2 - Body ground Always 10 kΩ or higher
      C-2a or B-2a - Body ground Always 10 kΩ or higher
      Result
      Result Proceed to
      OK (w/ Manual (SOS) switch) A
      OK (w/o Manual (SOS) switch) B
      NG C

    B
    C
    A
  4. INSPECT ANTENNA CORD SUB-ASSEMBLY (ANTENNA CORD SUB-ASSEMBLY - ANTENNA DIVIDER)


    1. Remove the antenna cord sub-assembly.

      Click here

    2. A001VXDC01
      *a

      Front view of wire harness connector

      (to No. 2 Antenna Cord Sub-assembly)

      *b

      Front view of wire harness connector

      (to Antenna Divider)

      Measure the resistance according to the value(s) in the table below.

      Standard Resistance
      Tester Connection Condition Specified Condition
      A-2 - AD-6 Always Below 1 Ω
      A-2a - AD-6a Always Below 1 Ω
      A-2 or AD-6 - Body ground Always 10 kΩ or higher
      A-2a or AD-6a - Body ground Always 10 kΩ or higher
      Result
      Proceed to
      OK
      NG

    NG
    OK
  5. INSPECT ANTENNA DIVIDER


    1. A001WWAC19
      *a

      Component without harness connected

      (Antenna Divider)

      Remove the antenna divider.

      Click here

    2. Measure the resistance according to the value(s) in the table below.

      Standard Resistance
      Tester Connection Condition Specified Condition
      6 - 5 Always Below 1 Ω
      Result
      Proceed to
      OK
      NG

    NG
    OK
  6. INSPECT ANTENNA CORD SUB-ASSEMBLY (ANTENNA DIVIDER - NAVIGATION ECU)


    1. Remove the antenna cord sub-assembly.

      Click here

    2. A001U5YC03
      *a

      Front view of wire harness connector

      (to Antenna Divider)

      *b

      Front view of wire harness connector

      (to Navigation ECU)

      Measure the resistance according to the value(s) in the table below.

      Standard Resistance
      Tester Connection Condition Specified Condition
      AD-5 - GB-1 (GPS) Always Below 1 Ω
      AD-5a - GB-1a Always Below 1 Ω
      AD-5 or GB-1 (GPS) - Body ground Always 10 kΩ or higher
      AD-5 or GB-1a - Body ground Always 10 kΩ or higher
      Result
      Proceed to
      OK
      NG

    OK
    NG
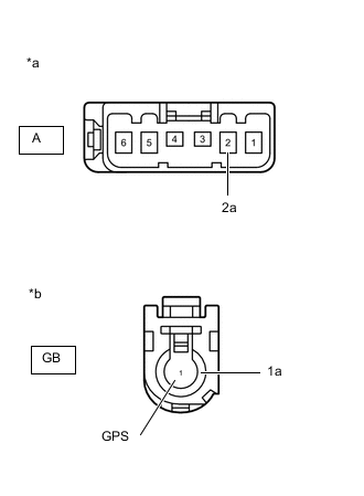
  7. INSPECT ANTENNA CORD SUB-ASSEMBLY


    1. Remove the antenna cord sub-assembly.

      Click here

    2. A001YGMC03
      *a

      Front view of wire harness connector

      (to No. 2 Antenna Cord Sub-assembly)

      *b

      Front view of wire harness connector

      (to Navigation ECU)

      Measure the resistance according to the value(s) in the table below.

      Standard Resistance
      Tester Connection Condition Specified Condition
      A-2 - GB-1 (GPS) Always Below 1 Ω
      A-2a - GB-1a Always Below 1 Ω
      A-2 or GB-1 (GPS) - Body ground Always 10 kΩ or higher
      A-2a or GB-1a - Body ground Always 10 kΩ or higher
      Result
      Proceed to
      OK
      NG

    NG
    OK
  8. REPLACE ROOF ANTENNA ASSEMBLY


    1. Replace the roof antenna assembly with a new or known good one.

      Click here

    2. Clear the DTCs.

      Click here


      Body Electrical > Navigation System > Trouble Codes
    3. Recheck for DTCs and check that no DTCs are output.


      Body Electrical > Navigation System > Clear DTCs
      OK
      No DTCs are output.
      Result
      Proceed to
      OK
      NG

    OK
    NG