AUDIO AND VISUAL SYSTEM(for Radio Receiver Type) Microphone Circuit between Microphone and Radio Receiver

DESCRIPTION



WIRING DIAGRAM

A001U2FE02

PROCEDURE


  1. CONFIRM MODEL


    1. Choose the model to be inspected.

      Result
      Result Proceed to
      w/o Manual (SOS) Switch A
      w/ Manual (SOS) Switch B

    B
    A
  2. CHECK HARNESS AND CONNECTOR (RADIO RECEIVER ASSEMBLY - MAP LIGHT ASSEMBLY (TELEPHONE MICROPHONE ASSEMBLY))


    1. Disconnect the F47 radio receiver assembly connector.

    2. Disconnect the R2 map light assembly (telephone microphone assembly) connector.

    3. Measure the resistance according to the value(s) in the table below.

      Standard Resistance
      Tester Connection Condition Specified Condition
      F47-6 (SNS2) - R2-1 (SNS2) Always Below 1 Ω
      F47-4 (MACC) - R2-9 (MACC) Always Below 1 Ω
      F47-5 (MIN+) - R2-8 (MCO+) Always Below 1 Ω
      F47-19 (MIN-) - R2-7 (MCO-) Always Below 1 Ω
      F47-6 (SNS2) or R2-1 (SNS2) - Body ground Always 10 kΩ or higher
      F47-4 (MACC) or R2-9 (MACC) - Body ground Always 10 kΩ or higher
      F47-5 (MIN+) or R2-8 (MCO+) - Body ground Always 10 kΩ or higher
      F47-19 (MIN-) or R2-7 (MCO-) - Body ground Always 10 kΩ or higher
      F47-18 (SGND) - Body ground Always 10 kΩ or higher
      Result
      Proceed to
      OK
      NG

    NG
    OK
  3. INSPECT RADIO RECEIVER ASSEMBLY


    1. Connect the F47 radio receiver assembly connector.

    2. Connect the R2 map light assembly (telephone microphone assembly) connector.

    3. A001T9AC01
      *a

      Component with harness connected

      (Radio Receiver Assembly)

      Measure the voltage according to the value(s) in the table below.

      Standard Voltage
      Tester Connection Condition Specified Condition
      F47-4 (MACC) - Body ground Ignition switch ACC 4 to 6 V
    4. Measure the resistance according to the value(s) in the table below.

      Standard Resistance
      Tester Connection Condition Specified Condition
      F47-18 (SGND) - Body ground Always Below 1 Ω
      F47-19 (MIN-) - Body ground Always Below 1 Ω
      Result
      Proceed to
      OK
      NG

    NG
    OK
  4. INSPECT MAP LIGHT ASSEMBLY (TELEPHONE MICROPHONE ASSEMBLY)


    1. Remove the map light assembly (telephone microphone assembly).

      Click here

    2. A001THYC01
      *a

      Component without harness connected

      (Map Light Assembly (Telephone Microphone Assembly))

      Measure the resistance according to the value(s) in the table below.

      Standard Resistance
      Tester Connection Condition Specified Condition
      1 (SNS2) - 7 (MCO-) Always Below 1 Ω
      Result
      Proceed to
      OK
      NG

    NG
    OK
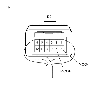
  5. INSPECT MAP LIGHT ASSEMBLY (TELEPHONE MICROPHONE ASSEMBLY)


    1. Connect the R2 map light assembly (telephone microphone assembly) connector.

    2. Turn the ignition switch to ACC.

    3. A001WF3C01
      *a

      Component with harness connected

      (Map Light Assembly (Telephone Microphone Assembly))

      Connect an oscilloscope to terminals 8 (MCO+) and 7 (MCO-) of the R2 map light assembly (telephone microphone assembly) connector.

    4. Check the waveform of the map light assembly (telephone microphone assembly) using the oscilloscope.

      Result
      Result Proceed to
      A waveform synchronized with the voice input to the map light assembly (telephone microphone assembly) is output. A
      A waveform synchronized with the voice input to the map light assembly (telephone microphone assembly) is not output. B

    A
    B
  6. CHECK HARNESS AND CONNECTOR (RADIO RECEIVER ASSEMBLY - MAP LIGHT ASSEMBLY (TELEPHONE MICROPHONE ASSEMBLY))


    1. Disconnect the F47 radio receiver assembly connector.

    2. Disconnect the R2 map light assembly (telephone microphone assembly) connector.

    3. Measure the resistance according to the value(s) in the table below.

      Standard Resistance
      Tester Connection Condition Specified Condition
      F47-6 (SNS2) - R2-1 (SNS2) Always Below 1 Ω
      F47-6 (SNS2) or R2-1 (SNS2) - Body ground Always 10 kΩ or higher
      Result
      Proceed to
      OK
      NG

    NG
    OK
  7. CHECK HARNESS AND CONNECTOR (TELEMATICS TRANSCEIVER - MAP LIGHT ASSEMBLY (TELEPHONE MICROPHONE ASSEMBLY))


    1. Disconnect the F51 telematics transceiver connector.

    2. Disconnect the R2 map light assembly (telephone microphone assembly) connector.

    3. Measure the resistance according to the value(s) in the table below.

      Standard Resistance
      Tester Connection Condition Specified Condition
      F51-33 (MCVD) - R2-9 (MACC) Always Below 1 Ω
      F51-34 (MCI+) - R2-8 (MIC+) Always Below 1 Ω
      F51-35 (MCI-) - R2-7 (MIC-) Always Below 1 Ω
      F51-33 (MCVD) or R2-9 (MACC) - Body ground Always 10 kΩ or higher
      F51-34 (MCI+) or R2-8 (MIC+) - Body ground Always 10 kΩ or higher
      F51-35 (MCI-) or R2-7 (MIC-) - Body ground Always 10 kΩ or higher
      F51-32 (SGND) - Body ground Always 10 kΩ or higher
      Result
      Proceed to
      OK
      NG

    NG
    OK
  8. CHECK HARNESS AND CONNECTOR (RADIO RECEIVER ASSEMBLY - TELEMATICS TRANSCEIVER)


    1. Disconnect the F47 radio receiver assembly connector.

    2. Disconnect the F51 telematics transceiver connector.

    3. Measure the resistance according to the value(s) in the table below.

      Standard Resistance
      Tester Connection Condition Specified Condition
      F47-5 (MIN+) - F51-18 (MCO+) Always Below 1 Ω
      F47-19 (MIN-) - F51-19 (MCO-) Always Below 1 Ω
      F47-5 (MIN+) or F51-18 (MCO+) - Body ground Always 10 kΩ or higher
      F47-19 (MIN-) or F51-19 (MCO-) - Body ground Always 10 kΩ or higher
      F47-18 (SGND) - Body ground Always 10 kΩ or higher
      Result
      Proceed to
      OK
      NG

    NG
    OK
  9. INSPECT RADIO RECEIVER ASSEMBLY


    1. Connect the F47 radio receiver assembly connector.

    2. Disconnect the F51 telematics transceiver connector.

    3. A001X96C45
      *a

      Component with harness connected

      (Radio Receiver Assembly)

      Measure the resistance according to the value(s) in the table below.

      Standard Resistance
      Tester Connection Condition Specified Condition
      F47-18 (SGND) - Body ground Always Below 1 Ω
      F47-19 (MIN-) - Body ground Always Below 1 Ω
      Result
      Proceed to
      OK
      NG

    NG
    OK
  10. INSPECT TELEMATICS TRANSCEIVER


    1. Reconnect the F51 telematics transceiver connector.

    2. A001TGIC50
      *a

      Component with harness connected

      (Telematics Transceiver)

      Measure the voltage according to the value(s) in the table below.

      Standard Voltage
      Tester Connection Condition Specified Condition
      F51-33 (MCVD) - Body ground Ignition switch ACC 4 to 6 V
    3. Measure the resistance according to the value(s) in the table below.

      Standard Resistance
      Tester Connection Condition Specified Condition
      F51-32 (SGND) - Body ground Always Below 1 Ω
      F51-35 (MCI-) - Body ground Always Below 1 Ω
      Result
      Proceed to
      OK
      NG

    NG
    OK
  11. INSPECT MAP LIGHT ASSEMBLY (TELEPHONE MICROPHONE ASSEMBLY)


    1. Remove the map light assembly (telephone microphone assembly).

      Click here

    2. A001THYC02
      *a

      Component without harness connected

      (Map Light Assembly (Telephone Microphone Assembly))

      Measure the resistance according to the value(s) in the table below.

      Standard Resistance
      Tester Connection Condition Specified Condition
      1 (SNS2) - 7 (MIC-) Always Below 1 Ω
      Result
      Proceed to
      OK
      NG

    NG
    OK
  12. INSPECT MAP LIGHT ASSEMBLY (TELEPHONE MICROPHONE ASSEMBLY)


    1. Reconnect the F47 radio receiver assembly connector.

    2. Reconnect the R2 map light assembly (telephone microphone assembly) connector.

    3. Reconnect the F51 telematics transceiver connector.

    4. Turn the ignition switch to ACC.

    5. A001WF3C02
      *a

      Component with harness connected

      (Map Light Assembly (Telephone Microphone Assembly))

      Connect an oscilloscope to terminals 8 (MCO+) and 7 (MCO-) of the R2 map light assembly (telephone microphone assembly) connector.

    6. Check the waveform of the map light assembly (telephone microphone assembly) using the oscilloscope.

      Result
      Result Proceed to
      A waveform synchronized with the voice input to the map light assembly (telephone microphone assembly) is output. A
      A waveform synchronized with the voice input to the map light assembly (telephone microphone assembly) is not output. B

    A
    B