REAR VIEW MONITOR SYSTEM Image from Camera for Rear View Monitor is Abnormal

DESCRIPTION

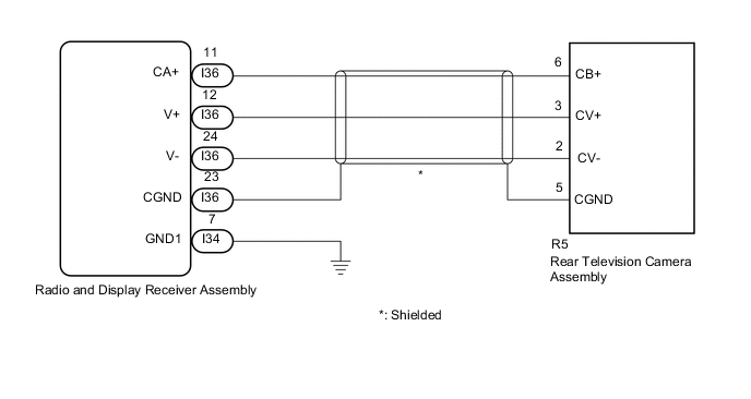
The video signal of the rear television camera assembly is transmitted to the radio and display receiver assembly.

WIRING DIAGRAM

A003P29E05

PROCEDURE


  1. CHECK HARNESS AND CONNECTOR (RADIO AND DISPLAY RECEIVER ASSEMBLY - REAR TELEVISION CAMERA ASSEMBLY)

    Result
    Proceed to
    OK
    NG

    1. Disconnect the I99 radio and display receiver assembly connector.

    2. Disconnect the R5 rear television camera assembly connector.

    3. Measure the resistance according to the value(s) in the table below.

      Standard Resistance
      Tester Connection Condition Specified Condition
      I99-11 (CA+) - R5-6 (CB+) Always Below 1 Ω
      I99-12 (V+) - R5-3 (CV+) Always Below 1 Ω
      I99-24 (V-) - R5-2 (CV-) Always Below 1 Ω
      I99-23 (CGND) - R5-5 (CGND) Always Below 1 Ω
      I99-11 (CA+) or R5-6 (CB+) - Body ground Always 10 kΩ or higher
      I99-12 (V+) or R5-3 (CV+) - Body ground Always 10 kΩ or higher
      I99-24 (V-) or R5-2 (CV-) - Body ground Always 10 kΩ or higher
      I99-23 (CGND) or R5-5 (CGND) - Body ground Always 10 kΩ or higher
      Result
      Proceed to
      OK
      NG

    NG
    OK
  2. INSPECT RADIO AND DISPLAY RECEIVER ASSEMBLY

    Result
    Proceed to
    OK
    NG

    1. Reconnect the I99 radio and display receiver assembly connector.

    2. A003MGUC03
      *a

      Component with harness connected

      (Radio and Display Receiver Assembly)

      Measure the resistance according to the value(s) in the table below.

      Standard Resistance
      Tester Connection Condition Specified Condition
      I99-23 (CGND) - Body ground Always Below 1 Ω
    3. Measure the voltage according to the value(s) in the table below.

      Standard Voltage
      Tester Connection Condition Specified Condition
      I99-11 (CA+) - I99-23 (CGND) Power switch on (ACC) 5.5 to 7.05 V
      Result
      Proceed to
      OK
      NG

    NG
    OK
  3. INSPECT REAR TELEVISION CAMERA ASSEMBLY

    Result
    Proceed to
    OK
    NG

    1. Reconnect the R5 rear television camera assembly connector.

    2. A003NR7C58
      *a

      Component with harness connected

      (Radio and DisplayReceiver Assembly)

      A003MP3C01
      *a Waveform 1 (camera lens is not covered, displaying an image)
      *b Waveform 2 (camera lens is covered, blacking out the screen)
      *c Synchronization Signal
      *d Video Waveform

      Using an oscilloscope, check the waveform of the rear television camera assembly.

      Tech Tips

      A waterproof connector is used for the rear television camera assembly. Therefore, inspect the waveform at the radio and displayreceiver assembly with the connector connected.

      OK
      Waveform is similar to that shown in the illustration.
      Item Content
      Measurement terminal I99-12 (V+) - I97-7 (GND1)
      Measurement setting 200 mV/DIV., 50 μs./DIV.
      Condition Power switch on (READY), reverse (R) selected

      Tech Tips


      • The video waveform changes according to the image sent by the rear television camera assembly.

      • The video waveform is constantly output when the power switch is on (ACC).

      Result
      Proceed to
      OK
      NG

    OK
    NG