IMMOBILISER SYSTEM(w/ Smart Entry and Start System) Immobiliser System does not Operate Properly

DESCRIPTION

The immobiliser system compares the ID code that is registered in the certification ECU (smart key ECU assembly) with the ID code of the transponder chip that is embedded in the electrical key transmitter sub-assembly.

The system unsets if these ID codes match. Thus, the certification ECU (smart key ECU assembly) and the ECM communicate with each other enabling the engine to start.

WIRING DIAGRAM

Refer to B2799.

Click here

CAUTION / NOTICE / HINT

Note


  • When using the GTS with the engine switch off, connect the GTS to the DLC3 and turn a courtesy light switch on and off at intervals of 1.5 seconds or less until communication between the GTS and the vehicle begins. Then select the Model Code "KEY REGIST" under manual mode and enter the following menus: Body Electrical / Entry&Start(CAN). While using the GTS, periodically turn a courtesy light switch on and off at intervals of 1.5 seconds or less to maintain communication between the GTS and the vehicle.

  • The immobiliser system uses the LIN communication system. Inspect the communication function by following How to Proceed with Troubleshooting. Troubleshoot the immobiliser system after confirming that the communication systems are functioning properly.

    Click here

  • Before replacing the certification ECU (smart key ECU assembly), ID code box (immobiliser code ECU)* or ECM, refer to Service Bulletin.

    *: w/ ID Code Box (Immobiliser Code ECU)

  • After repair, confirm that no DTCs are output by performing "DTC Output Confirmation Operation."

    Click here

Tech Tips

When the ECM and certification ECU (smart key ECU assembly) DTC are output simultaneously, first perform troubleshooting for the ECM and certification ECU (smart key ECU assembly) DTC.

PROCEDURE


  1. CHECK FOR DTC


    1. Check for DTCs.

      Click here


      Body Electrical > Entry&Start > Trouble Codes
      Powertrain > Engine > Trouble Codes
      Result
      Result Proceed to
      DTCs are not output (for SFI System) A
      DTCs are not output (for ECD System) B
      DTCs are output C

    B
    C
    A
  2. READ VALUE USING GTS (IMMOBILISER FUEL CUT)


    1. Connect the GTS to the DLC3.

    2. Turn the engine switch on (IG).

    3. Turn the GTS on.

    4. Enter the following menus: Powertrain / Engine / Data List.

    5. Read the Data List according to the display on the GTS.


      Powertrain > Engine > Data List
      Tester Display Measurement Item Range Normal Condition Diagnostic Note
      Immobiliser Fuel Cut Status of immobiliser system fuel cut ON or OFF - -

      Powertrain > Engine > Data List
      Tester Display
      Immobiliser Fuel Cut
      OK
      OFF is displayed after the engine is started.
      Result
      Proceed to
      OK (for 2TR-FE)
      OK (for 1GR-FE)
      NG

    OK (for 2TR-FE)
    OK (for 1GR-FE)
    NG
  3. CHECK WHETHER ENGINE STARTS


    1. Check that the engine starts 5 seconds after the engine switch was turned on (IG).

      OK
      Engine starts normally.
      Result
      Proceed to
      OK
      NG

    OK
    NG
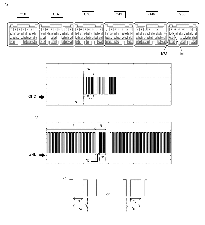
  4. INSPECT ECM (TERMINAL IMI AND IMO)


    1. Using an oscilloscope, check the waveform (for Gasoline).

      B003PZ9C01
      *A for 2TR-FE *B for 1GR-FE
      *1 Waveform (IMO) *2 Waveform (IMI)
      *3 Waveform A *4 Waveform B
      *5 Waveform C - -
      *a

      Component with harness connected

      (ECM)

      *b Approximately 160 ms
      *c Approximately 270 ms *d Approximately 40 ms
      *e Approximately 60 ms - -

      Tech Tips

      The waveform shown in the illustration is an example for reference only. Noise, chattering, etc. are not shown.

      Measurement Condition
      Item Content
      Tester Connection

      G142-9 (IMO) - Body ground*1

      G142-10 (IMI) - Body ground*1

      G145-8 (IMO) - Body ground*2

      G145-10 (IMI) - Body ground*2

      Tool Setting 2 V/DIV., 500 ms./DIV.
      Condition Within 3 seconds after engine starts, or within 3 seconds after engine switch turned on (IG) after battery disconnected and reconnected

      • *1: for 2TR-FE

      • *2: for 1GR-FE

    2. Using an oscilloscope, check the waveform (for Diesel).

      B003M27C07
      *1 Waveform (IMO) *2 Waveform (IMI)
      *3 Waveform A *4 Waveform B
      *5 Waveform C - -
      *a

      Component with harness connected

      (ECM)

      *b Approximately 160 ms
      *c Approximately 270 ms *d Approximately 40 ms
      *e Approximately 60 ms - -

      Tech Tips

      The waveform shown in the illustration is an example for reference only. Noise, chattering, etc. are not shown.

      Measurement Condition
      Item Content
      Tester Connection

      G140-29 (IMO) - Body ground

      G140-30 (IMI) - Body ground

      G50-17 (IMO) - Body ground

      G50-16 (IMI) - Body ground

      Tool Setting 2 V/DIV., 500 ms./DIV.
      Condition Within 3 seconds after engine starts, or within 3 seconds after engine switch turned on (IG) after battery disconnected and reconnected
      Result
      Result Proceed to
      Normal waveform A
      Waveform A not output, or has abnormal wavelength or shape (w/ ID Code Box [Immobiliser Code ECU]) B
      Waveform A not output, or has abnormal wavelength or shape (w/o ID Code Box [Immobiliser Code ECU]) C
      Waveform B not output, or has abnormal wavelength or shape (for 2TR-FE) D
      Waveform B not output, or has abnormal wavelength or shape (for 1GD-FTV) E
      Waveform B not output, or has abnormal wavelength or shape (for 2GD-FTV) F
      Waveform B not output, or has abnormal wavelength or shape (for 1GR-FE) G
      Waveform C not output, or has abnormal wavelength or shape (w/ ID Code Box [Immobiliser Code ECU]) H
      Waveform C not output, or has abnormal wavelength or shape (w/o ID Code Box [Immobiliser Code ECU]) I

    B
    C
    D
    E
    F
    G
    H
    I
    A
  5. REGISTER ECU COMMUNICATION ID


    1. Reregister the ECU communication ID.

      Tech Tips

      Refer to Service Bulletin.

      Result
      Proceed to
      NEXT

    NEXT
  6. CHECK WHETHER ENGINE STARTS


    1. Using a registered vehicle key, turn the engine switch on (IG).

      OK
      Engine starts normally.
      Result
      Proceed to
      OK
      NG (w/ ID Code Box [Immobiliser Code ECU])
      NG (w/o ID Code Box [Immobiliser Code ECU])

    OK
    NG (w/ ID Code Box [Immobiliser Code ECU])
    NG (w/o ID Code Box [Immobiliser Code ECU])
  7. CHECK HARNESS AND CONNECTOR (ID CODE BOX (IMMOBILISER CODE ECU) - ECM)


    1. Disconnect the G138 ID code box (immobiliser code ECU) connector.

    2. Disconnect the G142*1, G50*2 or G145*3 ECM connector.


      • *1: for 2TR-FE

      • *2: for 1GD-FTV, 2GD-FTV

      • *3: for 1GR-FE

    3. Measure the resistance according to the value(s) in the table below.

      Standard Resistance
      for 2TR-FE
      Tester Connection Condition Specified Condition
      G138-4 (EFIO) - G142-10 (IMI) Always Below 1 Ω
      G142-10 (IMI) - Body ground Always 10 kΩ or higher
      G138-4 (EFIO) - Body ground Always 10 kΩ or higher
      for 1GD-FTV, 2GD-FTV
      Tester Connection Condition Specified Condition
      G138-4 (EFIO) - G50-16 (IMI) Always Below 1 Ω
      G50-16 (IMI) - Body ground Always 10 kΩ or higher
      G138-4 (EFIO) - Body ground Always 10 kΩ or higher
      for 1GR-FE
      Tester Connection Condition Specified Condition
      G138-4 (EFIO) - G145-10 (IMI) Always Below 1 Ω
      G145-10 (IMI) - Body ground Always 10 kΩ or higher
      G138-4 (EFIO) - Body ground Always 10 kΩ or higher
      Result
      Proceed to
      OK
      NG

    NG
    OK
  8. REPLACE ID CODE BOX (IMMOBILISER CODE ECU)


    1. Replace the ID code box (immobiliser code ECU) with a new one.

      Tech Tips

      Refer to Service Bulletin.

      Result
      Proceed to
      NEXT

    NEXT
  9. REGISTER RECOGNITION CODES


    1. Register the recognition codes in the ECUs.

      Tech Tips

      Refer to Service Bulletin.

      Result
      Proceed to
      NEXT

    NEXT
  10. REGISTER ECU COMMUNICATION ID


    1. Reregister the ECU communication ID.

      Tech Tips

      Refer to Service Bulletin.

      Result
      Proceed to
      NEXT

    NEXT
  11. CHECK WHETHER ENGINE STARTS


    1. Using a registered vehicle key, turn the engine switch on (IG).

      OK
      Engine starts normally.
      Result
      Result Proceed to
      OK A
      NG (for 1GD-FTV) B
      NG (for 1GD-FTV (w/ DPF)) C
      NG (for 1GD-FTV (w/o EGR System)) D
      NG (for 1GD-FTV (w/o EGR Cooler)) E
      NG (for 2GD-FTV) F
      NG (for 2GD-FTV (w/o EGR Cooler)) G
      NG (for 2TR-FE) H
      NG (for 1GR-FE) I

    A
    B
    C
    D
    E
    F
    G
    H
    I
  12. CHECK HARNESS AND CONNECTOR (CERTIFICATION ECU (SMART KEY ECU ASSEMBLY) - ECM)


    1. Disconnect the G17 certification ECU (smart key ECU assembly) connector.

    2. Disconnect the G142*1, G50*2 or G145*3 ECM connector.


      • *1: for 2TR-FE

      • *2: for 1GD-FTV, 2GD-FTV

      • *3: for 1GR-FE

    3. Measure the resistance according to the value(s) in the table below.

      Standard Resistance
      for 2TR-FE
      Tester Connection Condition Specified Condition
      G17-35 (EFIO) - G142-10 (IMI) Always Below 1 Ω
      G17-35 (EFIO) - Body ground Always 10 kΩ or higher
      G142-10 (IMI) - Body ground Always 10 kΩ or higher
      for 1GD-FTV, 2GD-FTV
      Tester Connection Condition Specified Condition
      G17-35 (EFIO) - G50-16 (IMI) Always Below 1 Ω
      G17-35 (EFIO) - Body ground Always 10 kΩ or higher
      G50-16 (IMI) - Body ground Always 10 kΩ or higher
      for 1GR-FE
      Tester Connection Condition Specified Condition
      G17-35 (EFIO) - G145-10 (IMI) Always Below 1 Ω
      G17-35 (EFIO) - Body ground Always 10 kΩ or higher
      G145-10 (IMI) - Body ground Always 10 kΩ or higher
      Result
      Proceed to
      OK
      NG

    NG
    OK
  13. REPLACE CERTIFICATION ECU (SMART KEY ECU ASSEMBLY)


    1. Replace the certification ECU (smart key ECU assembly) with a new one.

      Tech Tips

      Refer to Service Bulletin.

      Result
      Proceed to
      NEXT

    NEXT
  14. REGISTER RECOGNITION CODES


    1. Register the recognition codes in the ECUs.

      Tech Tips

      Refer to Service Bulletin.

      Result
      Proceed to
      NEXT

    NEXT
  15. REGISTER ECU COMMUNICATION ID


    1. Reregister the ECU communication ID.

      Tech Tips

      Refer to Service Bulletin.

      Result
      Proceed to
      NEXT

    NEXT
  16. CHECK WHETHER ENGINE STARTS


    1. Using a registered vehicle key, turn the engine switch on (IG).

      OK
      Engine starts normally.
      Result
      Result Proceed to
      OK A
      NG (for 1GD-FTV) B
      NG (for 1GD-FTV (w/ DPF)) C
      NG (for 1GD-FTV (w/o EGR System)) D
      NG (for 1GD-FTV (w/o EGR Cooler)) E
      NG (for 2GD-FTV) F
      NG (for 2GD-FTV (w/o EGR Cooler)) G
      NG (for 2TR-FE) H
      NG (for 1GR-FE) I

    A
    B
    C
    D
    E
    F
    G
    H
    I