WIRELESS DOOR LOCK CONTROL SYSTEM(w/o Smart Entry and Start System) No Answer-Back

DESCRIPTION

In some cases, wireless door lock control functions are normal but the hazard warning light answer-back function does not operate. In such cases, hazard warning light signal outputs from the body ECU may be malfunctioning.

WIRING DIAGRAM

B003QV0E09

CAUTION / NOTICE / HINT

Note


  • If the body ECU has been replaced, it is necessary to initialize the body ECU.

    Click here

  • As the door control battery is installed between the vehicle battery and body ECU, first perform the inspections to confirm that there are no malfunctions in the power source circuit for the body ECU before performing this troubleshooting procedure.*

    Click here


    • *: w/ Door Control Battery

PROCEDURE


  1. CHECK WIRELESS DOOR LOCK CONTROL FUNCTIONS


    1. Check the wireless door lock control function using the door control transmitter.

      Click here

      Result
      Result Proceed to
      Wireless door lock/unlock operates properly A
      Wireless door lock/unlock does not operate properly B

    B
    A
  2. INSPECT DOOR LOCK ASSEMBLY (DETECTION UNLOCK SWITCH)


    1. for Front Side:


      1. Remove the front door lock assembly.

        Click here

      2. Inspect the front door lock assembly.

        Click here

    2. for Rear Side:


      1. Remove the rear door lock assembly.

        Click here

      2. Inspect the rear door lock assembly.

        Click here

      Result
      Result Proceed to
      OK A
      NG (for Front Side) B
      NG (for Rear Side) C

    B
    C
    A
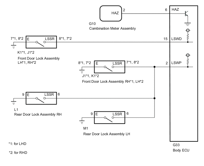
  3. CHECK HARNESS AND CONNECTOR (DOOR LOCK ASSEMBLY - BODY ECU AND BODY GROUND)


    1. for Driver Side:


      1. Disconnect the K1*1 or J1*2 front door lock assembly LH*1 or RH*2 connector.


        • *1: for LHD

        • *2: for RHD

      2. Disconnect the G33 body ECU connector.

      3. Measure the resistance according to the value(s) in the table below.

        Standard Resistance
        for LHD
        Tester Connection Condition Specified Condition
        K1-8 (LSSR) - G33-15 (LSWD) Always Below 1 Ω
        K1-7 (E) - Body ground Always Below 1 Ω
        K1-8 (LSSR) or G33-15 (LSWD) - Body ground Always 10 kΩ or higher
        for RHD
        Tester Connection Condition Specified Condition
        J1-7 (LSSR) - G33-15 (LSWD) Always Below 1 Ω
        J1-8 (E) - Body ground Always Below 1 Ω
        J1-7 (LSSR) or G33-15 (LSWD) - Body ground Always 10 kΩ or higher
    2. except Driver Side:


      1. Disconnect the J1*1 or K1*2 front door lock assembly RH*1 or LH*2 connector.


        • *1: for LHD

        • *2: for RHD

      2. Disconnect the L1 rear door lock assembly RH connector.

      3. Disconnect the M1 rear door lock assembly LH connector.

      4. Disconnect the G33 body ECU connector.

      5. Measure the resistance according to the value(s) in the table below.

        Standard Resistance
        for LHD
        Tester Connection Condition Specified Condition
        J1-7 (LSSR) - G33-2 (LSWP) Always Below 1 Ω
        J1-8 (E) - Body ground Always Below 1 Ω
        J1-7 (LSSR) or G33-2 (LSWP) - Body ground Always 10 kΩ or higher
        L1-6 (LSSR) - G33-2 (LSWP) Always Below 1 Ω
        L1-9 (E) - Body ground Always Below 1 Ω
        L1-6 (LSSR) - G33-2 (LSWP) - Body ground Always 10 kΩ or higher
        M1-6 (LSSR) - G33-2 (LSWP) Always Below 1 Ω
        M1-9 (E) - Body ground Always Below 1 Ω
        M1-6 (LSSR) - G33-2 (LSWP) - Body ground Always 10 kΩ or higher
        for RHD
        Tester Connection Condition Specified Condition
        K1-8 (LSSR) - G33-2 (LSWP) Always Below 1 Ω
        K1-7 (E) - Body ground Always Below 1 Ω
        K1-8 (LSSR) or G33-2 (LSWP) - Body ground Always 10 kΩ or higher
        L1-6 (LSSR) - G33-2 (LSWP) Always Below 1 Ω
        L1-9 (E) - Body ground Always Below 1 Ω
        L1-6 (LSSR) - G33-2 (LSWP) - Body ground Always 10 kΩ or higher
        M1-6 (LSSR) - G33-2 (LSWP) Always Below 1 Ω
        M1-9 (E) - Body ground Always Below 1 Ω
        M1-6 (LSSR) - G33-2 (LSWP) - Body ground Always 10 kΩ or higher
      Result
      Proceed to
      OK
      NG

    NG
    OK
  4. CHECK HAZARD WARNING LIGHTS OPERATION


    1. Check that the hazard warning light blinks when the hazard warning signal switch is pressed.

      OK
      Hazard warning light signal is normal.
      Result
      Proceed to
      OK
      NG

    NG
    OK
  5. CHECK HARNESS AND CONNECTOR (COMBINATION METER ASSEMBLY - BODY ECU)


    1. Disconnect the G10 combination meter assembly connector.

    2. Disconnect the G33 body ECU connector.

    3. Measure the resistance according to the value(s) in the table below.

      Standard Resistance
      Tester Connection Condition Specified Condition
      G10-2 (HAZ) - G33-6 (HAZ) Always Below 1 Ω
      G10-2 (HAZ) or G33-6 (HAZ) - Body ground Always 10 kΩ or higher
      Result
      Proceed to
      OK
      NG

    OK
    NG