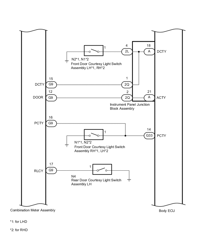
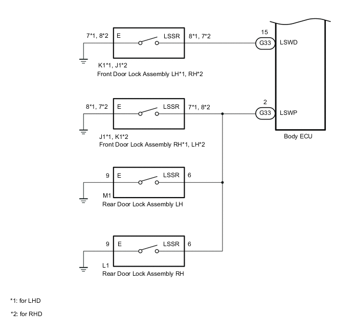
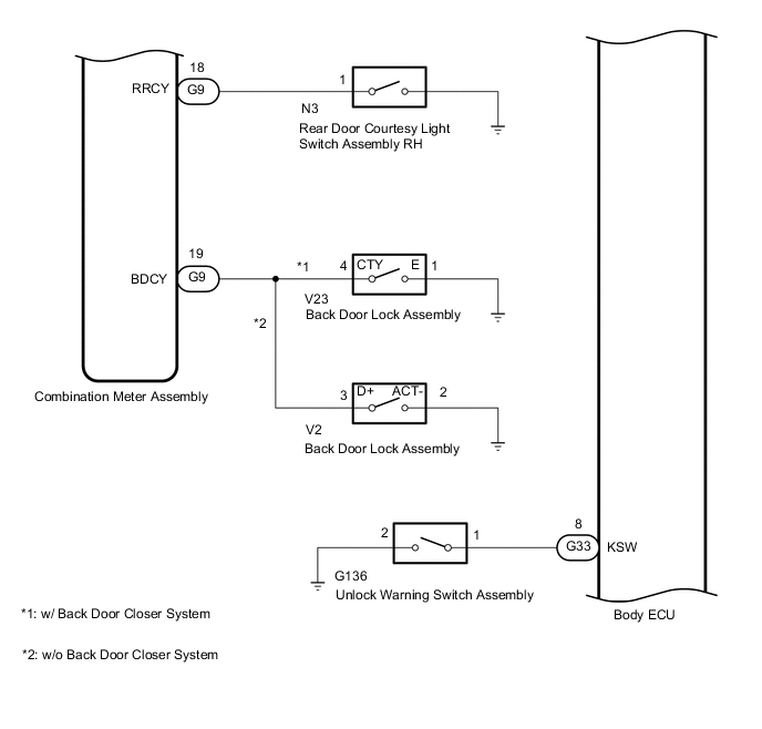
WIRELESS DOOR LOCK CONTROL SYSTEM(w/o Smart Entry and Start System) SYSTEM DIAGRAM


  1. Wireless Door Lock Control System

    B003N74E06
    B003KUHE04
    B003KXRE02
    B003QOTE16
  2. Power Door Lock Control System

    Click here