PROPELLER SHAFT ASSEMBLY(for TMT Made) REASSEMBLY

CAUTION / NOTICE / HINT

Note


  • When using a vise, place aluminum plates between the part and vise.

  • When using a vise, do not overtighten it.

PROCEDURE


  1. INSTALL CENTER NO. 1 SUPPORT BEARING ASSEMBLY


    1. B003J5WC01
      *a Front Side
      *b Seal
      *c Cutout

      Install the center No. 1 support bearing assembly to the intermediate shaft.

      Note


      • Carefully insert the part so that the seal does not invert.

      • Make sure to install the part so that the cutouts face the rear of the vehicle.

    2. Install the 2 washers.

    3. B003QFWC08
      *a Matchmark

      Align the matchmarks on the center yoke and intermediate shaft, and then install the yoke to the shaft.

    4. B003JHR

      Install a new nut.

      Torque:
      101.5 N*m  { 1035 kgf*cm, 75 ft.*lbf }
    5. B003OHS

      Using a chisel and hammer, stake the lock nut.

      Note


      • Fully stake the lock nut along the entire groove.

      • Do not damage the threads of the intermediate shaft.

  2. INSTALL SPIDER BEARING

    Tech Tips

    Use the same procedure for all spiders.


    1. B003PX6

      Apply grease to a new spider and new 4 spider bearings.

      Grease
      Lithium base chassis grease NLGI No. 2

      Note

      Do not apply too much grease.

    2. Install the spider to the flange yoke.

    3. B003KZ8C01
      *a Turn
      *b Hold

      Using SST, install 2 of the spider bearings to the spider.

      SST
      09332-25010

      Tech Tips

      Before installing SST, sufficiently raise the part labeled A. If the part labeled A is too low, it may be difficult to install SST.

    4. Using SST, adjust both spider bearings so that the snap ring grooves are as wide as possible and equal in width.

      SST
      09332-25010
    5. B003JJP

      Install 2 new snap rings to the installed spider bearings. The snap rings must have equal thickness and allow 0 to 0.05 mm (0 to 0.00196 in.) of axial play.

      Note

      While the installed snap rings should have equal thickness, if the axial play is greater than 0.05 mm (0.00196 in.), select 2 snap rings that have as close to the same thickness as possible.

      Tech Tips

      Do not reuse the snap rings.

      Standard Snap Ring Thickness
      Part No. Mark Thickness
      90520-T0223 A 1.985 to 2.015 mm (0.0782 to 0.0793 in.)
      90520-T0224 B 2.015 to 2.045 mm (0.0794 to 0.0805 in.)
      90520-T0225 C 2.045 to 2.075 mm (0.0806 to 0.0816 in.)
      90520-T0226 D 2.075 to 2.105 mm (0.0817 to 0.0828 in.)
      90520-T0227 1 1.98 to 2.00 mm (0.0780 to 0.0787 in.)
      90520-T0228 2 2.00 to 2.02 mm (0.0788 to 0.0795 in.)
      90520-T0229 3 2.02 to 2.04 mm (0.0796 to 0.0803 in.)
      90520-T0230 4 2.04 to 2.06 mm (0.0804 to 0.0811 in.)
      90520-T0231 5 2.06 to 2.08 mm (0.0812 to 0.0818 in.)
      90520-T0232 6 2.08 to 2.10 mm (0.0819 to 0.0826 in.)
      90520-T0233 7 2.10 to 2.12 mm (0.0827 to 0.0834 in.)
      90520-T0234 8 2.12 to 2.14 mm (0.0835 to 0.0842 in.)
      90520-T0235 N 2.14 to 2.16 mm (0.0843 to 0.0850 in.)
      90520-T0236 10 2.16 to 2.18 mm (0.0851 to 0.0858 in.)

      Note


      • While the installed snap rings should have equal thickness, if the axial play is greater than 0.05 mm (0.00196 in.), select 2 snap rings that have as close to the same thickness as possible.

      • Use a new snap ring.

      • Use a snap ring with as close to the same thickness as possible on both ends.

    6. B003L9EC01
      *a Hammering Point

      Using a hammer, tap the flange yoke until there is no clearance between the spider bearing outer race and snap ring.

      Tech Tips

      Install the spider bearing on the sleeve side using the procedure described above.

    7. Align the matchmarks on the flange yoke and propeller shaft.

    8. B003K8QC01
      *a Matchmark

      Align the matchmarks on the center yoke and sleeve yoke.

    9. B003NM4C01
      *a Matchmark

      Align the matchmarks on the flange yoke and intermediate shaft.

    10. B003PWYC01
      *a Turn
      *b Hold

      Using SST, install the 2 spider bearings to the spider.

      SST
      09332-25010

      Tech Tips

      Before installing SST, sufficiently raise the part labeled A. If the part labeled A is too low, it may be difficult to install SST.

    11. Using SST, adjust both spider bearings so that the front propeller shaft joint spider bearing snap ring grooves are as wide as possible and equal in width.

      SST
      09332-25010
    12. B003JJP

      Install 2 new snap rings to the installed spider bearings. The snap rings must have equal thickness and allow 0 to 0.05 mm (0 to 0.00196 in.) of axial play.

      Note

      While the installed snap rings should have equal thickness, if the axial play is greater than 0.05 mm (0.00196 in.), select 2 snap rings that have as close to the same thickness as possible.

      Tech Tips

      Do not reuse the snap rings.

      Standard Snap Ring Thickness
      Part No. Mark Thickness
      90520-T0223 A 1.985 to 2.015 mm (0.0782 to 0.0793 in.)
      90520-T0224 B 2.015 to 2.045 mm (0.0794 to 0.0805 in.)
      90520-T0225 C 2.045 to 2.075 mm (0.0806 to 0.0816 in.)
      90520-T0226 D 2.075 to 2.105 mm (0.0817 to 0.0828 in.)
      90520-T0227 1 1.98 to 2.00 mm (0.0780 to 0.0787 in.)
      90520-T0228 2 2.00 to 2.02 mm (0.0788 to 0.0795 in.)
      90520-T0229 3 2.02 to 2.04 mm (0.0796 to 0.0803 in.)
      90520-T0230 4 2.04 to 2.06 mm (0.0804 to 0.0811 in.)
      90520-T0231 5 2.06 to 2.08 mm (0.0812 to 0.0818 in.)
      90520-T0232 6 2.08 to 2.10 mm (0.0819 to 0.0826 in.)
      90520-T0233 7 2.10 to 2.12 mm (0.0827 to 0.0834 in.)
      90520-T0234 8 2.12 to 2.14 mm (0.0835 to 0.0842 in.)
      90520-T0235 N 2.14 to 2.16 mm (0.0843 to 0.0850 in.)
      90520-T0236 10 2.16 to 2.18 mm (0.0851 to 0.0858 in.)

      Note


      • While the installed snap rings should have equal thickness, if the axial play is greater than 0.05 mm (0.00196 in.), select 2 snap rings that have as close to the same thickness as possible.

      • Use a new snap ring.

      • Use a snap ring with as close to the same thickness as possible on both ends.

    13. B003MXMC01
      *a Hammering Point

      Using a hammer, tap the propeller shaft until there is no clearance between the spider bearing outer race and snap ring.

      Tech Tips

      Install the spider bearing on the sleeve side using the procedure described above.

  3. INSTALL REAR PROPELLER SHAFT BOOT CLAMP (for 4WD)


    1. Temporarily install a new rear sliding shaft boot to the propeller shaft with 2 new rear propeller shaft boot clamps.

    2. Coat the splines of the propeller shaft with MP grease.

      Standard grease capacity
      27.5 to 32.5 g (0.97 to 1.14 oz)
    3. Align the matchmarks on the propeller shaft and sleeve yoke.

    4. Install the sleeve yoke to the propeller shaft and connect the rear sliding shaft boot.

    5. Align the matchmarks on the propeller shaft, sleeve yoke and the pinching portions of the 2 rear propeller shaft boot clamps.

      Tech Tips

      Make sure to align the matchmarks of the propeller shaft boot clamp.

      If the pinching portions are installed at different locations than where they were located before disassembly, the rotational balance of the propeller shaft cannot be ensured, which may result in vibrations and noise.

    6. B003KQCC01
      *a Turn
      *b Hold

      Secure one of the rear propeller shaft boot clamps to the rear sliding shaft boot.

      Tech Tips


      • Use the same procedure for each rear propeller shaft boot clamp.

      • Make sure that the matchmarks of the pinching portion of the rear propeller shaft boot clamp are aligned.


      1. Install SST to the rear propeller shaft boot clamp, and then while pressing the rear sliding shaft boot, slightly tighten the SST bolt.

        SST
        09521-24010

        Note


        • Correctly set the rear propeller shaft boot clamp to the guide groove.

        • Do not damage the rear sliding shaft boot.

      2. Tighten SST so that the rear propeller shaft boot clamp is pinched.

        Standard clearance
        3.8 mm (0.150 in.) or less

        Note


        • When tightening SST, make sure the clearance of the rear propeller shaft boot clamp is within the standard clearance.

        • Do not damage the rear sliding shaft boot.

      3. Remove SST from the rear propeller shaft boot clamp.

      4. B003SCGN01

        Using SST, measure the clearance of the rear propeller shaft boot clamp.

        SST
        09240-00020
        Standard clearance
        3.8 mm (0.150 in.) or less

        Note


        • If the measured value exceeds the specified value, retighten the rear propeller shaft boot clamp.

        • If the result is lower than the specified range, install a new rear propeller shaft boot clamp.

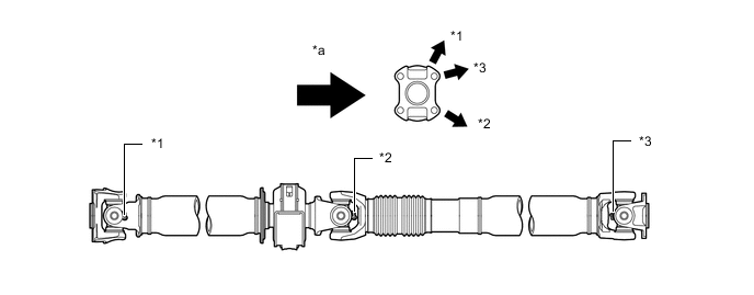
  4. INSPECT PROPELLER SHAFT GREASE FITTING DIRECTION

    Tech Tips


    • When replacing a spider bearing, be sure that the grease fitting hole is facing the direction shown in the illustration.

    • Fill the grease fittings with grease.

      Grease
      Lithium base chassis grease NLGI No. 2
    B003M8NC01
    *1 No. 1 Grease Fitting *2 No. 2 Grease Fitting
    *3 No. 3 Grease Fitting - -
    *a Vehicle Rear - -
  5. INSPECT SPIDER

    Click here