VACUUM PUMP(for 5L-E) COMPONENTS

ILLUSTRATION

B003NKNC02
*1 GENERATOR ASSEMBLY *2 VACUUM PUMP OIL OUTLET HOSE
*3 VACUUM PUMP OIL INLET HOSE *4 VACUUM HOSE
*5 TERMINAL CAP *6 GENERATOR WIRE
*7 GENERATOR CONNECTOR *8 GASKET
B003M6V Tightening torque for "Major areas involving basic vehicle performance such as moving/turning/stopping" : N*m (kgf*cm, ft.*lbf) B003JKT N*m (kgf*cm, ft.*lbf): Specified torque
Non-reusable part - -

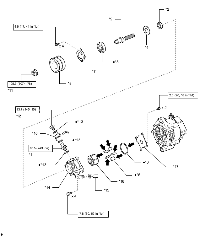
ILLUSTRATION

B003P4JC01
*1 CHECK VALVE SUB-ASSEMBLY *2 OIL SEAL
*3 O-RING *4 STOP RING
*5 VACUUM PUMP BEARING *6 VACUUM PUMP BLADE
*7 VACUUM PUMP END COVER *8 VACUUM PUMP PULLEY
*9 VACUUM PUMP SHAFT *10 VACUUM PUMP VACUUM HOSE UNION
*11 PULLEY LOCK NUT *12 UNION BOLT
*13 GASKET *14 VACUUM PUMP CASE
*15 OIL OUTLET HOSE *16 VACUUM PUMP ROTOR
*17 END PLATE - -
B003JKT N*m (kgf*cm, ft.*lbf): Specified torque Non-reusable part
B003R2S Engine Oil - -