VACUUM SWITCHING VALVE(for 2TR-FE) INSPECTION

PROCEDURE


  1. INSPECT NO. 1 VACUUM SWITCHING VALVE ASSEMBLY


    1. Check the No. 1 vacuum switching valve assembly for an open circuit.


      1. B003NDPC01
        *a

        Component without harness connected

        (No. 1 Vacuum Switching Valve Assembly)

        Measure the resistance according to the value(s) in the table below.

        Standard Resistance
        Tester Connection Condition Specified Condition
        1 - 2 20°C (68°F) 23 to 26 Ω
        1 - Body ground Always 10 MΩ or higher
        2 - Body ground Always 10 MΩ or higher

        If the result is not as specified, replace the No. 1 vacuum switching valve assembly.

    2. B003QLLN01

      Check the operation of the No. 1 vacuum switching valve assembly.


      1. Check that air does not flow from the port (E) to port (F) as shown in the illustration.

        If the result is not as specified, replace the No. 1 vacuum switching valve assembly.

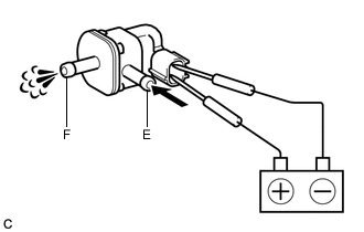
      2. B003L3AN01

        Apply battery voltage between the terminals.

      3. Check that air flows from the port (E) to port (F) as shown in the illustration.

        If the result is not as specified, replace the No. 1 vacuum switching valve assembly.