BRAKE BOOSTER ON-VEHICLE INSPECTION

PROCEDURE


  1. CHECK BRAKE BOOSTER ASSEMBLY


    1. Airtightness check.


      1. B003MBAC11
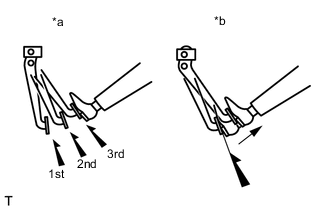
        *a CORRECT
        *b INCORRECT

        Start the engine and stop it after 1 or 2 minutes.

        Slowly depress the brake pedal several times.

        If the pedal can be depressed to the floor the first time, but cannot be depressed to the floor the second and third time, the booster is airtight.

      2. Depress the brake pedal while the engine is running and stop the engine with the brake pedal depressed.

        If there is no change in the pedal reserve distance while holding the pedal for 30 seconds, the booster is airtight.

    2. B003RLE

      Operation check.


      1. Depress the brake pedal several times with the ignition switch off and check that there is no change in the pedal reserve distance when the pedal is depressed.

      2. Depress and hold down the pedal, and then start the engine.

        If the pedal goes down slightly, the operation is normal.