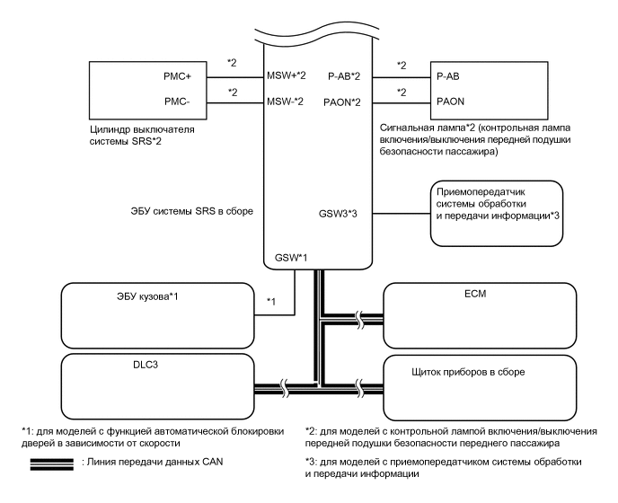
СИСТЕМА ПОДУШЕК БЕЗОПАСНОСТИ (для типа B) СХЕМА СИСТЕМЫ

A01W94EE05
A01W9ZFE02
A01W9O8E01

Передающий ЭБУ

(передатчик)

Принимающий ЭБУ

(приемник)

Сигнал Метод передачи данных
Блок управления системы SRS ECM Сигнал обнаружения столкновения CAN
Щиток приборов в сборе
  • Сигнал запроса на включение контрольной лампы аварийного состояния SRS

  • Сигнал запроса на мигание контрольной лампы аварийного состояния SRS

  • Сигнал диагностики (DTC)

ECM Блок управления системы SRS
  • Сигнал частоты вращения коленчатого вала двигателя

  • Данные об угле поворота педали акселератора

  • Сигнал угла поворота педали акселератора

  • Сигнал положения рычага переключения передач

  • Сигнал режима активной диагностики