СИСТЕМА ИЗМЕРИТЕЛЬНЫХ ПРИБОРОВ И ИНДИКАТОРОВ, Diagnostic DTC:B1507, B1508

Код DTC Наименование DTC
B1507 Обрыв в цепи указателей поворота
B1508 Короткое замыкание в цепи указателей поворота / аварийных сигналов

ОПИСАНИЕ

№ DTC Неисправность Условие обнаружения DTC Неисправный участок
B1507 Обрыв в цепи указателей поворота Обрыв в цепи указателей поворота.
  • Жгут или разъем

  • Повторитель указателя поворота в сборе*1

  • Наружное зеркало заднего вида в сборе*1

  • Патрон и узел проводки заднего блока фонарей в сборе*2

  • Щиток приборов в сборе

B1508 Короткое замыкание в цепи указателей поворота / аварийных сигналов Короткое замыкание в цепи указателей поворота или цепи ламп аварийной сигнализации.
  • Жгут или разъем

  • Повторитель указателя поворота в сборе*1

  • Наружное зеркало заднего вида в сборе*1

  • Патрон и узел проводки заднего блока фонарей в сборе*2

  • Щиток приборов в сборе


СХЕМА СОЕДИНЕНИЙ

B002747E01
B00269QE01

ПРЕДОСТЕРЕЖЕНИЕ / ПРИМЕЧАНИЕ / УКАЗАНИЕ

Note


  • Заменяйте щиток приборов в сборе только новым узлом.

  • Перед выполнением следующей процедуры проверьте лампы цепей, относящихся к данной системе.

ПОРЯДОК ВЫПОЛНЕНИЯ


  1. ПРОВЕРЬТЕ DTC


    1. Удалите коды DTC.

      Нажмите здесь Click here


      Body Electrical > Combination Meter > Clear DTCs
    2. Повторно проверьте коды DTC и убедитесь, что они не выводятся.

      Нажмите здесь Click here


      Body Electrical > Combination Meter > Trouble Codes
      OK
      B1507 и B1508 не выводятся.
      Результат
      Перейти к
      OK
      NG

    OK
    NG
  2. ПРОВЕРЬТЕ УКАЗАТЕЛИ ПОВОРОТА


    1. Проверьте работу каждого указателя поворота.

      Результат
      Результат Перейти к
      Не горит повторитель левого указателя поворота. А
      Не горит повторитель правого указателя поворота. B

    B
    А
  3. ПРОВЕРЬТЕ ЖГУТ ПРОВОДОВ И РАЗЪЕМ (ЛЕВАЯ БОКОВАЯ ЦЕПЬ)


    • *1: для моделей с повторителями указателей поворота на наружных зеркалах заднего вида

    • *2: для моделей с повторителями указателей поворота на передних крыльях

    • *3: для моделей без платформы багажного отделения

    • *4: Для моделей с платформой багажного отделения


    1. Отсоедините разъем G11 щитка приборов.

    2. Отсоедините разъем A30 левой фары в сборе.

    3. Отсоедините разъем K3 левого наружного зеркала заднего вида в сборе.*1

    4. Отсоедините разъем A32 левого повторителя указателя поворота в сборе.*2

    5. Отсоедините разъем O2 левого заднего блока фонарей*3 или патрона и проводки левого заднего блока фонарей*4.

    6. Измерьте сопротивление в соответствии со значениями, приведенными в таблице ниже.

      Номинальное сопротивление
      Подключение диагностического прибора Значение Заданные условия
      G11-8 (LL) - A30-2 (B) Всегда Менее 1 Ом
      G11-8 (LL) - K3-10 (TRNL)*1 Всегда Менее 1 Ом
      G11-8 (LL) - A32-1*2 Всегда Менее 1 Ом
      G11-8 (LL) - O2-1 (B) Всегда Менее 1 Ом
      A30-1 (E) - масса Всегда Менее 1 Ом
      K3-6 (GND) - масса*1 Всегда Менее 1 Ом
      A32-2 - масса*2 Всегда Менее 1 Ом
      O2-3 (E) - масса Всегда Менее 1 Ом
      G11-8 (LL) - масса Всегда 10 кОм или более
      Результат
      Результат Следующий шаг
      OK (для моделей с повторителями указателей поворота на наружных зеркалах заднего вида) А
      OK (для моделей с повторителями указателей поворота на передних крыльях) B
      NG C

    B
    C
    А
  4. ПРОВЕРЬТЕ ЛЕВОЕ НАРУЖНОЕ ЗЕРКАЛО ЗАДНЕГО ВИДА В СБОРЕ


    1. Снимите левое наружное зеркало заднего вида.

      Нажмите здесь Click here

    2. Проверьте левое наружное зеркало заднего вида в сборе.

      Нажмите здесь Click here

      Результат
      Следующий шаг
      OK
      NG

    NG
    OK
  5. ПРОВЕРЬТЕ ТИП ЗАДНЕГО БЛОКА ФОНАРЕЙ


    1. Проверьте тип заднего блока фонарей.

      Результат
      Результат Перейти к
      Для моделей с платформой багажного отделения А
      для моделей без платформы багажного отделения B

    B
    А
  6. ПРОВЕРЬТЕ ПАТРОН И ПРОВОДКУ ЛЕВОГО ЗАДНЕГО БЛОКА ФОНАРЕЙ В СБОРЕ


    1. B0028D0E01

      Снимите патрон левого заднего блока фонарей с проводкой в сборе.

      Нажмите здесь Click here

    2. Измерьте сопротивление в соответствии со значениями, приведенными в таблице ниже.

      Номинальное сопротивление
      Подключение диагностического прибора Условие Заданные условия
      A-1 (B) - B-1 Всегда Менее 1 Ом
      A-3 (E)- B-2 Всегда Менее 1 Ом
      A-1 (B) или B-1 - масса Всегда 10 кОм или более
      A-3 (E) или B-2 - масса Всегда 10 кОм или более
      Результат
      Перейти к
      OK
      NG

    OK
    NG
  7. ПРОВЕРЬТЕ ЛЕВЫЙ ПОВТОРИТЕЛЬ УКАЗАТЕЛЯ ПОВОРОТА В СБОРЕ


    1. Снимите повторитель указателя левого поворота в сборе.

      Нажмите здесь Click here

    2. Проверьте повторитель левого указателя поворота в сборе.

      Нажмите здесь Click here

      Результат
      Следующий шаг
      OK
      NG

    OK
    NG
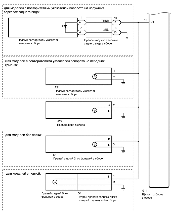
  8. ПРОВЕРЬТЕ ЖГУТ ПРОВОДОВ И РАЗЪЕМ (ПРАВАЯ БОКОВАЯ ЦЕПЬ)


    • *1: для моделей с повторителями указателей поворота на наружных зеркалах заднего вида

    • *2: для моделей с повторителями указателей поворота на передних крыльях

    • *3: для моделей без платформы багажного отделения

    • *4: Для моделей с платформой багажного отделения


    1. Отсоедините разъем G11 щитка приборов.

    2. Отсоедините разъем A29 правой фары.

    3. Отсоедините разъем J3 правого наружного зеркала заднего вида в сборе.*1

    4. Отсоедините разъем A31 правого повторителя указателя поворота в сборе.*2

    5. Отсоедините разъем O1 правого заднего блока фонарей*3 или патрона и проводки правого заднего блока фонарей*4.

    6. Измерьте сопротивление в соответствии со значениями, приведенными в таблице ниже.

      Номинальное сопротивление
      Подключение диагностического прибора Условие Заданные условия
      G11-13 (LR) - A29-2 (B) Всегда Менее 1 Ом
      G11-13 (LR) - J3-10 (TRNR)*1 Всегда Менее 1 Ом
      G11-13 (LR) - A31-1*2 Всегда Менее 1 Ом
      G11-13 (LR) - O1-1 (B) Всегда Менее 1 Ом
      A29-1 (E) - масса Всегда Менее 1 Ом
      J3-6 (GND) - масса*1 Всегда Менее 1 Ом
      A31-2 - масса*2 Всегда Менее 1 Ом
      O1-3 (E) - масса Всегда Менее 1 Ом
      G11-13 (LR) - масса Всегда 10 кОм или более
      Результат
      Результат Перейти к
      OK (для моделей с повторителями указателей поворота на наружных зеркалах заднего вида) А
      OK (для моделей с повторителями указателей поворота на передних крыльях) B
      NG C

    B
    C
    А
  9. ПРОВЕРЬТЕ ПРАВОЕ НАРУЖНОЕ ЗЕРКАЛО ЗАДНЕГО ВИДА В СБОРЕ


    1. Снимите правое наружное зеркало заднего вида в сборе.

      Нажмите здесь Click here

    2. Проверьте правое наружное зеркало заднего вида в сборе.

      Нажмите здесь Click here

      Результат
      Следующий шаг
      OK
      NG

    NG
    OK
  10. ПРОВЕРЬТЕ ТИП ЗАДНЕГО БЛОКА ФОНАРЕЙ


    1. Проверьте тип заднего блока фонарей.

      Результат
      Результат Перейти к
      Для моделей с платформой багажного отделения А
      для моделей без платформы багажного отделения B

    B
    А
  11. ПРОВЕРЬТЕ ПАТРОН И ПРОВОДКА ПРАВОГО ЗАДНЕГО БЛОКА ФОНАРЕЙ В СБОРЕ


    1. B0028D0E01

      Снимите патрон правого заднего блока фонарей с проводкой в сборе.

      Нажмите здесь Click here

    2. Измерьте сопротивление в соответствии со значениями, приведенными в таблице ниже.

      Номинальное сопротивление
      Подключение диагностического прибора Условие Заданные условия
      A-1 (B) - B-1 Всегда Менее 1 Ом
      A-3 (E)- B-2 Всегда Менее 1 Ом
      A-1 (B) или B-1 - масса Всегда 10 кОм или более
      A-3 (E) или B-2 - масса Всегда 10 кОм или более
      Результат
      Перейти к
      OK
      NG

    OK
    NG
  12. ПРОВЕРЬТЕ ПРАВЫЙ ПОВТОРИТЕЛЬ УКАЗАТЕЛЯ ПОВОРОТА В СБОРЕ


    1. Снимите повторитель указателя правого поворота в сборе.

      Нажмите здесь Click here

    2. Проверьте указатель правого поворота.

      Нажмите здесь Click here

      Результат
      Перейти к
      OK
      NG

    OK
    NG