НАРУЖНОЕ ЗЕРКАЛО ЗАДНЕГО ВИДА ПРОВЕРКА

ПОРЯДОК ВЫПОЛНЕНИЯ


  1. ПРОВЕРЬТЕ ЛЕВОЕ НАРУЖНОЕ ЗЕРКАЛО ЗАДНЕГО ВИДА В СБОРЕ


    1. Проверьте работу поверхности зеркала (для моделей с системой зеркал с электроприводом).


      1. A01SJOZC07
        *a

        Устройство с неподсоединенным жгутом проводов

        (левое наружное зеркало заднего вида в сборе)

        Отсоедините разъем левого наружного зеркала заднего вида в сборе.

      2. Подайте напряжение аккумуляторной батареи и проверьте работу зеркала.

        OK
        Условия измерений Заданные условия

        Положительный (+) вывод аккумуляторной батареи → контакт 9 (MV)

        Отрицательный (-) вывод аккумуляторной батареи → контакт 8 (M+)

        Поворачивается вверх

        Положительный (+) вывод аккумуляторной батареи → контакт 8 (M+)

        Отрицательный (-) вывод аккумуляторной батареи → контакт 9 (MV)

        Поворачивается вниз

        Положительный (+) вывод аккумуляторной батареи → контакт 4 (MH)

        Отрицательный (-) вывод аккумуляторной батареи → контакт 8 (M+)

        Поворачивается влево

        Положительный (+) вывод аккумуляторной батареи → контакт 8 (M+)

        Отрицательный (-) вывод аккумуляторной батареи → контакт 4 (MH)

        Поворачивается вправо

        Если результат проверки не отвечает требованиям, замените левое наружное зеркало заднего вида в сборе.

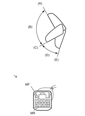
    2. Проверьте работу зеркала с отводом (для моделей с электроприводом отвода зеркал).

      Note


      • Отсоединяйте и снова подсоединяйте аккумуляторную батарею между проверками положения зеркала.

      • Нельзя изменять положение зеркала вручную, когда аккумуляторная батарея подсоединена. Перед изменением положения зеркала вручную отсоедините аккумуляторную батарею.


      1. A01SGW4C06
        *a

        Устройство с неподсоединенным жгутом проводов

        (левое наружное зеркало заднего вида в сборе)

        Отсоедините разъем левого наружного зеркала заднего вида в сборе.

      2. Для каждого положения: Отсоедините аккумуляторную батарею, установите положение зеркала вручную, подсоедините аккумуляторную батарею и проверьте отвод зеркала.

        OK
        Условия измерений Положение зеркала Заданные условия

        Положительный (+) вывод аккумуляторной батареи → контакт 7 (MR)

        Отрицательный (-) вывод аккумуляторной батареи → контакт 2 (MF)

        Переднее положение (A) Перемещается из положения (A) в положение (E)

        Положительный (+) вывод аккумуляторной батареи → контакт 2 (MF)

        Отрицательный (-) вывод аккумуляторной батареи → контакт 7 (MR)

        Переднее положение (A) Не перемещается

        Положительный (+) вывод аккумуляторной батареи → контакт 7 (MR)

        Отрицательный (-) вывод аккумуляторной батареи → контакт 2 (MF)

        Положение B Перемещается из положения (B) в положение (E)

        Положительный (+) вывод аккумуляторной батареи → контакт 2 (MF)

        Отрицательный (-) вывод аккумуляторной батареи → контакт 7 (MR)

        Положение B Перемещается из положения (B) в положение (A)

        Положительный (+) вывод аккумуляторной батареи → контакт 7 (MR)

        Отрицательный (-) вывод аккумуляторной батареи → контакт 2 (MF)

        Положение для вождения (C) Перемещается из положения (C) в положение (E)

        Положительный (+) вывод аккумуляторной батареи → контакт 2 (MF)

        Отрицательный (-) вывод аккумуляторной батареи → контакт 7 (MR)

        Положение для вождения (C) Не перемещается

        Положительный (+) вывод аккумуляторной батареи → контакт 7 (MR)

        Отрицательный (-) вывод аккумуляторной батареи → контакт 2 (MF)

        Положение (D) Перемещается из положения (D) в положение (E)

        Положительный (+) вывод аккумуляторной батареи → контакт 2 (MF)

        Отрицательный (-) вывод аккумуляторной батареи → контакт 7 (MR)

        Положение (D) Перемещается из положения (D) в положение (C)

        Положительный (+) вывод аккумуляторной батареи → контакт 7 (MR)

        Отрицательный (-) вывод аккумуляторной батареи → контакт 2 (MF)

        Убранное положение (E) Не перемещается

        Положительный (+) вывод аккумуляторной батареи → контакт 2 (MF)

        Отрицательный (-) вывод аккумуляторной батареи → контакт 7 (MR)

        Убранное положение (E) Перемещается из положения (E) в положение (C)

        Если результат проверки не отвечает требованиям, замените левое наружное зеркало заднего вида в сборе.

    3. A01SJFLC01
      *a

      Устройство с неподсоединенным жгутом проводов

      (левое наружное зеркало заднего вида в сборе)

      Проверьте левый повторитель указателя поворота в сборе (для моделей с повторителем указателя поворота).


      1. Подайте напряжение аккумуляторной батареи на контакты разъема и проверьте состояние повторителя.

        OK
        Соединение для измерения Заданные условия

        Положительный (+) вывод аккумуляторной батареи → контакт 10 (TRNL)

        Отрицательный (-) вывод аккумуляторной батареи → контакт 6 (GND)

        Повторитель указателя поворота светится

        Если результат не удовлетворяет требованиям, проверьте левый повторитель указателя поворота в сборе (нажмите Click here).

        Если результат проверки не отвечает требованиям, замените левое наружное зеркало заднего вида в сборе.

    4. Проверьте работу ламп зеркал (для моделей с нижними лампами наружных зеркал).


      1. A01SJFLC03
        *a

        Устройство с неподсоединенным жгутом проводов

        (левое наружное зеркало заднего вида в сборе)

        Отсоедините разъем левого наружного зеркала заднего вида в сборе.

      2. Подайте напряжение аккумуляторной батареи на контакты разъема и проверьте состояние повторителя.

        OK
        Соединение для измерения Заданные условия

        Положительный (+) вывод аккумуляторной батареи → контакт 1 (MLP)

        Отрицательный (-) вывод аккумуляторной батареи → контакт 5 (MLP-)

        Лампы зеркал горят

        Если результат проверки не отвечает требованиям, замените левое наружное зеркало заднего вида в сборе.

    5. Проверьте работу обогревателя зеркала (для моделей с обогревателями зеркал).


      1. A01SJFLC04
        *a

        Устройство с неподсоединенным жгутом проводов

        (левое наружное зеркало заднего вида в сборе)

        Отсоедините разъем левого наружного зеркала заднего вида в сборе.

      2. Измерьте сопротивление в соответствии со значениями, приведенными в таблице ниже.

        Номинальное сопротивление
        Контакты для подключения диагностического прибора Условие Заданные условия
        Контакт 1 (HL+) - контакт 5 (HL-) 25°C (75°F) 6,0 - 9,0 Ом

        Если результат проверки не отвечает требованиям, проверьте левое наружное зеркало (нажмите Click here).

        Если результат проверки не отвечает требованиям, замените левое наружное зеркало заднего вида в сборе.

  2. ПРОВЕРЬТЕ ПРАВОЕ НАРУЖНОЕ ЗЕРКАЛО ЗАДНЕГО ВИДА В СБОРЕ


    1. Проверьте работу поверхности зеркала (для моделей с системой зеркал с электроприводом).


      1. A01SHE0C09
        *a

        Устройство с неподсоединенным жгутом проводов

        (правое наружное зеркало заднего вида в сборе)

        Отсоедините разъем правого наружного зеркала заднего вида в сборе.

      2. Подайте напряжение аккумуляторной батареи и проверьте работу зеркала.

        OK
        Указанные условия Номинальное значение

        Положительный (+) вывод аккумуляторной батареи → контакт 9 (MV)

        Отрицательный (-) вывод аккумуляторной батареи → контакт 8 (M+)

        Поворачивается вверх

        Положительный (+) вывод аккумуляторной батареи → контакт 8 (M+)

        Отрицательный (-) вывод аккумуляторной батареи → контакт 9 (MV)

        Поворачивается вниз

        Положительный (+) вывод аккумуляторной батареи → контакт 4 (MH)

        Отрицательный (-) вывод аккумуляторной батареи → контакт 8 (M+)

        Поворачивается влево

        Положительный (+) вывод аккумуляторной батареи → контакт 8 (M+)

        Отрицательный (-) вывод аккумуляторной батареи → контакт 4 (MH)

        Поворачивается вправо

        Если результат проверки не отвечает требованиям, замените правое наружное зеркало заднего вида в сборе.

    2. Проверьте работу зеркала с отводом (для моделей с электроприводом отвода зеркал).

      Note


      • Отсоединяйте и снова подсоединяйте аккумуляторную батарею между проверками положения зеркала.

      • Нельзя изменять положение зеркала вручную, когда аккумуляторная батарея подсоединена. Перед изменением положения зеркала вручную отсоедините аккумуляторную батарею.


      1. A01SGFKC07
        *a

        Устройство с неподсоединенным жгутом проводов

        (правое наружное зеркало заднего вида в сборе)

        Отсоедините разъем правого наружного зеркала заднего вида в сборе.

      2. Для каждого положения: Отсоедините аккумуляторную батарею, установите положение зеркала вручную, подсоедините аккумуляторную батарею и проверьте отвод зеркала.

        OK
        Указанные условия Положение зеркала Номинальное значение

        Положительный (+) вывод аккумуляторной батареи → контакт 7 (MR)

        Отрицательный (-) вывод аккумуляторной батареи → контакт 2 (MF)

        Переднее положение (A) Перемещается из положения (A) в положение (E)

        Положительный (+) вывод аккумуляторной батареи → контакт 2 (MF)

        Отрицательный (-) вывод аккумуляторной батареи → контакт 7 (MR)

        Переднее положение (A) Не перемещается

        Положительный (+) вывод аккумуляторной батареи → контакт 7 (MR)

        Отрицательный (-) вывод аккумуляторной батареи → контакт 2 (MF)

        Положение B Перемещается из положения (B) в положение (E)

        Положительный (+) вывод аккумуляторной батареи → контакт 2 (MF)

        Отрицательный (-) вывод аккумуляторной батареи → контакт 7 (MR)

        Положение B Перемещается из положения (B) в положение (A)

        Положительный (+) вывод аккумуляторной батареи → контакт 7 (MR)

        Отрицательный (-) вывод аккумуляторной батареи → контакт 2 (MF)

        Положение для вождения (C) Перемещается из положения (C) в положение (E)

        Положительный (+) вывод аккумуляторной батареи → контакт 2 (MF)

        Отрицательный (-) вывод аккумуляторной батареи → контакт 7 (MR)

        Положение для вождения (C) Не перемещается

        Положительный (+) вывод аккумуляторной батареи → контакт 7 (MR)

        Отрицательный (-) вывод аккумуляторной батареи → контакт 2 (MF)

        Положение (D) Перемещается из положения (D) в положение (E)

        Положительный (+) вывод аккумуляторной батареи → контакт 2 (MF)

        Отрицательный (-) вывод аккумуляторной батареи → контакт 7 (MR)

        Положение (D) Перемещается из положения (D) в положение (C)

        Положительный (+) вывод аккумуляторной батареи → контакт 7 (MR)

        Отрицательный (-) вывод аккумуляторной батареи → контакт 2 (MF)

        Убранное положение (E) Не перемещается

        Положительный (+) вывод аккумуляторной батареи → контакт 2 (MF)

        Отрицательный (-) вывод аккумуляторной батареи → контакт 7 (MR)

        Убранное положение (E) Перемещается из положения (E) в положение (C)

        Если результат проверки не отвечает требованиям, замените правое наружное зеркало заднего вида в сборе.

    3. A01SJFLC02
      *a

      Устройство с неподсоединенным жгутом проводов

      (правое наружное зеркало заднего вида в сборе)

      Проверьте правый повторитель указателя поворота в сборе (для моделей с повторителем указателя поворота).


      1. Подайте напряжение аккумуляторной батареи на контакты разъема и проверьте состояние повторителя.

        OK
        Соединение для измерения Номинальное значение

        Положительный (+) вывод аккумуляторной батареи → контакт 10 (TRNR)

        Отрицательный (-) вывод аккумуляторной батареи → контакт 6 (GND)

        Повторитель указателя поворота светится

        Если результат не удовлетворяет требованиям, проверьте правый повторитель указателя поворота в сборе (нажмите Click here).

        Если результат проверки не отвечает требованиям, замените правое наружное зеркало заднего вида в сборе.

    4. Проверьте работу ламп зеркал (для моделей с нижними лампами наружных зеркал).


      1. A01SJFLC03
        *a

        Устройство с неподсоединенным жгутом проводов

        (правое наружное зеркало заднего вида в сборе)

        Отсоедините разъем правого наружного зеркала заднего вида в сборе.

      2. Подайте напряжение аккумуляторной батареи на контакты разъема и проверьте состояние повторителя.

        OK
        Соединение для измерения Номинальное значение

        Положительный (+) вывод аккумуляторной батареи → контакт 1 (MLP)

        Отрицательный (-) вывод аккумуляторной батареи → контакт 5 (MLP-)

        Лампы зеркал горят

        Если результат проверки не отвечает требованиям, замените правое наружное зеркало заднего вида в сборе.

    5. Проверьте работу обогревателя зеркала (для моделей с обогревателями зеркал).


      1. A01SJFLC05
        *a

        Устройство с неподсоединенным жгутом проводов

        (правое наружное зеркало заднего вида в сборе)

        Отсоедините разъем правого наружного зеркала заднего вида в сборе.

      2. Измерьте сопротивление в соответствии со значениями, приведенными в таблице ниже.

        Номинальное сопротивление
        Подключение диагностического прибора Условие Номинальное значение
        Контакт 1 (HR+) - контакт 5 (HR-) 25°C (75°F) 6,0 - 9,0 Ом

        Если результат проверки не отвечает требованиям, проверьте правое наружное зеркало (нажмите Click here).

        Если результат проверки не отвечает требованиям, замените правое наружное зеркало заднего вида в сборе.