STEERING LOCK SYSTEM, Diagnostic DTC:B2782

DTC Code DTC Name
B2782 Power Source Control ECU Malfunction

DESCRIPTION

The certification ECU (smart key ECU assembly) has a power source mode switching function.

This DTC is stored when the IGE input (the steering lock motor activation permission signal) sent directly from the certification ECU (smart key ECU assembly) to the steering lock ECU (steering lock actuator or upper bracket assembly) is determined to be abnormal.

Tech Tips

The steering lock ECU (steering lock actuator or upper bracket assembly) is not connected to the CAN communication system. However, the steering lock ECU (steering lock actuator or upper bracket assembly) is connected to the certification ECU (smart key ECU assembly) via LIN communication and communicates with other components via CAN communication through the certification ECU (smart key ECU assembly).

DTC No. Detection Item DTC Detection Condition Trouble Area Note
B2782 Power Source Control ECU Malfunction

Either of the following conditions is met (1-trip detection logic (Only output while a malfunction is present and the engine switch is on (IG).)):


  • The steering lock motor activation command circuit has a short circuit.

  • The steering lock motor activation command circuit has an open circuit.

Tech Tips

If the power supply signal from the LIN communication line does not match the power supply signal from the direct line, the system is determined to be malfunctioning.


  • Steering lock ECU (steering lock actuator or upper bracket assembly)

  • Certification ECU (Smart key ECU assembly)

  • Harness or connector

DTC Output Confirmation Operation: Perform a steering lock/unlock operation. (The steering locks when a door is opened with the shift lever in P and the engine switch off. The steering unlocks when the engine switch is turned on (ACC) or on (IG) while carrying the key.)
Vehicle Condition and Fail-safe Function when Malfunction Detected
Vehicle Condition when Malfunction Detected Fail-safe Function when Malfunction Detected
The steering cannot be locked or unlocked. For this reason, the engine cannot be started. Prohibits the engine from being started (the engine does not crank).
Related Data List and Active Test Items
DTC No. Data List Item Active Test Item
B2782

    Entry&Start

  • Power Supply Short

-

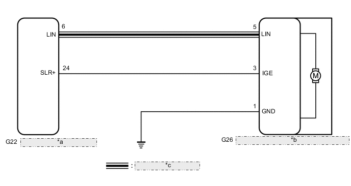
WIRING DIAGRAM

B006KLAE29
*a Certification ECU (Smart Key ECU Assembly)
*b Steering Lock ECU (Steering Lock Actuator or Upper Bracket Assembly)
*c LIN Communication Line

CAUTION / NOTICE / HINT

Note


  • When using the GTS with the engine switch off, connect the GTS to the vehicle and turn a courtesy light switch on and off at intervals of 1.5 seconds or less until communication between the GTS and the vehicle begins. Then select the Model Code "KEY REGIST" under manual mode and enter the following menus: Body Electrical / Entry&Start(CAN). While using the GTS, periodically turn a courtesy light switch on and off at intervals of 1.5 seconds or less to maintain communication between the GTS and the vehicle.

  • The steering lock system uses LIN communication. First perform the inspections in "How to Proceed with Troubleshooting" to confirm that there are no communication malfunctions before proceeding with troubleshooting.

    Click here

  • When disconnecting the cable from the negative (-) battery terminal, some systems need to be initialized after the cable is reconnected.

    Click here

  • After performing repairs, perform the DTC output confirmation operation, and then confirm that no DTCs are output again.

    Click here

  • When replacing the steering lock ECU (steering lock actuator or upper bracket assembly) or certification ECU (smart key ECU assembly), registration must be performed (refer to Service Bulletin).

PROCEDURE


  1. INSPECT STEERING LOCK ECU (STEERING LOCK ACTUATOR OR UPPER BRACKET ASSEMBLY) (MOTOR ACTIVATION COMMAND SIGNAL)


    1. Make sure that there is no looseness at the locking part and the connecting part of the connector.

    2. Disconnect the G26 steering lock ECU (steering lock actuator or upper bracket assembly) connector.

    3. B006P79C98
      *a

      Front view of wire harness connector

      (to Steering Lock ECU (Steering Lock Actuator or Upper Bracket Assembly))

      Measure the resistance according to the value(s) in the table below.

      Standard Resistance
      Tester Connection Condition Specified Condition
      G26-1 (GND) - Body ground Always Below 1 Ω
    4. Reconnect the G26 steering lock ECU (steering lock actuator or upper bracket assembly) connector.

    5. Move the shift lever to P and turn the engine switch off.

    6. B006KW8C66
      *a

      Component with harness connected

      (Steering Lock ECU (Steering Lock Actuator or Upper Bracket Assembly))

      *b Steering Lock Motor not Operating
      *c Steering Lock Motor Operating

      Check the signal waveform according to the condition(s) in the table below.

      Standard Frequency
      Item Content
      Tester Connection G26-3 (IGE) - G26-1 (GND)
      Tool Setting 2 V/DIV., 200 ms./DIV.
      Vehicle Condition Steering lock motor not operating → Operating → Not operating

      Tech Tips


      • When taking measurements when the lock motor is stopped, it is not necessary to perform any operations.

      • In order to take measurements when the lock motor is operating, perform either of the following operations:


        • To unlock the steering, carry the key and turn the engine switch on (ACC) or on (IG).

        • To lock the steering, turn the engine switch off with the shift lever in P, and then open a door.

      Result
      Proceed to
      OK
      NG

    NG
    OK
  2. CLEAR DTC AND DATA LIST MALFUNCTION RECORD


    1. Clear the DTCs.

      Click here


      Body Electrical > Entry&Start > Clear DTCs
    2. Disconnect the cable from the negative (-) battery terminal, wait for 30 seconds or more, and then reconnect the cable to the negative (-) battery terminal to clear the record of malfunctions stored in the Data List.

      CAUTION:

      After turning the engine switch off, waiting time may be required before disconnecting the cable from the battery terminal. Therefore, make sure to read the disconnecting the cable from the battery terminal notices before proceeding with work.

      Click here

      Result
      Proceed to
      NEXT

    NEXT
  3. READ VALUE USING GTS (POWER SUPPLY SHORT)


    1. Perform the DTC output confirmation operation.

    2. Check if DTC B2782 is output.

      Click here


      Body Electrical > Entry&Start > Trouble Codes
    3. Use the Data List to check if the steering lock control is functioning properly.


      Body Electrical > Entry&Start > Data List
      Tester Display Measurement Item Range Normal Condition Diagnostic Note
      Power Supply Short

      Record of malfunction of signal sent to steering lock motor (steering lock actuator or upper bracket assembly) from certification ECU (smart key ECU assembly) (short circuit)

      (DTC B2782 is output)

      OK or NG(Past)

      OK: No record of malfunction (short circuit)

      NG(Past): Record of malfunction (short circuit) exists

      This item records malfunctions in the circuit between the certification ECU (smart key ECU assembly) and steering lock motor (steering lock actuator or upper bracket assembly).

      Body Electrical > Entry&Start > Data List
      Tester Display
      Power Supply Short
      Result
      Result Proceed to

      • DTC B2782 is not output.

      • "OK" is displayed on the GTS.

      A

      • DTC B2782 is output.

      • "NG(Past)" is displayed on the GTS.

      B

    A
    B
  4. CHECK HARNESS AND CONNECTOR (STEERING LOCK ECU (STEERING LOCK ACTUATOR OR UPPER BRACKET ASSEMBLY) - CERTIFICATION ECU (SMART KEY ECU ASSEMBLY))


    1. Make sure that there is no looseness at the locking part and the connecting part of the connectors.

    2. Disconnect the G26 steering lock ECU (steering lock actuator or upper bracket assembly) connector.

    3. Disconnect the G22 certification ECU (smart key ECU assembly) connector.

    4. Check for deformation and corrosion of the connector case and terminals.

      OK
      There is no deformation or corrosion of the connector case or terminals.
    5. Measure the resistance according to the value(s) in the table below.

      Standard Resistance
      Tester Connection Condition Specified Condition
      G26-3 (IGE) - G22-24 (SLR+) Always Below 1 Ω
      G26-3 (IGE) or G22-24 (SLR+) - Body ground Always 10 kΩ or higher
      Result
      Proceed to
      OK
      NG

    OK
    NG