FRONT WHEEL ALIGNMENT ADJUSTMENT

CAUTION / NOTICE / HINT

The necessary procedures (adjustment, calibration, initialization, or registration) that must be performed after parts are removed, installed, or replaced when performing the front wheel alignment are shown below.

Necessary Procedure After Parts Removed/Installed/Replaced
Replacement Part or Procedure Necessary Procedures Effects/Inoperative when not Performed Link
Front wheel alignment adjustment
  1. Clear zero point calibration data and store system information.

  2. Perform yaw rate and acceleration sensor zero point calibration and store system information.


  • VSC disabled or malfunctions

  • DTCs are stored

  • Slip indicator light illuminates

  • ABS warning light illuminates

Click here

PROCEDURE


  1. INSPECT TIRES

    Click here

  2. MEASURE VEHICLE HEIGHT

    Note


    • Before inspecting the wheel alignment, adjust the vehicle height to the specified value.

    • Be sure to perform measurement on a level surface.

    • If it is necessary to go under the vehicle for measurement, confirm that the parking brake is applied and the vehicle is secured with chocks.

    • Inspect while the vehicle is unloaded.

    • The standard value shown here is a value that is used for performing a wheel alignment and does not indicate the height of an actual vehicle.


    1. Bounce the vehicle up and down at the corners to stabilize the suspension.

    2. A01UF0WN02

      Measure the vehicle height.


        Measurement Points:

      • A: Ground clearance of front wheel center


      • B: Ground clearance of front lower suspension arm bushing set bolt center


      • C: Ground clearance of rear wheel center


      • D: Ground clearance of rear No. 2 suspension arm set bolt center

      Vehicle Height (Unloaded Vehicle)
      - Front A - B Rear C - D
      for LHD 95 mm (3.74 in.) 36 mm (1.42 in.)
      for RHD 105 mm (4.13 in.) 35 mm (1.38 in.)
  3. INSPECT CAMBER, CASTER AND STEERING AXIS INCLINATION

    Note

    Inspect while the vehicle is unloaded.


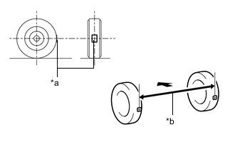
    1. A01UCONC16
      *a Turning Radius Gauge
      *b Camber-caster-kingpin Gauge

      Install a camber-caster-kingpin gauge and place the front wheels on the center of a turning radius gauge.

    2. Inspect the camber, caster and steering axis inclination.

      Camber (Unloaded Vehicle)
      - Camber Inclination Right-left Difference
      for LHD -0°10' +/- 0°45' (-0.17° +/- 0.75°) 0°45' (0.75°) or less
      for RHD -0°15' +/- 0°45' (-0.25° +/- 0.75°)
      Caster (Unloaded Vehicle)
      - Caster Inclination Right-left Difference
      for LHD 5°40' +/- 0°45' (5.67° +/- 0.75°) 0°45' (0.75°) or less
      for RHD 5°35' +/- 0°45' (5.58° +/- 0.75°)
      Steering Axis Inclination (Unloaded Vehicle)
      - Steering Axis Inclination Reference
      for LHD 11°25' (11.42°)
      for RHD 11°35' (11.58°)
  4. ADJUST CAMBER

    Note

    Inspect toe-in after the camber has been adjusted.


    1. Remove the front wheel.

      Click here

    2. A01UE31

      Remove the 2 nuts on the lower side of the front shock absorber assembly.

      Note

      Keep the bolts inserted.

    3. Remove the top and bottom bolts one at a time and confirm that the steering knuckle can move freely in the front shock absorber assembly.

      Tech Tips


      • Reinstall each bolt after removing it and confirming steering knuckle movement.

      • If the steering knuckle does not move freely in the front shock absorber assembly, clean the contact surfaces of the front shock absorber assembly and the steering knuckle.

    4. Temporarily install the 2 nuts. (Step A)

    5. A01UEHLN01

      Fully push or pull the front axle hub in the direction of the required adjustment. (Step B)

      Camber (Unloaded Vehicle)
      - Camber Inclination Right-left Difference
      for LHD -0°10' +/- 0°45' (-0.17° +/- 0.75°) 0°45' (0.75°) or less
      for RHD -0°15' +/- 0°45' (-0.25° +/- 0.75°)

      Tech Tips

      Perform adjustments so that the value is as close as possible to the median of the specified range.

    6. A01UE31

      Tighten the 2 nuts.

      Torque:
      270 N*m  { 2753 kgf*cm, 199 ft.*lbf }

      Note

      Keep the bolts from rotating when tightening the nuts.

    7. Install the front wheel.

      Click here

    8. Bounce the vehicle up and down at the corners to stabilize the suspension.

    9. A01UDFGN01

      Check the camber.

      If the measured value is not within the specification, calculate the required adjustment amount using the formula below.

      Camber adjustment amount = center of the specified range - measured value

      Check the combination of the installed bolts. Select appropriate bolts from the tables below to adjust the camber to the specified values.

      Tech Tips

      Try to adjust the camber to the center of the specified values.

      To move the axle hub toward (+) in step B To move the axle hub toward (-) in step B
      Refer to table (1) (To move the axle hub toward the positive side) Refer to table (2) (To move the axle hub toward the negative side)

      The vehicle body and suspension may be damaged if the camber cannot be correctly adjusted according to the table above.

      Note

      Replace the nut with a new one when replacing the bolt.


      1. Table (1) (To move the axle hub toward the positive side)

        A01UCSXC01
        *A Table (1) (To move the axle hub toward the positive side) *B Selected Bolt Combination
        *a Installed Bolt *b Adjusting Value
        *c 90105-17008 *d 90105-17013
        *e 90105-17014 *f 90105-17015
      2. Table (2) (To move the axle hub toward the negative side)

        A01UENYC01
        *A Table (2) (To move the axle hub toward the negative side) *B Selected Bolt Combination
        *a Installed Bolt *b Adjusting Value
        *c 90105-17008 *d 90105-17013
        *e 90105-17014 *f 90105-17015
    10. If the camber was out of adjustment in the previous step, perform the adjust camber steps mentioned above. In step A, replace the existing bolts with the selected bolts.

      Tech Tips

      Replace one bolt at a time when replacing both bolts.

  5. INSPECT TOE-IN

    Note

    Inspect while the vehicle is unloaded.


    1. Bounce the vehicle up and down at the corners to stabilize the suspension.

    2. Release the parking brake and move the shift lever to N.

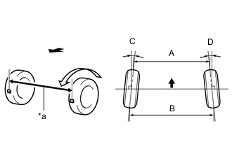
    3. Push the vehicle straight ahead approximately 5 m (16.4 ft.). (Step C)

    4. A01UE1MC01
      *a Tread Center Mark
      *b Dimension B
      B006QOD Front of the Vehicle

      Put tread center marks on the rearmost points of the front wheels and measure the distance between the marks (dimension B).

    5. Slowly push the vehicle straight ahead to cause the front wheels to rotate 180°. Use the front tire valve as a reference point.

      Tech Tips

      Do not allow the wheels to rotate more than 180°. If the wheels rotate more than 180°, perform the procedure from step C again.

    6. A01UF4FC01
      *a Dimension A
      B006QOD Front of the Vehicle

      Measure the distance between the tread center marks on the front of the wheels (dimension A).

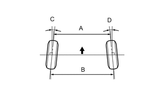
      Toe-in (Unloaded Vehicle)
      Specified Condition
      C + D: 0°05' +/- 0°10' (0.08° +/- 0.17°)
      B - A: 1.0 +/- 2.0 mm (0.0394 +/- 0.0787 in.)

      Tech Tips

      Measure "B - A" only when "C + D" cannot be measured.

      If the toe-in is not within the specified range, adjust it at the steering rack ends.

  6. ADJUST TOE-IN


    1. A01UFHRC01
      *a Thread Length

      Make sure that the thread length of the right and left steering rack ends are approximately the same.

      Standard Difference
      1.5 mm (0.0591 in.) or less
    2. Remove the steering rack boot clips.

    3. A01UD68

      Loosen the tie rod end sub-assembly lock nuts.

    4. Adjust the steering rack ends if the difference in thread length between the right and left steering rack ends is not within the specified range.


      1. If the toe-in measurement is greater than the specified range (too much toe-out), extend the shorter rack end so that the length difference is within the specified range.

      2. If the toe-in measurement is less than the specified range (too much toe-in), shorten the longer rack end so that the length difference is within the specified range.

      3. Measure the toe-in.

    5. A01UD5NC06
      B006QOD Front of the Vehicle

      Turn the right and left steering rack ends by an equal amount to adjust the toe-in.

      Toe-in (Unloaded Vehicle)
      Specified Condition
      C + D: 0°05' +/- 0°10' (0.08° +/- 0.17°)
      B - A: 1.0 +/- 2.0 mm (0.0394 +/- 0.0787 in.)

      Tech Tips

      Perform adjustments so that the value is as close as possible to the median of the specified range.

    6. Make sure that the thread length of the right and left steering rack ends are the same.

    7. Tighten the tie rod end sub-assembly lock nuts.

      Torque:
      88 N*m  { 897 kgf*cm, 65 ft.*lbf }
    8. Place the steering rack boots on the seats and install the steering rack boot clips.

      Tech Tips

      Make sure that the steering rack boots are not twisted.

  7. INSPECT WHEEL ANGLE


    1. A01UE9OC03
      *a Inside
      *b Outside
      B006QOD Front of the Vehicle

      Put tread center marks on the rearmost points of a turning radius gauge.

    2. Turn the steering wheel fully to the left and right and measure the turning angle.

      Note

      Inspect while the vehicle is unloaded.

      Wheel Turning Angle (Unloaded Vehicle)
      - Inside Wheel Outside Wheel
      for LHD 39°16' +/- 2°00' (39.27° +/- 2°) 32°43' (32.72°)
      for RHD 39°08' +/- 2°00' (39.13° +/- 2°) 32°30' (32.50°)

      • If the right and left inside wheel angles differ from the specified value, check and adjust the right and left steering rack end lengths.

  8. ALIGN FRONT WHEELS FACING STRAIGHT AHEAD

  9. PERFORM YAW RATE AND ACCELERATION SENSOR ZERO POINT CALIBRATION AND STORE SYSTEM INFORMATION

    Click here