SFI SYSTEM, Diagnostic DTC:P0443

DTC Code DTC Name
P0443 Evaporative Emission Control System Purge Control Valve Circuit

DESCRIPTION

To reduce hydrocarbon (HC) emissions, evaporated fuel from the fuel tank is routed through a charcoal canister to the intake manifold for combustion in the cylinders.

The ECM changes the duty signals to the purge VSV (Vacuum Switching Valve Assembly for Purge Control) so that the intake amount of hydrocarbon (HC) emissions is appropriate for the driving conditions (engine load, engine speed, vehicle speed, etc.) after the engine is warmed up.

DTC No. Detection Item DTC Detection Condition Trouble Area MIL Memory
P0443 Evaporative Emission Control System Purge Control Valve Circuit

Both of the following conditions (a) and (b) are met (1 trip detection logic)

(a) The target control value and actual control value do not match for 10 seconds or more.

(b) The target control value and actual control value do not match for 80 times or more.


  • Open or short in purge VSV circuit

  • Purge VSV

  • No. 1 integration relay

  • ECM

Comes on DTC stored

CONFIRMATION DRIVING PATTERN

B006M88E36

  1. Connect the GTS to the DLC3.

  2. Turn the engine switch on (IG) and turn the GTS on.

  3. Clear the DTCs (even if no DTCs are stored, perform the clear DTC procedure).

  4. Turn the engine switch off and wait for at least 30 seconds.

  5. Turn the engine switch on (IG) and turn the GTS on.

  6. Start the engine and warm it up until the engine coolant temperature is 75°C (167°F) or higher [A].

    Tech Tips

    The A/C switch and all accessory switches should be off.

  7. Idle the engine for 15 minutes or more [B].

    Tech Tips

    Check the EVAP (Purge) VSV item in the Data List. When the value of this item is between 5 and 95%, the judgment will be performed.

  8. Enter the following menus: Powertrain / Engine and ECT / Trouble Codes [C].

  9. Read the pending DTCs.

    Tech Tips


    • If a pending DTC is output, the system is malfunctioning.

    • If a pending DTC is not output, perform the following procedure.

  10. Enter the following menus: Powertrain / Engine and ECT / Utility / All Readiness.

  11. Input the DTC: P0443.

  12. Check the DTC judgment result.

    GTS Display Description
    NORMAL
    • DTC judgment completed

    • System normal

    ABNORMAL
    • DTC judgment completed

    • System abnormal

    INCOMPLETE
    • DTC judgment not completed

    • Perform driving pattern after confirming DTC enabling conditions

    N/A
    • Unable to perform DTC judgment

    • Number of DTCs which do not fulfill DTC preconditions has reached ECU memory limit

    Tech Tips


    • If the judgment result shows NORMAL, the system is normal.

    • If the judgment result shows ABNORMAL, the system has a malfunction.

    • If the judgment result shows INCOMPLETE or N/A, perform steps [D] and [E].

  13. Drive the vehicle at a constant speed between 40 and 60 km/h (25 and 37 mph) for 10 minutes or more [D].

    CAUTION:

    When performing the confirmation driving pattern, obey all speed limits and traffic laws.

  14. Enter the following menus: Powertrain / Engine and ECT / Trouble Codes [E].

  15. Read the pending DTCs.

    Tech Tips


    • If a pending DTC is output, the system is malfunctioning.

    • If a pending DTC is not output, perform the following procedure.

  16. Enter the following menus: Powertrain / Engine and ECT / Utility / All Readiness.

  17. Input the DTC: P0443.

  18. Check the DTC judgment result.

    GTS Display Description
    NORMAL
    • DTC judgment completed

    • System normal

    ABNORMAL
    • DTC judgment completed

    • System abnormal

    INCOMPLETE
    • DTC judgment not completed

    • Perform driving pattern after confirming DTC enabling conditions

    N/A
    • Unable to perform DTC judgment

    • Number of DTCs which do not fulfill DTC preconditions has reached ECU memory limit

    Tech Tips


    • If the judgment result shows NORMAL, the system is normal.

    • If the judgment result shows ABNORMAL, the system has a malfunction.

    • If the judgment result shows INCOMPLETE or N/A, perform the Confirmation Driving Pattern and check the DTC judgment result again.

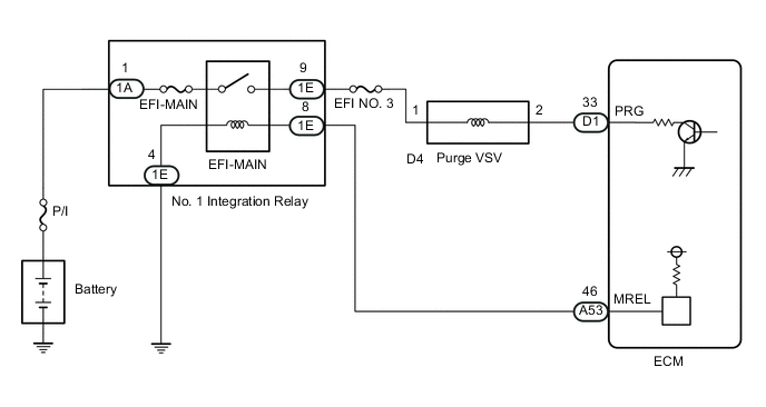
WIRING DIAGRAM

B006PZTE01

CAUTION / NOTICE / HINT

Note

Inspect the fuses for circuits related to this system before performing the following procedure.

Tech Tips

Read freeze frame data using the GTS. The ECM records vehicle and driving condition information as freeze frame data the moment a DTC is stored. When troubleshooting, freeze frame data can help determine if the vehicle was moving or stationary, if the engine was warmed up or not, if the air fuel ratio was lean or rich, and other data from the time the malfunction occurred.

PROCEDURE


  1. PERFORM ACTIVE TEST USING GTS (ACTIVATE THE VSV FOR EVAP CONTROL)

    B006LR5C10
    *a VSV is on
    *b VSV is off

    1. Disconnect the fuel vapor feed hose assembly (charcoal canister side) of the purge VSV.

    2. Connect the GTS to the DLC3.

    3. Start the engine.

    4. Turn the GTS on.

    5. Enter the following menus: Powertrain / Engine and ECT / Active Test / Activate the VSV for Evap Control.


      Powertrain > Engine > Active Test
      Tester Display
      Activate the VSV for Evap Control
    6. When the purge VSV is operated using the GTS, check whether the port of the purge VSV applies suction your finger.

      OK
      GTS Operation Specified Condition
      ON Purge VSV port applies suction to finger
      OFF Purge VSV port applies no suction to finger

      Tech Tips

      Jiggle the wire harness and connector to increase the likelihood of detecting malfunctions that do not always occur.

      Result
      Proceed to
      OK
      NG

    OK
    NG
  2. INSPECT PURGE VSV


    1. Inspect the purge VSV.

      Click here

      Result
      Proceed to
      OK
      NG

    NG
    OK
  3. CHECK TERMINAL VOLTAGE (POWER SOURCE OF PURGE VSV)

    B006OPIC95
    *a

    Front view of wire harness connector

    (to Purge VSV)


    1. Disconnect the purge VSV connector.

    2. Turn the engine switch on (IG).

    3. Measure the voltage according to the value(s) in the table below.

      Standard Voltage
      Tester Connection Condition Specified Condition
      D4-1 - Body ground Engine switch on (IG) 11 to 14 V
      Result
      Proceed to
      OK
      NG

    NG
    OK
  4. CHECK HARNESS AND CONNECTOR (PURGE VSV - ECM)


    1. Disconnect the purge VSV connector.

    2. Disconnect the ECM connector.

    3. Measure the resistance according to the value(s) in the table below.

      Standard Resistance
      Tester Connection Condition Specified Condition
      D4-2 - D1-33 (PRG) Always Below 1 Ω
      D4-2 or D1-33 (PRG) - Body ground and other terminals Always 10 kΩ or higher
      Result
      Proceed to
      OK
      NG

    OK
    NG
  5. CHECK HARNESS AND CONNECTOR (NO. 1 INTEGRATION RELAY - PURGE VSV)


    1. Disconnect the purge VSV connector.

    2. Disconnect the No. 1 integration relay connector.

    3. Measure the resistance according to the value(s) in the table below.

      Standard Resistance
      Tester Connection Condition Specified Condition
      1E-9 - D4-1 Always Below 1 Ω
      1E-9 or D4-1 - Body ground and other terminals Always 10 kΩ or higher
      Result
      Proceed to
      OK
      NG

    OK
    NG