RAIN SENSOR REMOVAL

CAUTION / NOTICE / HINT

Tech Tips


  • Use the same procedure for RHD and LHD vehicles.

  • The procedure listed below is for LHD vehicles.

PROCEDURE


  1. REMOVE NO. 1 LANE RECOGNITION COVER (w/ Lane Departure Alert System)

    Click here

  2. REMOVE RAIN SENSOR COVER (w/o Lane Departure Alert System)


    1. B0056ZC

      Detach the 2 claws and remove the rain sensor cover.

  3. REMOVE RAIN SENSOR


    1. B005A6H

      Disconnect the connector.

    2. B0058IPC01
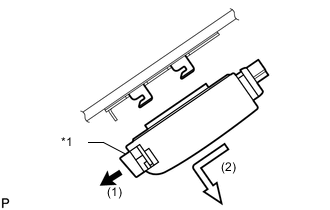
      *1 Stopper

      Release the stopper by pulling it down.

    3. Remove the rain sensor as shown in the illustration.

  4. CLEAN WINDSHIELD GLASS

    Tech Tips


    • The rain sensor tape is reusable. Only replace the tape if it is damaged or contaminated with foreign matter.

    • Check that there is no rain sensor tape residue remaining on the windshield glass. If there is, remove the residue before installing the rain sensor.

    • If there is any rain sensor tape residue remaining on the windshield glass, replace the tape.