СИСТЕМА ПЕРЕДАЧИ ДАННЫХ CAN (для моделей с правосторонним рулевым управлением) Прекращение обмена данными с ECM

ОПИСАНИЕ

Неисправность Признак Неисправный участок
Прекращение обмена данными с ECM

Выполняется любое из следующих условий:


  • На экране "CAN Bus Check" (проверка шины CAN) GTS не отображается "ECM (Engine)" (ECM (двигатель))

    Нажмите здесь Click here

  • Выводимые коды DTC системы передачи данных (начинающиеся на U) соответствуют "Режиму прекращения обмена данными с ECM" в "Таблице комбинаций кодов DTC".

    Нажмите здесь Click here


  • Главная шина или разъем ECM

  • Цепь питания ECM

  • Цепь заземления ECM

  • ECM

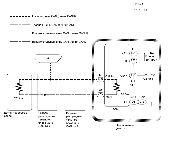
СХЕМА ЭЛЕКТРИЧЕСКИХ СОЕДИНЕНИЙ

A01UCNWE02

ПРЕДОСТЕРЕЖЕНИЕ / ПРИМЕЧАНИЕ / УКАЗАНИЕ

Note


  • Перед измерением сопротивления шины CAN, выключите зажигание и оставьте автомобиль в покое на 1 минуту или более, не приводя в действие ключ, любые другие переключатели и не открывая/закрывая двери. После этого, отсоедините провод от отрицательного (-) вывода аккумуляторной батареи и перед измерением сопротивления оставьте автомобиль в покое на 1 минуту или более.

  • После выключения зажигания следует подождать некоторое время, прежде чем отсоединять провод от отрицательного (-) вывода аккумуляторной батареи. Поэтому, прежде чем приступать к этой работе, обязательно ознакомьтесь с примечанием относительно отсоединения провода от отрицательного (-) вывода аккумуляторной батареи.

    Нажмите здесь Click here

  • Так как порядок проведения диагностики важен для получения корректных результатов, начните поиск неисправностей с раздела "Порядок поиска неисправностей", если выводятся коды DTC, связанные с системой передачей данных CAN.

    Нажмите здесь Click here

  • После ремонта выполните процедуру проверки кодов DTC и убедитесь, что коды DTC не выводятся снова.

  • Процедура проверки кодов DTC: Включите зажигание (IG), подождите не менее 20 с и затем двигайтесь на автомобиле со скоростью не менее 20 км/час (12 миль в час) в течение не менее 10 минут.

  • После ремонта выполните проверку шины CAN и убедитесь, что отображаются все ЭБУ и датчики, подсоединенные к системе передачи данных CAN.

    Нажмите здесь Click here

  • Перед выполнением последующей процедуры проверки проверьте плавкие предохранители цепей, относящихся к данной системе.

  • Прежде чем заменять ECM, обратитесь к бюллетеню технического обслуживания.

Tech Tips


  • Управление выключателем зажигания, какими-либо выключателями или дверями приводит к обмену данными между ЭБУ и датчиками по шине CAN. При осуществлении обмена данными сопротивление изменяется.

  • Если DTC регистрируется при непродолжительном движении на автомобиле даже после удаления кодов DTC, неисправность может возникать вследствие вибрации автомобиля. В подобных случаях необходимо пошевелить разъемы ЭБУ или жгутов проводов во время проверки, чтобы установить причину неисправности.

ПОРЯДОК ВЫПОЛНЕНИЯ


  1. ПРОВЕРЬТЕ ШИНУ CAN НА ОБРЫВ (ГЛАВНАЯ ШИНА ECM)


    1. Отсоедините провод от отрицательного (-) вывода аккумуляторной батареи.

    2. Отсоедините разъем A53 ECM.

    3. A01UE4TC34
      *a

      Вид спереди разъема со стороны жгута проводов:

      (к ECM)

      Измерьте сопротивление в соответствии со значениями, приведенными в таблице ниже.

      Номинальное сопротивление
      Подключение диагностического прибора Условие Заданные условия
      A53-13 (CANH) - A53-26 (CANL) Провод отсоединен от отрицательного (-) вывода аккумуляторной батареи 108-132 Ом
      Результат
      Результат
      OK
      NG

    NG
    OK
  2. ПРОВЕРЬТЕ ЦЕПЬ ПИТАНИЯ ECM


    1. Нажмите здесь Click here (для моделей с 2GR-FE)

      Проверьте цепь питания ECM.

      Нажмите здесь Click here (для моделей с 2AR-FE)

      Результат
      Результат Перейти К
      OK (для моделей с 2GR-FE) А
      OK (для моделей с 2AR-FE) B
      NG C

    А
    B
    C