СИСТЕМА ПЕРЕДАЧИ ДАННЫХ CAN (для моделей с левосторонним рулевым управлением) Прекращение обмена данными с ЭБУ предупреждения о недопустимой дистанции

ОПИСАНИЕ

Неисправность Признак Неисправный участок
Прекращение обмена данными с ЭБУ предупреждения о недопустимой дистанции

Выполняется любое из следующих условий:


  • На экране "CAN Bus Check" (проверка шины CAN) GTS не отображается сообщение "Clearance Warning (Clearance Sonar2)" (предупреждение о недопустимой дистанции (система ультразвуковой локации 2)).

    Нажмите здесь Click here

  • Выводимые коды DTC системы передачи данных (начинающиеся на U) соответствуют "Режиму прекращения обмена данными с ЭБУ предупреждения о недопустимой дистанции" в "Таблице комбинаций кодов DTC".

    Нажмите здесь Click here


  • Вспомогательная шина или разъем ЭБУ предупреждения о недопустимой дистанции

  • Цепь питания ЭБУ предупреждения о недопустимой дистанции в сборе

  • Цепь массы ЭБУ предупреждения о недопустимой дистанции

  • ЭБУ предупреждения о недопустимой дистанции

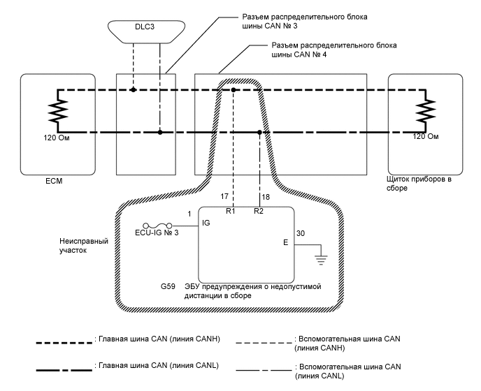
СХЕМА ЭЛЕКТРИЧЕСКИХ СОЕДИНЕНИЙ

A01UEV6E01

ПРЕДОСТЕРЕЖЕНИЕ / ПРИМЕЧАНИЕ / УКАЗАНИЕ

Note


  • Перед измерением сопротивления шины CAN, выключите зажигание и оставьте автомобиль в покое на 1 минуту или более, не приводя в действие ключ, любые другие переключатели и не открывая/закрывая двери. После этого, отсоедините провод от отрицательного (-) вывода аккумуляторной батареи и перед измерением сопротивления оставьте автомобиль в покое на 1 минуту или более.

  • После выключения зажигания следует подождать некоторое время, прежде чем отсоединять провод от отрицательного (-) вывода аккумуляторной батареи. Поэтому, прежде чем приступать к этой работе, обязательно ознакомьтесь с примечанием относительно отсоединения провода от отрицательного (-) вывода аккумуляторной батареи.

    Нажмите здесь Click here

  • Так как порядок проведения диагностики важен для получения корректных результатов, начните поиск неисправностей с раздела "Порядок поиска неисправностей", если выводятся коды DTC, связанные с системой передачей данных CAN.

    Нажмите здесь Click here

  • После ремонта выполните процедуру проверки кодов DTC и убедитесь, что коды DTC не выводятся снова.

  • Процедура проверки кодов DTC: Включите зажигание (IG) и подождите не менее 13 с.

  • После ремонта выполните проверку шины CAN и убедитесь, что отображаются все ЭБУ и датчики, подсоединенные к системе передачи данных CAN.

    Нажмите здесь Click here

  • Перед выполнением последующей процедуры проверки проверьте плавкие предохранители цепей, относящихся к данной системе.

Tech Tips


  • Управление выключателем зажигания, какими-либо выключателями или дверями приводит к обмену данными между ЭБУ и датчиками по шине CAN. При осуществлении обмена данными сопротивление изменяется.

  • Если DTC регистрируется при непродолжительном движении на автомобиле даже после удаления кодов DTC, неисправность может возникать вследствие вибрации автомобиля. В подобных случаях необходимо пошевелить разъемы ЭБУ или жгутов проводов во время проверки, чтобы установить причину неисправности.

ПОРЯДОК ВЫПОЛНЕНИЯ


  1. ПРОВЕРЬТЕ ЛИНИИ ШИНЫ CAN НА ОБРЫВ (ВСПОМОГАТЕЛЬНАЯ ШИНА ЭБУ ПРЕДУПРЕЖДЕНИЯ О НЕДОПУСТИМОЙ ДИСТАНЦИИ)


    1. Отсоедините провод от отрицательного (-) вывода аккумуляторной батареи.

    2. Отсоедините разъем G59 ЭБУ предупреждения о недопустимой дистанции.

    3. A01UE4ZC46
      *a

      Вид спереди разъема со стороны жгута проводов:

      (к ЭБУ предупреждения о недопустимой дистанции)

      Измерьте сопротивление в соответствии со значениями, приведенными в таблице ниже.

      Номинальное сопротивление
      Подключение диагностического прибора Условие Заданные условия
      G59-17 (R1) - G59-18 (R2) Провод отсоединен от отрицательного (-) вывода аккумуляторной батареи 54 - 69 Ом
      Результат
      Результат
      OK
      NG

    NG
    OK
  2. ПРОВЕРЬТЕ ЖГУТ ПРОВОДОВ И РАЗЪЕМ (ЦЕПЬ ПИТАНИЯ)


    1. A01UE4ZC47
      *a

      Вид спереди разъема со стороны жгута проводов:

      (к ЭБУ предупреждения о недопустимой дистанции)

      Измерьте сопротивление в соответствии со значениями, приведенными в таблице ниже.

      Номинальное сопротивление
      Подключение диагностического прибора Значение Заданные условия
      G59-30 (E) - масса Провод отсоединен от отрицательного (-) вывода аккумуляторной батареи Менее 1 Ом
    2. Вновь подсоедините провод к отрицательному (-) выводу аккумуляторной батареи.

    3. Измерьте напряжение в соответствии со значениями, приведенными в таблице.

      Номинальное напряжение
      Подключение диагностического прибора Значение Заданные условия
      G59-1 (IG) - масса Зажигание включено (IG) 11 - 14 В
      Результат
      Результат
      OK
      NG

    OK
    NG